出血症病理病因
腦幹出血症腦幹出血也叫橋腦出血:橋腦是腦幹出血的好發部位。早期表現病處側面癱,對側肢體攤,稱為交叉性癱。這是橋腦出血的臨床特點。如果出血量大,則影響對側,出現四肢癱、瞳孔縮小、高熱、昏迷等症;如果血液破入第四腦室則出現抽搐、呼吸不規則等嚴重症狀
腦幹出血多由高血壓導致基底動脈中央支破裂引起,往往在數秒到數分鐘內引起昏迷,可立刻昏迷、四肢癱、針尖樣瞳孔,數小時內死亡;水平眼球運動受累而垂直眼球運動佳,有的病例可以出現眼球上下跳動。對側眼球出現5秒間隔的遊動。病又往往出現四肢癱,去大腦強直。有時可以出現中樞性高熱、呼吸異常。出血可破入四腦室,血腫向腹側擴展,導致居中的固定瞳孔,小的基底部出血可引起“閉鎖綜合徵”;未累及上行網狀激活系統的小出血常常沒有嚴重神經功能缺失,症狀輕微,預後良好。
新生兒出血症
本病與下列因素有關
(1)肝臟儲存量低:母體維生素K經胎盤通透性很低,僅1/10的量到達胎兒體內,母親產前套用抗驚厥藥、抗凝藥、抗癆藥等,干擾維生素K的儲存或功能。
(2)合成少
新生兒剛出生時腸道尚無細菌,或使用廣譜抗生素抑制腸道正常菌群,均使維生素K合成不足。
(3)攝入少
母乳中維生素K含量(15μg/L)明顯低於牛乳(60μg/L)因此純母乳餵養的嬰兒多家,剛出生時攝入少、獲得的維生素K量亦少。
(4)吸收少
有先天性感膽疾病、慢性腹瀉可影響維生素K的吸收。由於新生兒體內缺乏維生素K引起。使體內凝血過程受到影響,很容易出血。大多數新生兒出世後體內維生素K總量都是比較低,再加上剛出生的新生兒還沒有吸奶,腸道內細胞少不能製造較多的維生素K,同時,母奶中維生素K含量較少。所以,患病小兒中餵母奶比餵牛奶的小兒多15一20倍。此外,小嬰兒有許多病如肝炎,膽道閉鎖,因膽汁分泌少,膽汁不能進入腸內,影響維生素K的吸收。
臨床表現
腦幹出血症
出血症--消化系統併發症併發症
腦出血繼發丘腦下部損傷:①丘腦下部的解剖特點:丘腦下部包括丘腦下溝以下的第三腦室壁及室底上的一些結構,其中含有15對以上的神經核團,數以萬計的神經分泌細胞,如位於第三腦室壁上的室旁核、空周圍核、腹內側核、背內側核等,丘腦下部長約1cm,重約4g,約為全腦重量的3‰.但機制複雜,與植物神經、內臟活動。內分泌、代謝、情緒、睡眠和覺醒均有關。該區還有以下特徵:有豐富的毛細血管網,較腦的其他部分多一倍以上,且該處血腦屏障不夠健全,有較高的通透性,故在缺氧、中毒,顱壓增高、感染等損傷時易出現水腫和出出血等改變;漏斗柄是丘腦下部與垂體間的神經纖維聯繫,當其受壓、腫脹、出血時,該聯繫即遭到破壞。②丘腦下部損傷的臨床症狀:腦出血引起顱內壓增高,出現占位效應,致使丘腦下部受壓,垂體柄水腫、移位、扭曲等,加以繼發腦室出血損傷第三腦室壁均累及丘腦下部,出現症狀,常表現為出血性胃糜爛或潰瘍,嘔吐咖啡樣胃內容物,急性肺水腫,白細胞增高.血糖升高,中樞性高熱,大汗淋漓等。
呼吸系統併發症
腦出血後呼吸系統併發症除呼吸道感染外,還有神經源性肺水腫(NPE)。NPE是由於下丘腦受損而引起大量的交感神經物質釋放,周圍血管收縮導致血壓升高,血液從高阻力的周圍循環轉移到阻力低下的肺循環,結果使肺動脈內液體靜壓升高而損害毛細血管,液體滲出到肺泡內。近年的研究表明,NPE主要是由於血氧過低引起。NPE發生率與腦出血的病情密切相關,出血量大、病情重者NPE發生率高。NPE多呈暴發性發病,如不及時治療多數在24小時內死亡,應及早給予高濃度吸氧。近年推薦套用的硝苯地平10-20mg舌下含化,可迅速降低周圍和肺動脈壓力,對NPE有良好效果。多巴酚丁胺治療可提高心肌收縮力,同時也能加快心臟的血流,往往是NPE治療的首選藥物。
消化系統併發症
主要是上消化道出血,它是腦出血嚴重併發症之一,特別多見於腦幹出血,常與腦卒中的嚴重程度相關,即病情越嚴重,消化道出血發生率越高。合併消化道出血的患者預後較差,病死率可達半數以上。引起消化道出血的病變包括潰瘍、黏膜出血性糜爛、出血性胃炎、慢性潰瘍急性發作等。消化道出血的發生時間以腦出血後第1--2周居多。
腦出血繼發腦疝;腦出血可以並發天幕疝,中心疝、枕骨大孔疝、蝶骨嵴疝、扣帶回疝及小腦上疝。後三者一般不出現明顯的臨床症狀,多在剖檢時發現;前三者臨床症狀明顯,多為症狀加重或致死的原因。天幕沿時出現同側瞳孔散大。中心疝時雙側瞳孔均小呼吸不規則。其病理標誌為:①赤質、紅核向下移位,②第三腦室向下移位,(3)丘腦下部及上部腦幹向下移位。出現中心疝時,則很可能發生枕大孔疝,呼吸心跳解離,至死亡。
新生兒出血症Ⅱ、Ⅶ、Ⅸ、Ⅹ等凝血因子主要在肝微粒體內合成,在此過程中須維生素K參與,這些凝血因子前提蛋白的谷氨酸殘基才能γ—羧基化,羧基型蛋白具有更多的鈣離子結合位點,然後方具凝血的生物活性,當維生素k缺乏時,上述維生素K依賴因子不能羧化,只是無功能的蛋白質,因此不能參與凝血過程而致出血。
多於出生後2-5日內發病。早產兒及母服抗癲癇藥者發病率偏高。出血以胃腸黏膜最常見,表現為黑糞或伴嘔吐。臍、皮下及口鼻教膜等亦可出血,以緩慢持續滲血為特點。病情較輕者4-5日後常自行停止。出血量多可有貧血,甚至休克。本病可分為3型,即早髮型、經典型和晚髮型,後者常見於嬰兒期。本病可分為3型,及早髮型、經典型和晚髮型,後者常見於嬰兒期。(一)早髮型生後24小時內發病,常見於孕母使用干擾維生素代謝的藥物,如抗凝藥(雙香豆素)、抗驚厥藥(苯妥因鈉、苯巴比妥)、抗結核藥(利福平)等。可有頭顱血腫,顱內、胸腔內或腹腔內出血。(二)經典型生後2~3天發病,早產兒可退至兩周。常見出血部位為臍殘端、胃腸道(嘔血或黑便)、皮膚受壓及穿刺處;其他如鼻出血、尿血、肺出血等較少見,陰道出血偶見。一般為少量或中等量出血,多為自限性,1周后出血者極少。(三)晚髮型出生1個月後發病,與某些因素有關,如長期腹瀉和長期使用抗生素,肝膽疾患和母乳餵養等。顱內出血多見,預後不良。
診斷治療
腦幹出血症
內科治療
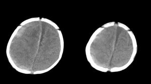
出血症--CT⑤預防泌尿系統感染:尿失禁或尿瀦留的患者應給予氣囊式留置尿管,每4小時卉放一次;每日使用1;5000呋喃西林淤250ml沖洗膀胱1-2次。⑥處理大便:對於套用緩泄劑仍不能排便的患者,隔日給予開塞露,促進排便,仍不能奏效者可給予小劑量低壓不保留灌腸。2、調整血壓:把血壓調整到患病前稍高的水平(收縮壓145mmHg左右,舒張壓維持在90mmHg左右)。3、控制腦水腫、顱內壓增高:可用20%甘露醇250ml靜滴,每日6-12小時一次;速尿20-60nml靜注,可與甘露醇交替使用。4、腦保護治療:腦活素10-30ml加入5%葡萄糖250ml內靜滴;細胞色素C30mg、輔酶A100u、三磷腺苷40mg、維生素C2.0g、維生素B6200mg、氯化鉀10ml加入5%葡萄糖或生理鹽水500ml內靜滴。
新生兒出血症
1)胃腸道出血:應與咽血綜合徵、先天性消化性潰瘍、消化道畸形和感染等鑑別。咽血綜合徵是新生兒出生時咽下母親產道的血液、帶血羊水等,於生後不久即發生嘔吐,嘔吐物呈棕色,也可有便血,但血量甚微,洗胃後即止吐,無凝血機制障礙。另外,鹼變性試驗可用以鑑別母血及兒血,兒血含胎兒型血紅蛋白(抗鹼性強)、母血含成人型血紅蛋白(抗鹼性弱)。取嘔吐物加水稀釋,鏇轉後取懸液5份,加1%氫氧化鈉1份,1-2分鐘後觀察,棕黃色為母血,紅色為兒血。先天性消化性潰瘍和胃穿孔早期、壞死性小腸結腸炎同時胃壁受累者,均可有吐血、便血;產程中窒息缺氧所致急性應激性潰瘍時,可大量吐血、便血,這些疾病均無凝血機制障礙。
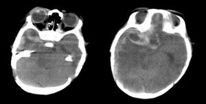
新生兒出血症--CT凝血酶原時間和部分凝血活酶時間延長,血小板正常。測定活性Ⅱ因子與Ⅱ因子總量比值兩者比值小於1時提示維生素K缺乏。測定無活性凝血酶原用免疫學方法直硬定無活性凝血酶原,陽性提示維生素K缺乏。出血者可給予維生素K1,1-2mg靜脈滴注,出血可迅速停止,通常2小時內凝血因子水平和功能上升,24小時完全糾正。嚴重者可輸新鮮冰凍血漿10-20ml/kg,以提高血漿中有活性的凝血因子水平。產婦分娩前l周,給維生素K肌注或口服,有預防作用。肌注維生素K一日2-4毫克,連續3-4日。出血量多,需緊急輸血。嚴重胃腸道出血,應暫停餵乳。
疾病預防
腦幹出血症
甘油果糖人血白蛋白的套用不僅是極好的增強免疫、營養支持藥物,同時也是提高體內膠體滲透壓降低顱內壓之良藥;套用腦細胞保護劑,包括鈣離子拮抗劑、自由基清除劑、興奮性胺基酸NMDA受體拮抗劑等,對腦幹出血的救治是有益的;近年活血化瘀法治療腦出血急性期受到重視。按中醫理論“離經之血為之瘀”、“瘀血不去,新血不生”、“治風先治血,血行風自滅”等理論,並結合臨床客觀“瘀血證”的依據和腦出血的自止性。早期使用活血化瘀藥對高血壓腦出血具有良好的治療作用,安全有效。抗生素及抗潰瘍藥物的早期套用對預防感染和消化性潰瘍是必要的;補給營養,維持水、電解質平衡是不可忽視的重要環節;引入“卒中單元”理念,多學科協作,全面規範的整體護理與康復訓練,是腦幹出血救治成功的保障。
維生素K凡母孕期有使用抗凝劑、抗癲癇藥或抗結核藥史者,產前應給予維生素K10mg肌注,3-5天;授乳母親每周口服維生素k120mg兩次。以上預防方法的效果尚不能肯定。新生兒出生後應立即肌注維生素k11-2mg,;如嬰兒需長期全靜脈營養,或有肝、膽、疾患,腸道吸收不良及母乳餵養者,均應每周1次定期補充維生素k10.5mg。母孕期服用干擾維生素K代謝的藥物者,應在妊娠最後3個月期間及分娩前各肌注1次,維生素K1 ,10mg,純母乳餵養者,母親應口服維生素K1,20mg/次,每周2次,所有新生兒出生後應立即給予維生素K1,0.5-1mg肌注1次,以預防晚發性維生素K1缺乏,早產兒、有肝膽疾病、慢性腹瀉、長期全靜脈營養等高危兒應每周靜脈注射1次維生素K1,0.5-1mg。預防護理的要點是加強孕婦的營養。
尤其是在妊娠晚期更多吃新鮮蔬菜和水果,以增加維生素K的攝入量,保證胎兒的需要。對患有肝膽病及在妊娠期用過維生素抑制劑治療或估計有早產可能的孕婦,在臨產前要注射維生素K,以提高胎兒肝內維生素K的貯備量。新生兒出生後肌注維生素K1-2毫克,也有同樣的效果。對新生兒的護理要做到早期餵養。新生兒出生後1-2小時餵糖水,4-6小時時開始餵母乳;早產兒出生後4小時試餵糖水,若吮吸吞咽能力好,就可直接餵母乳,使之有利於維生素K的合成。對初生的新生兒,尤其是早產或母體缺乏維生素K的嬰兒,在生後一周內要特別注意觀察其精神、神志、面色、嘔吐物和大便情況(主要觀察其性質、次數、顏色和量),以及身體的其他部位有無出血傾向。如有出血,應立即送醫院診治。同時少驚動患兒,保持安靜,以減少出血。
預防護理的要點是加強孕婦的營養,尤其是在妊娠晚期更多吃新鮮蔬菜和水果,以增加繼往開來k的攝入量,保證胎兒的需要。對患有肝膽病及在妊娠期用過維生素抑制劑治療或估計有早產可能的孕婦,在臨產前要注射維生素k,以提高胎兒肝內維生素k的貯備量。新生兒出生後肌注維生素k1-2毫克,也有同樣的效果。對新生兒的護理是要做到早期餵養。新生兒出生後1-2小時餵糖水,4-6小時時開始餵母乳;早產兒出生後4小時試餵糖水,若吮吸吞咽能力好,就可直接餵母乳。這樣做可促進其腸道內菌群形成,使之有利於維生素k的合成。對初生的新生兒,尤其是早產或母體缺乏維生素k的嬰兒,在生後一周內要特別注意觀察其精神、神志、面色、嘔吐物和大便情況(主要觀察其性質、次數、顏色和量),以及身體的其他部位有無出血傾向。如有出血,應立即送醫院診治。同時少驚動患兒,保持安靜,以減少出血。如遇消化道出血明顯者應禁食。臍端滲血時可用雲南白藥敷之,再行加壓包紮後送醫院,以防滲血過多而危及患兒生命。
