多晶X射線衍射
正文
用 X射線衍射法研究多晶樣品的成分和結構的一種實驗方法,也稱粉末法。多晶是指由無數微細晶粒組成的細粉狀樣品或塊狀樣品。多晶衍射有照相法和衍射儀法兩類。常用的粉末照相法為德拜-謝樂法(圖 1)。
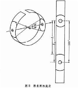
相機為一金屬圓筒,內徑通常為57.3毫米或114.6毫米,樣品裝在圓筒的中心軸線上,通過馬達帶動使它不停地轉動;緊貼內壁放置長條形X光底片;入射的單波長X射線經準直管作用在樣品上,穿透樣品後的 X射線進入射線收集器而被吸收。 當單波長X射線照到一個細晶上時,若某一晶面與入射線的交角滿足布喇格方程(見晶體X射線衍射)的要求,則在衍射角2θ處產生衍射線,在底片上形成一衍射點(圖2)。
由於粉末樣品中晶粒的取向是隨機的,每一組晶面(hkl)都能給出相應張角為4θ的圓錐形衍射線,作用在長條底片上就形成了一對對弧線。測量任意一條衍射線與出射孔中心的距離L和入射孔與出射孔間的距離Lk,可算出該衍射線對應的衍射角θ,結合所用的波長λ,代入布喇格方程,可算出晶面間距d值。θ=(L/Lk)×90°;d=2λ/sinθ。用目測法或測微光度法測量各衍射線的強度I,就可獲得一組d-I數據。將所得d-I數據與標準數據對照,即可鑑定樣品的物相。 多晶衍射儀法的原理與照相法類似,只是用射線記數器記錄衍射線的位置和強度,加上與電子計算機聯用,可使測量的準確度高、分辨能力強且迅速方便,並能自動將樣品的數據與計算機貯存的標準數據對照而鑑定樣品的物相。
參考書目
H.P.Klug and L.E.Alexander, X-ray DiffractionProcedures for Polycrystalline and Amorphous Materials, 2nd ed., John Wiley & Sons, New York,1974.

