基於WAMS的動態數值仿真軌跡誤差校正的研究
內容摘要
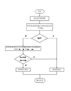
電力系統數值仿真是研究電力系統動態過程的主要手段之一,仿真的有效性取決於系統模型和參數的準確性。多次事故後分析和大擾動試驗結果均表明基於目前的模型和參數而進行的電力系統機電暫態分析結果不能反映系統的真實動態過程。本文提出了一個新的研究思路,通過對系統受擾後的電磁暫態過程進行分析,並與PMU實測軌跡進行比對,通過參數靈敏度分析對系統的模型和參數進行校正,使仿真系統的電磁暫態過程充分逼近實測軌跡,最終找到正確的發電機參數。算例分析驗證了本文方法的有效性。軌跡靈敏度是分析參數對系統動態行為的影響的有效方法。同步電機及其控制系統參數眾多,不同的參數對系統動態行為的影響程度不同,本文根據軌跡靈敏度理論推導了發電機及其控制系統參數對功角軌跡影響的靈敏度,並對各個參數靈敏度的相對大小進行了排序,為校正仿真誤差過程中的參數調整提供了參考。

