大型在用高壓厚管板換熱器,具有代表性的是循環油漿蒸汽發生器,它是煉化企業重油催化裝置的節能關鍵設備,大慶石化公司煉油廠100萬噸/年、140萬噸/年重油催化裝置、大慶油田化工總廠180萬噸/年重油催化裝置先後多台該設備運行1-4個月就發現換熱器管束的管接頭和管板發生嚴重泄漏,有的裂紋多達300條,使得換熱器殼程大量循環水進入油漿內,導致產蒸汽量不足,因而使煉油廠能耗嚴重超標,裝置經濟效益降低,我廠於1998年開始進行循環油漿蒸汽發生器管束的修復工作,先後成功修復了8台該類設備,通過分析其泄漏原因,總結摸索出該類設備修復的技術難點和技術關鍵。修復後的循環油漿蒸汽發生器使用至今沒有發生泄漏,保證了裝置的安、穩、長、滿、優生產。
循環油漿蒸汽發生器管束的泄漏現象在國內其它煉化企業也頻繁出現,該修復工法對國內其它同類裝置的循環油漿蒸汽發生器管束裂紋的修復具有普遍的指導意義,同時對該類設備的製造也具有一定的借鑑作用。
採用本工法修復的循環油漿蒸汽發生器生產運行後,用戶單位的有關專家、裝置負責人均給予好評,各項性能指標均符合設計要求。本工法獲大慶石油化工總廠2000年度技術改進和合理化建議二等獎。
二、正文部分
1、工法特點
1.1循環油漿蒸汽發生器管束裂紋在考慮管束的結構特點和設備實際運行情況等因素後,採用本工法修復,試壓一次成功,這對國內其它同類裝置的在用循環油漿蒸汽發生器管束裂紋的修復具有普遍的指導意義。
1.2對該類設備管束裂紋修復,選擇合理預熱溫度及焊接順序可以減少接頭處的焊接殘餘應力,防止管板變形,保證連線的可靠性。
1.3焊後通過補脹,增加了換熱管與管板密封性,防止管接頭的泄漏,滿足了裝置的安全運行要求。
1.4對比更新該類設備,採用本工法修復可為裝置節約大量資金,大大縮短了施工工期,且性能符合設計要求。
2、適用範圍
本工法主要套用於煉化企業重油催化裝置節能關鍵設備—在用循環油漿蒸汽發生器。因為該設備通過殼程水蒸汽和管程循環油漿的熱交換,達到降低油漿溫度,形成分餾塔的溫差分布,同時殼程產生低壓蒸汽,而設備設計壓力又高,極易出現管接頭泄漏。循環油漿蒸汽發生器管束裂紋修復工法就是針對這類設備工況條件制定的,行之有效。同時對煉化企業其它裝置大型在用換熱器修復也有很好借鑑作用。
3、工藝原理
本工法通過機械加工方法去除缺陷,採用手工電弧焊方法進行修復,其工藝技術關鍵:a焊材的選擇;b管板表面、管板與換熱管間隙的嚴格清理;c首次採用低合金鋼預熱溫度經驗公式,並結合此類設備實際特點來計算管接頭焊接預熱溫度,以避免厚管板因焊接殘餘應力過大引起管接頭開裂;d合理地選擇管接頭焊接順序,以避免管板產生凹凸變形。
4、工藝流程及操作要點
4.1工藝流程。
本工法工藝流程:落地鏜床機械加工→理化檢驗→局部是否更換換熱管→平行鑽床清除缺陷,並加工坡口→管板和管接頭清理→預熱→組焊管板與管接頭→後熱處理。
4.2操作要點。
4.2.1管接頭及管板管橋裂紋清除
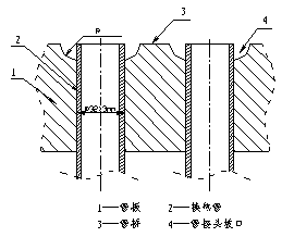
1)原換熱管長6288mm,伸出管板面長度5-7mm,其焊接方法為手工鎢極氬弧焊,而修復時為了徹底清除管接頭及管橋裂紋,採用落地鏜床首先將管接頭及其焊縫余高加工掉,與管板齊平,然後管板表面100%著色檢查,若換熱管管頭處仍有裂紋,則繼續加工至管板凸台留有0-1mm餘量。設計專用刀具用平行鑽床加工掉原管板與換熱管焊肉,同時加工坡口,坡口形式見圖1所示。對於個別管橋和管板表面處裂紋可採用角型砂輪進行修磨,並修磨成U型坡口形式。機械加工管接頭焊肉時,對中以換熱管內徑找正,壁厚公差控制在±0.2mm,避免損傷換熱管管壁,保證管壁的設計厚度
熱應變脆化3)穿新管,點焊固定。待管束全部焊接完畢,將所有新管進行貼脹。
4)管束焊接完畢用深度脹管器將所有換熱管全部按圖樣要求進行脹接。
4.2.2管板表面清理。
循環油漿蒸汽發生器因為是在用設備,管板表面雖經清洗,但仍有大量油污、浮銹等雜質,且機械加工後,管接頭和管板與換熱管縫隙處仍存有大量潤滑油脂和油污,這些雜質都嚴重影響焊接質量。為此,採用丙酮對管接頭除油,電動不鏽鋼絲刷除銹,使管板和管接頭露出金屬光澤.
4.2.3手工電弧補焊
1)預熱溫度確定
16Mn鋼存在著很大的熱應變脆化傾向。熱應變脆化是直接發生於焊接過程中,在熱和應變同時作用下產生的一種動態應變時效,一般認為在200℃-400℃時熱應變脆化最為明顯。消除熱應變脆化的有效措施是焊前預熱或焊後退火處理,而退火處理溫度要達到600℃,根據管束實際情況,很難達到如此高的溫度。因此,我們採取焊前預熱方法來消除換熱器管接頭熱應變脆化。
按照低合金鋼預熱溫度經驗公式可計算焊前預熱溫度:得:16Mn鋼Td=159.6℃,考慮廠房內施焊環境溫度(20-25℃)及工件結構因素影響,取預熱溫度為200℃,相應的層間溫度也控制在200℃左右。
焊前採用矽整流電加熱器對管板進行預熱,預熱時採用履帶式電熱帶在管板側面纏繞,外側用陶纖氈包裹。管束從上至下全部用陶纖氈包裹,且與地面接觸的管板用道木墊起,以減少熱量損失。焊接時用熱電偶配合手持式測溫儀測量管板正面和背面預熱溫度,並按要求進行測量,合格後方可焊接。
2)焊接順序
由於循環油漿蒸汽發生器管板表面有472個管接頭,且相鄰兩管接頭較近(8mm),為防止焊接時產生橫向收縮變形,減少焊接殘餘應力,其焊接順序為先焊管橋和管板表面,後焊管接頭。焊縫橫向收縮變形產生主要原因是管接頭焊縫長度上的加熱並不是同時進行,其上的各點溫度不同,從而在寬度方向產生壓縮塑性變形,而厚度上增厚,導致管板凸起或凹陷。為此,管接頭焊接順序由外向內,分區跳焊的方法進行焊接。
http://www.hj9411.com/post/5773.html
