絕緣套管
正文
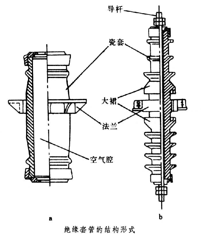
用於穿過帶電導體的一種絕緣子。簡稱套管。其基本結構形式見圖。
絕緣套管單一絕緣套管 用純瓷或樹脂絕緣,常製成穿牆套管,用於35千伏及以下電壓等級。其絕緣件為管狀,中部卡裝或膠裝法蘭以便固定在穿孔牆上。法蘭一般為灰鑄鐵,當工作電流大於1500安時常用非磁性材料以減少發熱。單一絕緣套管的絕緣結構分為有空氣腔和空氣腔短路兩類。空氣腔套管用於10千伏及以下電壓等級,導體與瓷套之間有空氣腔作為輔助絕緣,可以減少套管電容,提高套管的電暈電壓和滑閃電壓。當電壓等級較高時(20~30千伏),空氣腔內部將發生電暈而使上述作用失效,這時採用空氣腔短路結構。這種瓷套管的瓷套內壁塗半導體釉,並用彈簧片與導體接通使空氣腔短路,用以消除內部電暈。但法蘭附近仍可能發生電暈和滑閃。通常在法蘭附近兩側瓷套表面各設一很大的傘裙,並在法蘭附近塗以半導電層使電場均勻分布,提高套管的放電特性。
複合絕緣套管 以油或氣體作絕緣介質,一般製成變壓器套管或斷路器套管,常用於35千伏以下的電壓等級。複合絕緣套管的導體與瓷套間的內腔充滿變壓器油,起徑向絕緣作用。當電壓超過35千伏時,在導體上套以絕緣管或包電纜線,以加強絕緣。複合絕緣套管的導體結構有穿纜式和導桿式兩種。穿纜式利用變壓器的引出電纜直接穿過套管,安裝方便。當工作電流大於600安時,穿纜式結構安裝比較困難,一般採用導桿式結構。
電容式套管 由電容心子、瓷套、金屬附屬檔案和導體構成。主要用於超高壓變壓器和斷路器。其上部在大氣中、下部在油箱中工作。電容式套管的電容心子作為內絕緣,瓷套作為外絕緣,也起到保護電容心子的作用。瓷套表面的電場受內部電容心子的均壓作用而分布均勻,從而提高了套管的電氣絕緣性能。金屬附屬檔案有中間連線套筒(法蘭)、端蓋、均壓球等。導體為電纜或硬質鋼管。
電容式套管的電容心子用膠紙製造時,機械強度高,可以任何角度安裝,抗潮氣性能好,結構和維修簡單,可不用下套管,還可將心子下端車削成短尾式,縮小其尺寸。缺點是在高電壓等級時,絕級材料和工藝要求較高,心子中不易消除氣隙,以致造成局部放電電壓低。膠紙電容式套管由於介質損耗偏高和局部放電電壓低等問題,已逐漸為油紙電容式套管所取代。採用油紙作電容心子,一般要有下瓷套,下部尺寸較大,對潮氣比較敏感,密封要求高;優點是絕緣材料和工藝易於解決,介質損耗小,局部放電性能好。70年代開始,中國已廣泛使用110~500千伏超高壓油紙電容式套管。
80年代中國還發展了一種膠浸紙套管,其電容心子是以絕緣紙卷製成心子後用合成樹脂真空浸漬,再經熱固化處理。其性能兼有膠紙和油紙電容式套管的優點。

