由來
美國的始祖
品管圈日本品管圈的沿革
(品管圈活動是由日本石川專馨博士於1962年所創,國內多稱之為質量管理小組)日本人不只是訓練工程師與主管階層而已,而是有計畫的大量提高生產力。品管部在美國是很大的部門,成員包括品管工程師、信度工程師和其它領域的專家;反觀日本,廣泛的教導各領域經理品管的方法後,可以縮減龐大的品管部門以及專門的工程師。
日本施行的結果
日本到了1966年四月就有超過10,000個品管圈,且每圈都展現以下的特質:
(1)每圈平均節省美幣3,000元。
(2)日本整體的改善總共達到3億美幣的效益。
(3)經理和工程師沒有花費時間就可以有這些成果,依舊處理跨部門與高層的營運計畫。
(4)分析很多突發的問題,降低變異性與預防復發。
(5)工作場所就有很多很棒的管理手法,如:更清處的判讀標準、更完整的手法,更好的數值回饋和管制圖。
思考方向
我們不知道真正的問題有哪些,甚至不知道主要的問題在哪裡。因此,我們要教如何分析以找出主要的問題。而且,我們要教如何列出主要問題可能的清單,在由中找出真正的問題。然後要幫忙找出解決的方法。最後,一定要教如何在掌握的現況中,保持成果。所有參加者都可以獲得以下的好處:品管圈會議中可以有機會在大眾面前講話。彼此結交更多的朋友,有助於營造工作場所愉快的氣氛。更能意識到本身工作的重要性與職責,因而對自己的工作更感到自豪。改善了個性,與養成專心處理問題的能力,這些品管圈的經驗也可以套用到家庭生活上。
注意問題
品管圈企業方針目標也就是所謂的“企業精神”,當一個企業確立了這樣一個精神,才能使員工有了明確的目標,才能改變員工的思想意識,才能使員工煥發出蓬勃的生命力、創造力。現代的管理學這樣認為:企業成敗已經不完全取決於嚴格的管理制度,還取決於企業精神的形成和發揮,因此企業精神構成了企業生存的基礎和發展的動力。企業精神的培育與企業領導人的素質和作風緊密相關,尤其是創業時期的領導人,其身體力行、言傳身教,對企業精神的定型起著關鍵的作用。企業文化可以理解為企業的觀念形態,文化形式和價值體系的總和,是企業員工信念和凝聚力的體現,即以人為本,以“誠”“信”為基礎的企業文化。企業的領導者如果管理有方,措施得力,在企業中建立了具有鮮明個性和獨特風格的企業文化,確立了一種能夠使企業領導與全體員工上下一心、目標一致的企業精神,那么企業管理一定會成功,經濟效益一定會提高。
2、領導要重視QCC活動,並動員、引導全體員工積極參與搞QCC活動。
QC源於基層,產生於班組,它是“在生產或工作崗位上從事各種勞動的員工,圍繞企業的方針目標或現場存在的問題而組織起來開展活動”的小組,所以必須要動員所有員工積極、熱情的投入到搞QCC活動中去,而這一基本要素又必須是企業領導或主管人員有足夠的重視程度,因為領導重視QCC活動,注重質量管理,QCC活動才會如虎添翼。
3、加大內部工作崗位培訓力度,充實QCC技術力量。
我們常說的“質量興業”實質就是“人才興業”,產品的質量就標誌著企業員工的素質,像我們這種服務性行業更甚,因此員工的崗位再教育是現代做作業必不可少的有機組成部分,也是提高QCC質量的保證。鄧小平曾說過:“忽視教育的領導者,是缺乏遠見的、不成熟的領導者。”因而落實崗位再教育的任務是領導者必負的責任,只有這樣才能促進員工教育和企業發展的良性循環,才能更充實QCC的技術力量。
4、要加大對QCC活動的財政投入,加大對QCC成果的獎勵力度。
QCC活動的成果如果能給企業帶來效益,而企業領導者又能給參與QCC活動的人員給予精神、物質獎勵,必定能調動員工的勞動熱情和積極性,形成更良性的循環,創造出更高質量的成果。加大對QCC先進設備的添置,改善工作環境,增加技術智力投資,這樣就更能使QCC活動起到事半功倍的作用。
活動內容
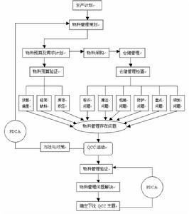
品管圈(1)根據同一部門或工作性質相關聯、同一班次之原則,組成品管圈。
(2)選出圈長。
(3)由圈長主持圈會,並確定一名記錄員,擔任圈會記錄工作。
(4)以民主方式決定圈名、圈徽。
(5)圈長填寫“品管圈活動組圈登記表”,成立品管圈,並向QCC推動委員會申請註冊登記備案。
2、活動主題選定,制定活動計畫
(1)每期品管圈活動,必須圍繞一個明確的活動主題進行,結合部門工作目標,從品質、成本、效率、交期、安全、服務、管理等方面,每人提出2~3個問題點,並列出問題點一覽表。
(2)以民主投票方式產生活動主題,主題的選定以品管圈活動在3個月左右能解決為原則。
(3)提出選取理由,討論並定案。
(4)制定活動計畫及進度表,並決定適合每一個圈員的職責和工作分工。
(5)主題決定後要呈報部門直接主管/經理審核,批准後方能成為正式的品管圈活動主題。
(6)活動計畫表交QCC推行委員會備案存檔。
3、目標設定
(1)明確目標值並和主題一致,目標值儘量要量化。
(2)不要設定太多的目標值,最好是一個,最多不超過兩個。
(3)目標值應從實際出發,不能太高也不能太低,既有挑戰性,又有可行性。
(4)對目標進行可行性分析。
4、現狀調查,數據收集
(1)根據上次的特性要因圖(或圍繞選定的主題,通過圈會),設計適合本圈現場需要的、易於數據收集、整理的查檢表。
(2)決定收集數據的周期、收集時間、收集方式、記錄方式及責任人。
(3)圈會結束後,各責任人員即應依照圈會所決定的方式,開始收集數據。
(4)數據一定要真實,不得經過人為修飾和造假。
(5)本階段使用查檢表。
5、數據收集整理
(1)對上次圈會後收集數據過程中所發生的困難點,全員檢討,並提出解決方法。
(2)檢討上次圈會後設計的查檢表,如需要,加以補充或修改,使數據更能順利收集,重新收集數據。
(3)如無前兩點困難,則圈長落實責任人及時收集數據,使用QC手法,從各個角度去層別,作成柏拉圖形式直觀反映,找出影響問題點的關鍵項目。
(4)本階段可根據需要使用適當之QC手法,如柏拉圖、直方圖等。
6、原因分析
(1)在圈會上確認每一關鍵項目。
(2)針對選定的每一關鍵項目,運用腦力激盪法展開特性要因分析。
(3)找出影響的主要因素,主要因素要求具體、明確、且便於制定改善對策。
(4)會後落實責任人對主要因素進行驗證、確認。
(5)對於重要原因以分工方式,決定各圈員負責研究、觀察、分析,提出對策構想並於下次圈會時提出報告。
(6)本階段使用腦力激盪法和特性要因法。
QCC與銷售管理(1)根據上次圈會把握重要原因和實際觀察、分析、研究的結果,按分工的方式,將所得之對策一一提出討論,除了責任人的方案構想外,以集思廣益的方式,吸收好的意見。
(2)根據上述的討論獲得對策方案後,讓圈員分工整理成詳細具體的方案。
(3)對所制定的具體對策方案進行分析,制定實施計畫,並在圈會上討論,交換意見,定出具體的步驟、目標、日程和負責人,註明提案人。
(4)圈長要求圈員根據討論結果,以合理化建議的形式提出具體的改善構想。
(5)圈長將對策實施計畫及合理化建議報部門主管/經理批准後實施(合理化建議實施績效不參加合理化建議獎的評選,而直接參加品管圈成果評獎)。
(6)如對策需涉及圈外人員,一般會邀請他們來參加此次圈會,共同商量對策方法和實施進度。
(7)本階段使用愚巧法、腦力激盪法、系統圖法。
8、對策實施及檢討
(1)對所實施的對策,由各圈員就本身負責工作作出報告,順利者給予獎勵,有困難者加以分析並提出改進方案和修改計畫。
(2)對前幾次圈會做整體性的自主查檢,尤其對數據收集、實施對策、圈員向心力、熱心度等,必須全盤分析並提出改善方案。
(3)各圈員對所提出對策的改善進度進行反饋,並收集改善後的數據。
9、效果確認
(1)效果確認分為總體效果及單獨效果。
(2)每一個對策實施的單獨效果,通過護理化建議管理程式驗證,由圈長最後總結編製成合理化建議實施績效報告書,進行效果確認。
(3)對無效的對策需開會研討決定取消或重新提出新的對策。
(4)總體效果將根據已實施改善對策的數據,使用QCC工具(總推移圖及層別推移圖)用統計數據來判斷。改善的經濟價值儘量以每年為單位,換算成具體的數值。
(5)圈會後應把所繪製的總推移圖張貼到現場,並把每天的實績打點到推移圖上。
(6)本階段可使用檢查表、推移圖、層別圖、柏拉圖等。
10、標準化
(1)為使對策效果能長期穩定的維持,標準化是品管圈改善歷程的重要步驟。
(2)把品管圈有效對策納入公司或部門標準化體系中。
11、成果資料整理(成果比較)
(1)計算各種有形成果,並換算成金額表示。
(2)製作成果比較的圖表,主要以柏拉圖金額差表示。
(3)列出各圈員這幾次圈會以來所獲得的無形成果,並做改善前、改善後的比較,可能的話,以雷達圖方式表示。
(4)將本期活動成果資料整理編製成“品管圈活動成果報告書”。
(5)本階段可使用柏拉圖、雷達圖等。
12、活動總結及下一步打算
(1)任何改善都不可能是十全十美的、一次解決所有的問題,總還存在不足之處,找出不足之處,才能更上一各台階。
(2)老問題解決了,新問題又來了,所以問題改善沒有終點。
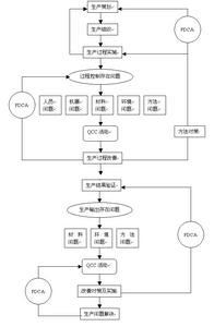
(3)按PDCA循環,品質需要持續改善,所以每完成一次PDCA循環後,就應考慮下一步計畫,制定新的目標,開始新的PDCA改善循環。
13、成果發表
(1)對本圈的“成果報告書”再做一次總檢討,有全體圈員提出應補充或強調部分,並最後定案。
(2)依照“成果報告書”,以分工方式,依各人專長,分給全體圈員,製作各類圖表。
(3)圖表做成後,由圈長或推選發言人上台發言,並進行討論交流。
(4)準備參加全公司品管圈發表會。

