三片式法蘭球閥優點
1. 流體阻力小,其阻力係數與同長度的管段相等。
2. 結構簡單、體積小、重量輕。
3. 緊密可靠,目前球閥的密封面材料廣泛使用塑膠、密封性好,在真空系統中也已廣泛使用。
恩光三片式法蘭球閥4. 操作方便,開閉迅速,從全開到全關只要旋轉90°,便於遠距離的控制。
5. 維修方便,球閥結構簡單,密封圈一般都是活動的,拆卸更換都比較方便。
6. 在全開或全閉時,球體和閥座的密封面與介質隔離,介質通過時,不會引起閥門密封面的侵蝕。
7. 適用範圍廣,通徑從小到幾毫米,大到幾米,從高真空至高壓力都可套用。
三片式法蘭球閥按其通道位置可分為直通式,三通式和直角式。後兩種球閥用於分配介質與改變介質的流向。
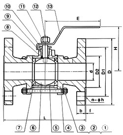
主要零部件材料表:
| 序號NO | 零件名稱 | 材質 | |
| ​ | ​ | 不鏽鋼 | 碳鋼 |
| 1 | 螺栓 | 不鏽鋼SS304 | 碳鋼 |
| 2 | 彈簧墊圈 | 不鏽鋼SS304 | 不鏽鋼SS304 |
| 3 | 螺 母 | 不鏽鋼SS304 | 碳鋼 |
| 4 | 閥 蓋 | 不鏽鋼CF8/CF8M | 碳鋼WCB |
| 5 | 閥 體 | 不鏽鋼CF8/CF8M | 碳鋼WCB |
| 6 | 球 體 | 不鏽鋼CF8 | 不鏽鋼CF8 |
| 7 | 密封圈 | 聚四氟乙稀/PTFE | 聚四氟乙稀PTFE |
| 8 | 閥 桿 | 不鏽鋼SS316 | 不鏽鋼SS304 |
| 9 | 填 料 | 聚四氟乙稀PTFE | 聚四氟乙稀PTFE |
| 10 | 壓緊螺母 | 不鏽鋼SS304 | 不鏽鋼SS304 |
| 11 | 彈簧墊圈 | 不鏽鋼SS304 | 不鏽鋼SS304 |
| 12 | 螺 母 | 不鏽鋼SS304 | 不鏽鋼SS304 |
| 13 | 手 柄 | 不鏽鋼SS304 | 不鏽鋼SS304 |
三片式法蘭球閥的尺寸圖主要尺寸表:
| SIZE | 1/2″ | 3/4″ | 1″ | 1 1/4″ | 1 1/2″ | 2″ | 2 1/2″ | 3″ | 4″ |
| d | 15 | 20 | 25 | 32 | 38 | 50 | 65 | 76 | 100 |
| L | 130 | 150 | 160 | 180 | 200 | 230 | 290 | 310 | 350 |
| D | 95 | 105 | 115 | 135 | 145 | 160 | 180 | 195 | 230 |
| D1 | 65 | 75 | 85 | 100 | 110 | 125 | 145 | 160 | 190 |
| D2 | 45 | 55 | 65 | 78 | 85 | 100 | 120 | 135 | 160 |
| b | 14 | 16 | 16 | 18 | 18 | 20 | 22 | 24 | 24 |
| f | 2 | 2 | 2 | 3 | 3 | 3 | 3 | 3 | 3 |
| H | 75 | 95 | 90 | 110 | 130 | 140 | 140 | 180 | 250 |
| W | 130 | 140 | 140 | 170 | 200 | 220 | 220 | 350 | 550 |
| n-do | 4-14 | 4-14 | 4-14 | 4-18 | 4-18 | 8-18 | 8-18 | 8-18 | 8-22 |
安裝與維護應注意事項
1.要留有閥柄旋轉的位置。
2. 不能用作節流。
3帶傳動機構的球閥應直立安裝。
三片式法蘭球閥的工作原理是靠旋轉閥戀來使閥門暢通或閉塞。球閥開關輕便,體積小,可以做成很大口徑,密封可靠,結構 簡單,維修方便,密封面與球面常在閉合狀態,不易被介質沖蝕,在各行業得到廣泛的套用。
三片式法蘭球閥在管路中主要用來做切斷、分配和改變介質的流動方向。球閥是近年來被廣泛採用的一種新型閥門,它具有以下優點:
1. 流體阻力小,其阻力係數與同長度的管段相等。
2. 結構簡單、體積小、重量輕。
3. 緊密可靠,目前球閥的密封面材料廣泛使用塑膠、密封性好,在真空系統中也已廣泛使用。
4. 操作方便,開閉迅速,從全開到全關只要旋轉90°,便於遠距離的控制。
5. 維修方便,球閥結構簡單,密封圈一般都是活動的,拆卸更換都比較方便。
6. 在全開或全閉時,球體和閥座的密封面與介質隔離,介質通過時,不會引起閥門密封面的侵蝕。
7. 適用範圍廣,通徑從小到幾毫米,大到幾米,從高真空至高壓力都可套用。 球旋轉90度時,在進、出口處應全部呈現球面,從而截斷流動。
三片式法蘭球閥是一種比較新型的球閥類別,它有著自身結構所獨有的一些優越性,如開關無摩擦,密封不易磨損,啟閉力矩小。這樣可減小所配執行器的規格。配以多迴轉電動執行機構,可實現對介質的調節和嚴密切斷。廣泛適用於石油化工城市給排水等要求嚴格切斷的工況。
工作原理
一、開啟過程
1在關閉位置,球體受閥桿的[wiki]機械[/wiki]施壓作用,緊壓在閥座上。
2當逆時針轉動手輪時,閥桿則反向運動,其底部角形平面使球體脫開閥座。
3閥桿繼續提升,並與閥桿螺旋槽內的導銷相互作用,使球體開始無摩擦地旋轉。
4直至到全開位置,閥桿提升到極限位置,球體旋轉到全開位置。
二、關閉過程
1關閉時,順時針旋轉手輪,閥桿開始下降並使球體離開閥座開始旋轉。
2繼續旋轉手輪,閥桿受到嵌於其上螺旋槽內的導銷的作用,使閥桿和球體同時旋轉90°。
3 快要關閉時,球體已在與閥座無接觸的情況下旋轉了90°。
4手輪轉動的最後幾圈,閥桿底部的角形平面機械地楔向壓迫球體,使其緊密地壓在閥座上,達到完全密封。
結構特點
1、 啟閉無摩擦。這一功能完全解決了傳統閥門因密封面之間相互摩擦而影響密封的問題。
2、 上裝式結構。對裝在管道上的閥門可直接線上檢查與維修,能有效減少裝置停車,降低成本。
3、 單閥座設計。消除了閥門中腔介質因異常升壓而影響使用安全的問題。
4、 低扭矩設計。特殊結構設計的閥桿,只需配一個小手把閥門就能輕鬆啟閉。
5、 楔形密封結構。閥門是靠閥桿提供的機械力,將球楔壓到閥座上而密封,使閥門的密封性不受管線壓差變化的影響,在各種工況下密封性能都有可靠保證。
6、 密封面的自清潔結構。當球體傾離閥座時,管線中的流體沿球體密封面成360°均勻通過,不僅消除了高速流體對閥座局部的沖刷,也沖走了密封面上的聚積物,達到自清潔的目的。

