基本內容
陰極射線管(CRT)是由英國人威廉·克魯克斯首創,可以發出射線,這種陰極射線管被稱為克魯克斯管。
陰極射線管陰極射線管是將電信號轉變為光學圖像的一類電子束管,人們熟悉的電視機顯像管就是這樣的一種電子束管。它主要由電子槍、偏轉系統、管殼和螢光屏構成。
陰極射線管能提供聚集在螢光屏上的一束電子以便形成直徑略小於1mm的光點。在電子束附近加上磁場或電場,電子束將會偏轉,能顯示出由電勢差產生的靜電場,或由電流產生的磁場。
一個陰極射線管,其特徵在於,具有真空管殼,該真空管殼由下述構成:面板部分,具有在內面上塗敷了螢光體的螢光面;管頸部分,收納了具有具備旁熱式陰極構體和控制電極和加速電極的電子束產生部分、和由聚焦電極和陽極電極構成並使電子束聚焦和加速的主透鏡部分的電子槍;以及錐體部分,連線上述面板部分和上述管頸部分,其中,上述旁熱式陰極構體,具備具有熱電子發射物質層的基底金屬;在一個端部上保持基底金屬,在內部收納加熱器的筒狀的套筒;在加熱器的加熱器主要部分一側具有大直徑部分,在加熱器的腿部一側具有小直徑部分,而且支承套筒的異形支承體;以及在加熱器的腿部一側具有大直徑部分,在加熱器的主要部分一側具有小直徑部分的陰極盤,並使套筒的另一端部外面和支承體的小直徑部分內面固定,使支承體的大直徑部分外面和上述陰極盤的小直徑部分內面固定。
實驗室
實驗室通常使用靜電偏轉式示波管,它的旁熱式陰極需要1A的電流、4或6.3V的電壓。陰極被離得較遠的頂部開孔的圓柱形金屬筒罩著,圓筒相對於陰極加上負電勢,電子受到它的排斥、形成通過小孔的電子束。這個圓筒電極稱為柵板或禁止柵,改變柵極電位能控制陰極發射電子,於是就改變了光點的輝度。相應的控制鏇鈕標記為“輝度”。
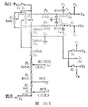
從控制柵出來的電子束穿過第一、二、三陽極,這三個陽極對於陰極都處於正電位。這些電極之間的電場,隨所加的電勢不同,可以使電子束匯聚或發散。它們的作用類似光學中的透鏡組。通常使第一、三陽極相對於陰極處於最高電位,第二陽極則處於較前兩個低些的電位,但比陰極電位高。第二陽極的電位可以改變。用這樣的方法,能將光點聚焦在屏上。控制第二陽極電勢的分壓器起著“聚焦”作用,見圖38/1。屏面塗著一層矽化鋅,當電子轟擊屏時,它會發出綠光。
在最後一個陽極和屏之間安裝了偏轉板,X偏轉板比Y偏轉板離屏更近,X偏轉板造成水平偏轉,Y偏轉板造成垂直偏轉。在Y方向上有較高的靈敏度(單位為mm/V)。
因為電子束由電子組成,所以,加在X偏轉板之間的電勢差會引起電子束隨X板的極性由左向右、或由右向左移動。光點向著具有較高正電位的電極板移動。加在Y偏轉板上的電勢差也以同樣的方式引起電子束向上或向下移動。
注意
關於電極電壓有一點要特別注意:通常最後的陽極要接地以使偏轉板不會處於高壓附近,錯誤的方法會引起光點漂移,甚至在某些情況中導致危險。示波管陰極末端處在相對於地幾千伏的負電勢上,它取決於示波管的零點。因此,當示波管工作時,陰極、陰極加熱裝置,加熱裝置的電流變壓器線圈,以及聚焦陽極(A2)對於操作者而言是危險的。所以這些部件的相應鏇鈕中間都必須絕緣,始終保持與高壓電源隔離。
顯示材料
陰極射線管(CRT)顯示材料是指能在電子束轟擊下發光的一類發光材料,即陰極射線螢光粉。
陰極射線螢光粉有上百種,目前用於彩色顯像管的典型發光粉是ZnS,Ag(藍色)、Zn,Cu,Al(黃綠色)等。
若採用納米發光材料則可提高CRT發光材料的發光率,有可提高CRT顯示屏的解析度。ZnS,Mn是目前較好的一種納米級發光材料,可用於高清晰度索維電視顯示。
顯示器
陰極射線管顯示器陰極射線管顯示器(CRT),是實現最早、套用最為廣泛的一種顯示技術,具有技術成熟、圖像色彩豐富、還原性好、全彩色、高清晰度、較低成本和豐富的幾何失真調整能力等優點,主要套用於電視、計算機顯示器、工業監視器、投影儀等終端顯示設備。
陰極射線管顯示器(CRT)是一種使用陰極射線管(Cathode Ray Tube)的顯示器,主要有五部分組成:電子槍(Electron Gun),偏轉線圈(Deflection coils),蔭罩(Shadow mask),螢光粉層(Phosphor)及玻璃外殼。它是目前套用最廣泛的顯示器之一,CRT純平顯示器具有可視角度大、無壞點、色彩還原度高、色度均勻、可調節的多解析度模式、回響時間極短等LCD顯示器難以超越的優點,而且現在的CRT顯示器價格要比LCD顯示器便宜不少 。
歷史
最早的陰極射線管是由英國人威廉·克魯克斯首創,可以發出射線,這種陰極射線管被稱為克魯克斯管。
德國人卡爾·費迪南德·布勞恩在陰極射線管上塗布螢光物質,此種陰極射線顯像管被稱為布勞恩管,在德國、日本等地,仍廣泛使用布勞恩管這一稱呼。
種類
1. 磁場偏向型:以磁場令電子束產生偏向,產生磁場的偏向線圈附加在陰極射線管頸部外側。電視機使用此種方式的顯像管。
2. 電場偏向型:以電場令電子束產生偏向,產生電場的偏向極板內建在陰極射線管內部。示波器使用此種方式的顯像管,以利應付不同的掃描頻率,但此方式需要較長的管身。
3. 威廉士管:具有記憶保持功能的特殊陰極射線管。

