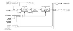
工作原理
WDT框圖使用時,WDT將遞增,直到溢出,或稱“逾時”。除非處於休眠或空閒模式,WDT 逾時會強制器件復位。為避免WDT逾時復位,用戶必須定期用PWRSAV 或CLRWDT 指令將看門狗定時器清零。如果WDT 在休眠或空閒模式下逾時,器件將喚醒並從PWRSAV 指令執行處繼續執行代碼。在上述兩種情況下,WDTO 位(RCON<4>)都會置1,表示該器件復位或喚醒事件是由於WDT逾時引起的。如果WDT 將CPU從休眠或空閒模式喚醒,“休眠”狀態位(RCON<3>)或“空閒”狀態位(RCON<2>)也會置1,表示器件之前處於省電模式。
在正常操作期間,一次WDT逾時溢出將產生一次器件復位。當器件處於休眠狀態時,一次WDT逾時溢出將喚醒器件,使其繼續正常操作(即稱作WDT 喚醒)。對WDTE 設定位清零可以永久性地關閉WDT。
後分頻器分配完全是由軟體控制,即它可在程式執行期間隨時更改。
為避免發生不可預測的器件復位,當從Timer0 預分頻器的分配改為WDT 後分頻器的分配時,必須執行下列指令序列。即使WDT 被禁止,也要執行這個指令序列。
功能作用
看門狗定時器看門狗定時器是單片機的一個組成部分,在單片機程式的調試和運行中都有著重要的意義。它的主要功能是在發生軟體故障時,通過使器件復位(如果軟體未將器件清零)將單片機復位。也可以用於將器件從休眠或空閒模式喚醒,看門狗定時器對微控制器提供了獨立的保護系統,當系統出現故障時,在可選的逾時周期之後,看門狗將以RESET信號作出回響,像x25045就可選逾時周期為1.4秒、600毫秒、200毫秒三種。當你的程式當機時,x25045就會使單片機復位。
大多數看門狗定時器IC產生一個單一的,有限的輸出脈衝持續時間當看門狗逾時。這適用於觸發復位或中斷微處理器,但有些套用需要輸出(故障指示燈)的鎖存器。
考慮到安全性問題,汽車電子系統需要監控電路監測故障容限或安全性。看門狗定時器可理想滿足這類需求,通過對微控制器正常工作條件下產生的周期脈衝進行檢測,偵測電路或IC的失效狀態,一旦發生故障可立即切換到備份/冗餘系統。
設計原理
圖1在 看門狗( watchdog timer),是一個定時器電路, 一般有一個輸入,叫餵狗(kicking the dog or service the dog),一個輸出到MCU的RST端,MCU正常工作的時候,每隔一段時間輸出一個信號到餵狗端,給WDT清零,如果超過規定的時間不餵狗,(一般在程式跑飛時),WDT 定時超過,就會給出一個復位信號到MCU,使MCU復位. 防止MCU當機. 看門狗的作用就是防止程式發生死循環,或者說程式跑飛。 出於對單片機運行狀態進行實時監測的考慮,產生了一種專門用於監測單片機程式運行狀態的晶片,俗稱"看門狗"(watchdog))積體電路(MAX*9)的基礎上,該電路提供了回響的輸入脈衝流損失鎖存故障指示。該電路可以監控風扇(上風扇的轉速輸出計算),振盪電路,或一個微處理器軟體執行。
一個簡單的電路(圖1)提供了回響的輸入脈衝流損失鎖存故障指示。在μP-supervisor/watchdog積體電路(MAX*9)的基礎上,該電路用於監測風扇(在風扇的轉速輸出計算),振盪電路,或一個合適的微處理器軟體執行。
在上電期間,低電平有效復位仍然很低,直到VCC的穩定和復位逾時時間到期。電容器C通過R,直到FET的柵極電壓達到閾值(電壓VTH),它開啟了場效應管,使鎖存能力。為了防止誤觸發,你應該設定RC延遲的時間遠遠超過了復位逾時。
WDI輸入(引腳6)必須按切換電容器CSWT設立最低速率。如果這沒有發生,低電平有效復位變低,在LED指示燈,在連線和低拉復位,從而鎖定低電平復位。該電路仍然有效,直到你循環VCC或推開關在此條件。要么關閉FET的行動,並允許重置變高。
為了監測風扇開漏測速信號,從世界發展指標10kΩ的連線到VCC(引腳8)上拉電阻器。由於風扇需要一些時間來旋轉起來,看門狗電路需要為一個短暫的延遲時間間隔停用。您可以通過將本延遲電容(C2)從對地復位。請注意,此延遲必須小於上述RC延遲,或低電平有效復位鎖存過早會較短。
對於一個風扇監控,對CSWT值設定最大轉速脈衝周期根據公式5.06×106 × CSWT,其中在幾秒鐘內CSWT。如果轉速低於這個閾值時,低電平有效復位輸出低和插銷。

