簡介
盤式制動器有液壓型的,由液壓控制,主要零部件有制動盤、分泵、制動鉗、油管等。盤式制動器散熱快、重量輕、構造簡單、調整方便。特別是高負載時耐高溫性能好,制動效果穩定,而且不怕泥水侵襲,在冬季和惡劣路況下行車,很多轎車採用的盤式制動器有平面式制動盤、打孔式制動盤以及劃線式制動盤,其中劃線式制動盤的制動效果和通風散熱能力均比較好。
盤式制動器沿制動盤向施力,制動軸不受彎矩,徑向尺寸小。
用途
盤式制動器已廣泛套用於轎車,現在大部分轎車用於全部車輪,少數轎車只用作前輪制動器,與後輪的鼓式制動器配合,以使汽車有較高的制動時的方向穩定性。在商用車中,目前盤式制動器在新車型及高端車型中逐漸被採用。
主要組成
制動盤
1. 制動盤直徑
制動盤直徑D應儘可能取大些,這時制動盤的有效半徑得到增加,可以降低制動鉗的夾緊力,減少襯塊的單位壓力和工作溫度。受輪輞直徑的限制,制動盤的直徑通常選擇為輪輞直徑的70%一79%。總質量大於2t的汽車應取上限。
2. 制動盤厚度
制動盤厚度對制動盤質量和工作時的溫升有影響。為使質量小些,制動盤厚度不宜取得很大;為了降低溫度,制動盤厚度又不宜取得過小。制動盤可以做成實心的,或者為了散熱通風的需要在制動盤中間鑄出通風孔道。一般實心制動盤厚度可取為10—20mm,通風式制動盤厚度取為20~50mm,採用較多的是20—30mm。在高速運動下緊急制動, 制動盤會形成熱變形, 產生顫抖。為提高制動盤摩擦面的散熱性能, 大多把制動盤做成中間空洞的通風式制動盤, 這樣可使制動盤溫度降低20 %~30%。
摩擦襯塊
摩擦襯塊是指鉗夾活塞推動擠壓在制動盤上的摩擦材料。摩擦襯塊分為摩擦材料和底板,兩者直接壓嵌在一起。
摩擦襯塊外半徑只與內半徑及推薦摩擦襯塊外半徑與內半徑的比值不大於1.5。若此比值偏大,工作時襯塊的外緣與內側圓周速度相差較多,磨損不均勻,接觸面積減少,最終導致制動力矩變化大。
對於盤式制動器襯塊工作面積A,推薦根據制動襯塊單位面積占有的汽車質量在1.6~3.5(千克╱平方厘米)範圍內選用。
制動盤用合金鋼製造並固定在車輪上,隨車輪轉動。分泵固定在制動器的底板上固定不動,制動鉗上的兩個摩擦片分別裝在制動盤的兩側,分泵的活塞受油管輸送來的液壓作用,推動摩擦片壓向制動盤發生摩擦制動,動作起來就好像用鉗子鉗住旋轉中的盤子,迫使它停下來一樣。
鉗盤式制動器
在鉗盤式制動器中,由工作面積不大的摩擦塊與其金屬背板組成制動塊。每個制動器中一般有2~4 塊。這些制動塊及其促動裝置都裝在橫跨制動盤兩側的夾鉗形支架中,稱為制動鉗。鉗盤式制動器散熱能力強,熱穩定性好,故廣泛套用於大多數轎車和輕型貨車上。
鉗盤式制動器按制動鉗的結構型式可分為定鉗盤式和浮鉗盤式兩種。
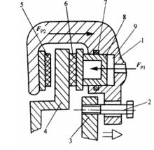
定鉗盤式制動器
圖2 定鉗盤式如圖2所示為定鉗盤式制動器的結構示意圖。
制動盤1 固定在輪轂上,制動鉗5 固定在車橋上,既不能旋轉也不能沿制動盤軸向移動。制動鉗內裝有兩個制動輪缸活塞2,分別壓住制動盤兩側的制動塊3。當駕駛員踩下制動踏板使汽車制動時,來自製動主缸的制動液被壓入制動輪缸,制動輪缸的液壓上升,兩輪缸活塞在液壓作用下移向制動盤,將制動塊壓靠到制動盤上,制動塊夾緊制動盤,產生阻止車輪轉動的摩擦力矩,實現制動。
浮鉗盤式制動器
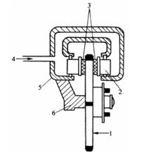
圖3 浮鉗盤式浮鉗盤式制動器的制動鉗是浮動的,可以相對於制動盤軸向移動。如圖3所示為浮鉗盤式制動器的結構示意圖。
制動鉗1一般設計成可以相對於制動盤4軸向移動。在制動盤的內側設有液壓油缸9,外側的固定制動塊5附裝在鉗體上。制動時,制動液被壓入油缸中,在液壓作用下活塞向左移動,推動活動制動塊也向左移動並壓靠到制動盤上,於是制動盤給活塞一個向右的反作用力,使活塞連同制動鉗體整體沿導向銷2向右移動,直到制動盤左側的固定制動塊5也壓到制動盤上。這時兩側制動塊都壓在制動盤上,制動塊夾緊制動盤,產生阻止車輪轉動的摩擦力矩,實現制動。
全盤式制動器
圖4 全盤式如圖4所示為全盤式制動器的結構示意圖。
在重型載貨汽車上,要求有更大的制動力,為此採用全盤式制動器。全盤式制動器摩擦副的固定元件和旋轉元件都是圓盤形的,分別稱為固定盤和旋轉盤。制動盤的全部工作面可同時與摩擦片接觸,其結構原理與摩擦離合器相似。
性能特點
與鼓式制動器相比,盤式制動器工作表面為平面且兩面傳熱,圓盤旋轉容易冷卻,不易發生較大變形,制動效能較為穩定,長時間使用後制動盤因高溫膨脹使制動作用增強;而鼓式制動器單面傳熱,內外兩面溫差較大,導致制動鼓容易變形,同時長時間制動後,制動鼓因高溫而膨脹,制動效能減弱。另外,盤式制動器結構簡單,維修方便,易實現制動間隙自動調整。
盤式制動器的不足之處在於摩擦片直接作用在圓盤上,無自動摩擦增力作用,制動效能較低,所以用於液壓制動系統時若所需制動促動管路壓力較高,須另行裝設動力輔助裝置;兼用於駐車制動時,加裝的駐車制動傳動裝置比鼓式制動器要複雜,因而在後輪上的套用受到限制。
工作原理
制動時,油液被壓入內、外兩輪缸中、其活塞在液壓作用下將兩制動塊壓緊制動盤,產生摩擦力矩而制動。此時,輪缸槽中的矩形橡膠密封圈的刃邊在活塞摩擦力的作用下產生微量的彈性變形。放鬆制動時,活塞和制動塊依靠 密封圈的彈力和彈簧的彈力回位。由於矩形密封圈刃邊變形量很微小,在不制動時,摩擦片與盤之間的間隙每邊只有0.1mm左右,它足以保證制動的解除。又因制動盤受熱膨脹時,其厚度只有微量的變化,故不會發生“托滯”現象。矩形橡膠密封圈除起密封作用外,同時還起到活塞回位和自動調整間隙的作用。如果制動塊的摩擦片與盤的間隙磨損加大,制動時密封圈變形達到極限後,活塞仍可繼續移動,直到摩擦片壓緊制動盤為止。解除制動後,矩形橡膠密封圈將活塞推回的距離同磨損之前相同,仍保持標準值。
優缺點
優點
一般無摩擦助勢作用,因而制動器效能受摩擦係數的影響較小,即效能較穩定;浸水後效能降低較少,而且只須經一兩次制動即可恢復正常;在輸出制動力矩相同的情況下,尺寸和質量一般較小;制動盤沿厚度方向的熱膨脹量極小,不會象制動鼓的熱膨脹那樣使制動器間隙明顯增加而導致制動踏板行程過大;較容易實現間隙自動調整,其他保養修理作業也較簡便。
1、熱穩定性較好。因為制動摩擦襯塊的尺寸不長,其工作表面的面積僅為制動盤面積的12%~6%,故散熱性較好。
2、水穩定性較好。因為制動襯塊對盤的單位壓力高,易將水擠出,同時在離心力的作用下沾水後也易於甩掉,再加上襯塊對盤的擦拭作用,因而,出水後只需經一、二次制動即能恢復正常;而鼓式制動器則需經過十餘次制動方能恢復正常制動效能。
3、制動力矩與汽車前進和後退行駛無關。
4、在輸出同樣大小的制動力矩的條件下,盤式制動器的質量和尺寸比鼓式要小。
5、盤式的摩擦襯塊比鼓式的摩擦襯片在磨損後更易更換,結構也較簡單,維修保養容易。
6、制動盤與摩擦襯塊間的間隙小(0.05~0.15mm),這就縮短了油缸活塞的操作時間,並使制動驅動機構的力傳動比有增大的可能。
7、制動盤的熱膨脹不會像制動鼓熱膨脹那樣引起制動踏板行程損失,這也使間隙自動調整裝置的設計可以簡化。
缺點
盤式制動器有自己的缺陷。例如對制動器和制動管路的製造要求較高,摩擦片的耗損量較大,成本貴,而且由於摩擦片的面積小,相對摩擦的工作面也較小,需要的制動液壓高,必須要有助力裝置的車輛才能使用是效能較低,故用於液壓制動系統時所需制動促動管路壓力較高,一般要用伺服裝置。
制動比較粗暴。兩個粘有摩擦襯面的摩擦盤能在花鍵軸上來回滑動,是制動器的旋轉部分。當制動時,能在極短時間使車輛停止。再加上壓盤上球槽的傾斜角不可能無限大,所以制動不平順。
故障診斷
氣壓表問題
氣壓表壓力上升緩慢的原因有:(a)管路漏氣。(b)氣泵工作不正常;(c)單向閥鏽蝕、卡滯;(d)油水分離器放油螺栓未關緊或調壓閥漏氣。
出現這種問題,可用這些方法解決: 首先應排除管路漏氣,再檢查氣泵工作狀態。將氣泵出氣管拆下,用大拇指壓緊出氣口,若排氣壓力低,說明氣泵有故障。若氣泵工作狀態良好,再檢查油水分離器放油螺塞或調壓閥,避免旁通,通過檢查排除故障。最後再檢查三通接頭中的兩個單向閥,單向閥卡滯會造成儲氣筒不能進氣或進氣緩慢。
制動力問題
制動力疲軟,不總的原因有 :(a)制動器漏油;(b)制動油路中有空氣;(c)輪轂油封破損,鉗盤上有油污;(d)制動嚴重磨損,摩擦面燒損;(e)氣路氣壓調整過低。
解決方法:
1、改變制動襯塊材料
可換用稍軟的制動襯塊材料,使摩擦係數相對得到提高,制動力變大。
2、清除制動襯塊排屑槽中的異物
如果制動襯塊的排屑槽被異物覆蓋,制動時將失卻排出塵土、颳去水分的作用,使制動力降低。
制動後跑偏
跑偏的直接原因是兩側車輪的制動力矩不等所致,常見的故障原因:(a)制動鉗盤油污嚴重,摩擦系統數嚴重下降,造成制動力矩不平衡,此時應清除制動鉗盤上的油污;(b)分泵活塞卡滯不能工作。靜車踩制動,觀察分泵工作情況,視情拆檢。
制動發卡
故障現象:裝載機起步行走吃力,停車後用手觸摸鉗盤,鉗盤發熱。主要原因:
(a)摩擦片停車後用手觸摸鉗盤,鉗盤發熱。主要原因:
(b)摩擦片磨耗變薄,防塵圈損壞進水,活塞鏽蝕卡滯;
(c)加力泵中的復位彈簧疲軟或折斷,高壓油不能加流。
加力泵問題
加力泵噴出制動液。故障現象:踩制動時,有油霧噴出。產生原因:
(a)剎車燈開關損壞,高壓油從開關接口處噴出,更換開關即可解決。
(b)加力泵活塞桿長度過大。這種情況在新換加力泵總成時有可能出現,其原因為:活塞桿調整過長,造成加力泵工作時,活塞行程過大,制動液從泄油孔回流至加力泵內並噴出。安裝時應測量活塞工作行程,以確定活塞桿的長度。
制動液問題
植物油型制動液無法滿足盤式制動器的使用要求,因此必須使用高沸點的合成制動液。但是,合成制動液具有吸水特性。在某些使用條件中,沸點下降很快。為防止制動液沸點的明顯下降,一般常採用以下一些措施:
(1)定期更換制動液。夏季3個月或行駛smarttags"/>5000km;冬季6個月或行駛1000km後,即將制動液更新。
(2)不同性質的制動液不可互換使用或混用。
(3)密閉保存制動液。要限制制動液溫度升高,應保證活塞能靈活地自動回位,避免因鏽蝕、發卡使制動器打滑或發咬。當制動襯塊磨耗過多時,傳到制動液的熱量也會迅速增加。因此,應及時更換磨耗了的制動襯塊。
噪聲問題
制動時,若有“嗄吱、嗄吱”的噪聲時,可採用下述方法排除:
1、在制動器鉗體活塞和制動襯片之間,加一防噪聲片,使活塞上形成一傾斜度。從而保證制動時制動襯塊和制動盤柔性接觸,使制動襯塊在正常磨損狀態下無異常噪聲出現。
2、選擇材質軟些、密度小些的制動襯塊材料。
3、制動時,制動襯塊向一側移動,可能出現撞擊聲響。這是由於制動襯塊和鉗體之間的間隙過大所致,可用鍍覆焊錫的方法消除間隙。但須注意,應使焊錫鍍覆在與行駛方向相反的一側,防止在制動力的作用下失效。
前輪軸承損壞
制動鉗體一般裝配在轉向節後側,這可使制動時相對地減輕前輪軸承的負荷。但是,有的車型把鉗體裝於軸的前方,加重了前輪軸承的合成載荷,容易造成前輪軸承的提前損壞。因此,對於採用這種結構的車輪,應適時地進行調整和檢修。
檢修
用百分表檢測制動盤的斷面跳動誤差大於0.06mm,制動盤表面具有明顯的磨損台階及拉傷溝槽,可進行加工修復。
檢查制動盤的磨損極限厚度為8mm,厚度低於此標準時應該更換新配件。
檢查制動蹄摩擦片厚度小於7mm(包括底板)時,必須更換摩擦片,且左,右輪必須成套更換(4片摩擦片,4片彈簧片)。
檢查制動鉗體,若發現有漏油之處,應換用新的活塞密封圈。

