簡介
制動器是指產生制動力矩、用以阻礙車輛運動或運動趨勢的力的部件。目前汽車中多採用摩擦式制動器,它利用固定元件與旋轉元件工作表面的摩擦產生制動力矩。
根據安裝位置的不同,制動器可分為車輪制動器和中央制動器。旋轉元件固定在車輪或半軸上的制動器稱為車輪制動器;旋轉元件固定在傳動系統傳動軸上的制動器則稱為中央制動器。車輪制動器一般用於行車制動,也有兼用於應急制動和駐車制動的;中央制動器一般只用於駐車制動和緩速制動。
根據旋轉元件的不同,摩擦制動器可分為鼓式和盤式兩大類。鼓式制動器摩擦副中的旋轉元件為制動鼓(brake drum),以其圓柱面為工作表面;盤式制動器摩擦副中的旋轉元件為圓盤狀的制動盤(brake disc),以其端面為工作表面。
盤式制動器又根據其固定元件結構形式的不同,分為鉗盤式制動器和全盤式制動器。全盤式制動器摩擦副的固定元件和旋轉元件都是圓盤形的,分別稱為固定盤和旋轉盤。制動盤的全部工作面可同時與摩擦片接觸,其結構原理與摩擦離合器相似。
分類
鉗盤式制動器散熱能力強,熱穩定性好,故廣泛套用於大多數轎車和輕型貨車上。
鉗盤式制動器按制動鉗的結構型式可分為定鉗盤式和浮鉗盤式兩種。
定鉗盤式制動器
定鉗盤式制動器的制動鉗固定安裝在車橋上,既不能旋轉,也不能沿制動盤軸線方向移動,因而其中必須在制動盤兩側都裝設制動塊促動裝置(例如相當於制動輪缸的液壓缸),以便分別將兩側的制動塊壓向制動盤。
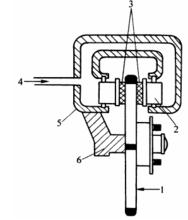
如圖1所示為定鉗盤式制動器的結構示意圖。制動盤1 固定在輪轂上,制動鉗5 固定在車橋上,既不能旋轉也不能沿制動盤軸向移動。制動鉗內裝有兩個制動輪缸活塞2,分別壓住制動盤兩側的制動塊3。當駕駛員踩下制動踏板使汽車制動時,來自製動主缸的制動液被壓入制動輪缸,制動輪缸的液壓上升,兩輪缸活塞在液壓作用下移向制動盤,將制動塊壓靠到制動盤上,制動塊夾緊制動盤,產生阻止車輪轉動的摩擦力矩,實現制動。
定鉗盤式制動器中液壓缸的結構域製造工藝都與一般制動輪缸相近,故在20世紀50年代中期盤式制動器問世時即採用了這種結構,直到60年代末仍然盛行。但是,這種制動器存在著以下缺點:
1)液壓缸較多,使制動鉗結構複雜;
2)液壓缸分置於制動盤兩側,必須用跨越制動盤的鉗內油道或外部油管來連通。這必然使得制動鉗的尺寸過大,難以安裝在現代化轎車的輪輞內;
3)熱負荷大時,液壓缸(特別是外側液壓缸)和跨越制動盤的油管或油道中的制動液容易受熱汽化;
4)若要兼用於駐車制動,則必須加裝一個機械促動的駐車制動鉗。
圖1 定鉗盤式制動器
圖2 浮鉗盤式制動器這些缺點使得定鉗盤式制動器難以適應現代汽車的使用要求,故自2世紀70年代以來,逐漸讓位於浮鉗盤式制動器。
浮鉗盤式制動器
浮鉗盤式制動器的制動鉗一般設計的可以相對制動盤軸向滑動。其中只在制動盤的內側設定液壓缸,而外側的制動塊則附裝在鉗體上。
圖2為浮鉗盤式制動器的結構示意圖。制動鉗支架3固定在轉向節上,制動鉗體1與支架3可沿導向銷2軸向滑動。制動時,活塞8在液壓力p1的作用下,將活動制動塊6(帶摩擦塊磨損報警裝置)推向制動盤4.與此同時,作用在制動鉗體1上的反作用力p2推動制動鉗體沿導向銷2向右移動,使固定在制動鉗體上的固定制動塊5壓靠到制動盤上。於是,制動盤兩側的摩擦塊在p1和p2的作用下夾緊制動盤,使之在制動盤上產生於運動方向相反的制動力矩,促使汽車制動。
與定鉗盤式制動器相反,浮鉗盤式制動器的單側液壓缸結構不需要跨越制動盤的油道,故不僅軸向和徑向尺寸較小,有可能布置得更接近車輪輪轂,而且制動液受熱汽化的機會較少。
此外,浮鉗盤式制動器在兼充行車和駐車制動器的情況下,不用加設駐車制動鉗,只須在行車制動鉗液壓缸附近加裝一些用以推動液壓缸活塞的駐車制動機械傳動零件即可。
特點
優點
盤式制動器與鼓式制動器相比有較多其優點:
(1)盤式制動器工作表面為平面且兩面傳熱,圓盤旋轉容易冷卻,不易發生較大變形;
(2)無助勢作用,制動器效能受摩擦係數影響小,制動性能較為穩定;
(3)制動盤沿厚度方向熱膨脹量小,即使長時間使用後制動盤因高溫膨脹,也會使制動作用增強;
(4)尺寸和質量小;
(5)容易實現自動調整間隙,維修簡便;
(6)浸水後效能降低小,只須一、二次制動可恢復正常。
缺點
盤式制動器的不足之處在於摩擦片直接作用在圓盤上,無自動摩擦增力作用,制動效能較低,所以用於液壓制動系統時若所需制動促動管路壓力較高,須另行裝設動力輔助裝置;兼用於駐車制動時,加裝的駐車制動傳動裝置比鼓式制動器要複雜,因而在後輪上的套用受到限制。

