簡介
台灣地處北回歸線附近,島內叢林茂密,加之中央山脈縱貫南北,地形十分複雜。高山族等台灣先民在島內居住生活時,經常要在藤類密布的山林中跋涉,因此發明了既鋒利又實用、同時經得起粗重操作的番刀,其造型與結構都是原住民歷年來叢林生活經驗的積累,比起其他刀具,更加適合島內多變的地貌環境。 高山族是由泰雅、排灣、阿美、布農、卑南、魯凱、曹、賽夏、雅美等9個族群部落組成的,各族居住地區、生活習慣、語言及文化特徵各不相同,對於番刀的稱呼也大相逕庭:泰雅人稱其為lalao,排灣人則稱為takit,魯凱族稱為lab,卑南、阿美、雅美分別稱為dalaw、vunos和 pararowai,而鄒族則稱其pojava,布農語和賽夏語稱為shinhaiday和malat。因為過去將各原部族統稱為“番民”,所以高山族刀也統稱為番刀。
番刀因產地和用途的不同,種類頗多,形制各異。其中最為著名的是泰雅人使用的銅門刀,以其產地花蓮縣秀林鄉銅門村而得名,東部各地多有使用。埔里刀主產地在南投縣埔里鎮,泰雅、布農族都有使用,刀形類似直刀,刀身短,刀面寬。而南投縣水裡鎮出產的則稱為水裡刀,主要由布農族與鄒族使用,刀形前大後小,重心接近刀尖處。此外還有六龜刀、霧台刀、台東刀,產地分別在高雄縣六龜鄉和台東縣南王部落,刀形大同小異,使用者主要有排灣與魯凱、卑南等族。不過,一般意義上所說的番刀,還是指銅門刀而言。
番刀根據用途不同,大小各異。通常泰雅族成年男子所佩腰刀一般全長48cm左右,其中柄長約16cm。但無論大小,
結構
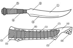
上圖:①刀體;②刀背;③刀刃;④刀柄; ⑤刀柄纏線 下圖:⑴鞘室;⑵鞘口;⑶穿線繩孔(兩對);⑷收線槽;⑸滴水角;⑹鐵線;⑺、⑻鞘身上的陰刻紋飾 刀身是一把刀的主體,可以細分為刀莖、刀體、刀刃和刀背。番刀的加工過程與一般刀具並無大異。以銅門刀為例,開始是選擇材料,然後以紅爐加熱至500℃以上,以鐵錘手工將其敲平,經過反覆多次鍛打,將多餘雜質去除,打制出刀形後,再對其表面進行拋光加工,然後裝上木柄,開刃磨礪後便為半成品,同時鑿制刀鞘,打眼、穿鐵線、刻花並油漆上色。在進行最後的裝飾之後,一把嶄新的番刀便大功告成了。其他種類的番刀加工過程也與此類似。
刀柄選材主要考慮其硬度高、質量小、不易龜裂及莖部髓心大(易與刀莖相結合),大多選取檜木、樟木來製作。番刀刀柄多呈前細後粗的圓筒形,刀柄末端膨大呈球狀,外形簡潔實用。刀柄表面刻有環形細槽,並纏有銅線或紗線,現代產品也有以尼龍線或傘繩纏柄的,目的是使刀柄與手掌貼合緊密,使用時不易滑脫。有些實用性的番刀,刀柄象大陸南方柴刀一樣,直接用鐵片卷打而成並與刀身末端鍛合在一起。刀鞘選材也很講究,要求其具備質量輕、易雕刻、不變形等特點,鹽膚木、苦楝樹等都是首選。
早期原住民手工加工的番刀,由於設備和工藝的限制,刀身多半有些凹凸不平,那是鐵錘敲打後留下的痕跡,而且材質往往不夠純淨,一經使用後便很快生鏽,這也是保存至今的早期番刀大多刀身遍布銹坑的原因。早先製作番刀所用的鋼材,都是向平原地區的漢人購買或交換而來的。在日據時期,由於鋼鐵缺乏,甚至使用盟軍轟炸後遺留的彈片制刀。有些工匠至今還保留著用火車減震鋼板來打刀的習慣,據說這種番刀結實而且鋒利,可砍斷鐵絲而刀刃無傷。現在銅門等地制刀所用材料,都是從城市購買的工業成品,其質量與當年相比已不可同日而語。特別是以旅遊紀念品形式出現的番刀,大多是用不鏽鋼等材料以現代機械及工藝製造,刀身硬度尚佳但缺乏彈性,往往只有觀賞價值而並不實用。
最早的鐵制番刀大約出現在17世紀,在鄭成功收復台灣前後。從那時起,高山族原住民與大陸之間的交往才開始頻繁,引進了鐵制工具和一些先進的生產技術。這與原住民傳說中番刀最早是從漢族鐵匠那裡得到的說法不謀而合。在島內長期生產生活實踐中,番刀不斷進行演進,加之受到馬來及小琉球群島文化的影響,從而逐漸形成了一些不同於其他民族刀具的獨有特點。
三種常見的刀柄形式:①纏線木柄;②環首木柄;③一體鐵柄番刀的刀鞘形制更加獨特。這種罕見的單面刀鞘是用一整塊木料鑿制而成,鞘室全部暴露在外,鞘身兩側邊緣打有若干對小孔並穿有鐵線,防止刀身插入後脫落。鞘底有兩對大孔,線繩從孔中依次穿過,最後在收線槽處打結,用來將刀鞘固定在腰間以利於攜行。刀鞘的這種獨特設計是因為台灣本身地理環境使然:一是島內多雨,單面刀鞘鞘內不易積水,而且鞘身下方有兩個突起,稱為滴水角,雨水可以順勢流下;此外,高海拔地區溫度較低,刀身沾上動物油脂後,容易凝結在鞘內不易拔出,單面刀鞘則避免了這方面的問題。
台灣原住民部落擅長傳統手工藝,所有的實用品同時也都是工藝品,番刀也不例外,木雕、夾彩織布、綴珠、刺繡等工藝在番刀的裝飾上都有體現。北、中部的泰雅、賽夏、布農、曹等族番刀上的雕飾較為簡單,多為簡潔的陰刻線條。泰雅族多為斜交紋、平行線紋、鋸齒紋等,刻線內塗成黑色;布農與曹族習慣在刀鞘、弓背上刻以三角形缺口或點紋,同時作為狩獵的紀錄。南部排灣、雅美和魯凱等族雕飾技術相對發達,尤其以排灣族雕刻為最,包括浮雕、透雕或立體雕刻多種技法,圖案多為人像、動物及繩紋、菱紋等,而雅美族則以精緻的浮雕刀鞘而著稱。
意義
番刀番刀在台灣歷史中同樣占有一席之地。在歷次反抗外來侵略者的戰鬥中,番刀始終是最主要的武器之一。在1641 至1643年間,島內先後有58個高山族部落起義,以番刀和弓箭來抵抗荷蘭殖民者。1930年10月27日,南投縣霧社泰雅族部落發起了著名的“霧社起義”,用番刀砍死包括“台中州”理蕃顧問管野政衛在內的日本侵略者137人,繳獲步槍130餘支、槍彈2萬餘發。雖然在大批日本軍警和飛機、毒氣的聯合“圍剿”下,起義在堅持40天后最終失敗,但番刀卻從此成為台灣軍民抵抗外來侵略的象徵。
二戰開始後,日軍鑒於高山族同胞的驍勇善戰和對叢林生活的適應能力,便挑撥和誘使一些原住民加入所謂的“台灣義勇隊”,為日本充當炮灰。許多番刀跟隨主人加入了日軍在南洋的作戰部隊,其中以泰雅人居多,而且大多加入傘兵等特種作戰部隊,番刀因此也被稱作“高砂刀”(泰雅族原名高砂族)或“義勇刀”。其中一些被美軍繳獲後,曾被認為是日本專為傘兵部隊開發的刀具。近些年來,這段不光彩的“僱傭兵” 歷史又被某些別有用心的台獨分子重新拾起。2001年11月李登輝到台中縣助選時,就曾借這段歷史,向原住民“立委”候選人贈送番刀,聲稱要以番刀砍掉“政治的亂源”,其台獨嘴臉昭然若揭。
隨著島內生活的現代化,番刀的打制和使用這一高山族原住民的傳統技藝,也正面臨著消失的危險。不過目前台灣很多有識之士已經意識到了這一點,正在致力於蒐集整理和保留這一傳統文化。目前島內仍有數家以傳統工藝打制番刀
番刀製作工序

▲以傳統方式手工製作番刀的生產流程:①紅爐將刀身加熱;②打製成的刀身毛坯;③將刀身拋光後裝上木柄;④以手工將整塊木料鑿製成刀鞘;⑤手工打制的番刀每把均不完全相同,木鞘必須“量身訂做”,因此是“一刀一鞘”;⑥經過裝飾後的成品番刀
徐渭【沈叔子解番刀為贈二首】
沈子報仇塞外行,一詫便得千黃金。
買馬買鞍意不愜,更買五尺番家鐵。
鏤金小字半欲滅,付與碧眼譯不出。
細瓦廠中多狐狸,京師夜行不敢西。
叔子佩之只一過,黃蒿連夜聞狐啼。
今年我從上谷行,中丞遺我聊癸庚。
買驢南歸只兩旬,只愁馬上逢黃巾。
叔子見我無所仗,解刀贈我行色壯。
畢竟還從水道歸,掛在篷窗兩相向。
一日十拔九摩挲,鞘影鱗鱗入向河。
須臾報導漁罩外,電腳龍騰五尺梭。
知君本有吞胡氣,太白正高秋不雨。
白蛇五尺自西來,出匣不多飛欲去。
佩此刀,向遼陽,土蠻畏死為君降。
閼氏縱有菱花鏡,斷卻蝤蠐那得妝。
君如佩此向上谷,而翁之死人共哭。
黃酋亦重忠義人,一見郎君悔南牧。
河套雲中盡虜庭,君如佩此去從軍。
不須血染鋒邊雪,但見旗褰馬上雲。
看君眼大額廣長,有如日月掛扶桑。
君有寶刀君自佩,解刀贈我不相當。
