基因構造
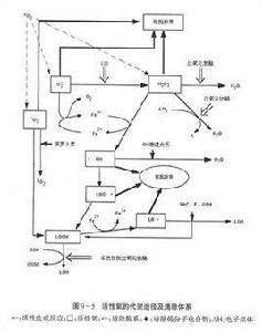
這些粒子相當微小,由於存在未配對的自由電子,而十分活躍。過高的活性氧水平會對細胞和基因結構造成損壞。活性氧,為含氧的,具有化學活性的分子。包括氧離子(oxygen ion)及過氧化氫(peroxide).因為核外的未配對電子的存在,具有很強的化學反應活性。ROS是正常氧代謝的副產物,並且在細胞信號傳導,和保持機體恆常性起很大作用。然而,在時間以及外界環境影響下(例,暴露於紫外線(UV exposure)或熱源(heat exposure)下等),ROS的量會急劇增多。引起這種改變的原因有可能是由於明顯的細胞結構的損壞。這種顯現,被稱為氧化應激。ROS也可能由外界的因素生成,如致電離輻射。
損傷防禦機制
通常,細胞都會通過酶(如,過氧化歧化酶superoxide dismutase等)的作用來減少ROS對細胞的損傷作用。某些小分子,如維生素C 維生素E,尿酸及谷胱甘肽也作為細胞抗氧化物質發揮著重要作用。與之相對,細胞外的抗氧化物質的作用小的多,在血漿中的最重要的抗氧化物質為 尿酸uric acid。

