簡介
中國已發現的規模最大、保存最完整的古代礦冶遺址。遺址在湖北省大冶縣境內,南北長約2公里,東西寬約1公里,遺留的煉銅爐渣40萬噸以上,占地14萬平方米左右,推算累計產銅不少於8~12萬噸.1973年開始發掘和研究,發掘出地下採區7處,採礦井巷近400條,古冶煉場3處,發現了一批煉銅爐。出土有用於採掘、裝載、提升、排水、照明等的銅、鐵、木、竹、石制的多種生產工具以及陶器、銅錠、銅兵器等遺物。遺址的年代,經14C測定,至遲始於西周末年,經春秋、戰國時期延續到漢代。遺址也發現有隋唐時期的文化遺物和宋代的冶煉場。就遺蹟考察,古代探礦方法,多採用淺井工程和重砂測量。重砂測量工具的形狀與近代相似,為船形、元寶形等大小不一的淘砂盤(圖1)。
銅綠山礦冶遺址井巷開拓和支護
由露天開採轉入坑采之初,開採規模小、勞動效率低,表現在井小、巷短、井多、巷少。到春秋晚期,開採系統則已相當完整。戰國至西漢時期地下開採深度已達60餘米,並延伸到潛水面以下23米(圖2)。
銅綠山礦冶遺址立井 (包括盲立井)斷面一般為正方形,少數為矩形。西周時期立井的淨斷面為 500×500毫米2左右。井壁為木支護,方框支架間隔排列,間距在400毫米左右。井框為榫卯套接方式,井框與圍岩間楔有一層木板,用來圍護井筒四壁。到戰國時期完全採用經過加工的方木(或圓木)密集式垛盤支護,井口淨斷面最大者達1.3×1.3(米),接頭為單平面親口接榫,加工整齊,尺寸劃一,架設後穩固持久,同近代的木結構井架相似。
斜井 (包括盲斜井)西周、春秋時期的斜井為普通型式的斜井,其支護結構與同期立井的支護結構一樣。戰國時期發展到階梯式斜井,由淨斷面900×900毫米2的“馬頭門”和900×1000毫米2的短巷組成。支護方式有兩種:一種井框支架垂直於斜井的底板,一種井框支架沿鉛直方向敷設,後者較多。兩種支護方式表明當時對斜井的支護已有了多方面的經驗。
平巷 西周、春秋時期的平巷支護與同期立井的支護結構相同。春秋時期平巷的淨斷面一般為 800×1000毫米2。戰國至西漢時期的平巷斷面較大(淨斷面最大者為1600×1950毫米2),距離較長,人可以直立行走(圖3)。與平巷相通的立井底部均設馬頭門結構。戰國至西漢時期的馬頭門高度一般為平巷淨高的一倍。
銅綠山礦冶遺址採掘工具
有石、木和金屬工具。西周至春秋時期的金屬工具為銅製,戰國以後為鐵制。出土的工具有石錘,木製的鏟(鍬)、槌、耙,銅製的鑿、钁,鐵制的鑿、錘、鋤、斧、耙等(圖4)。
銅綠山礦冶遺址地下採礦方法
同近代的支柱和支柱充填法基本相似。有五種具體方案:群井開採,後演變為方框支柱開採(分為單框豎分條開採──下向式,單層小方框開採──進路式),再演變為水平分層棚子支柱充填開採──上向式,此外還有橫撐支柱開採。群井開採 用垂直井筒直接進行回採。井筒打入礦體,下掘井筒就是回採過程。掘進終了即開採完畢。在西周時期的發掘點內,有由48個立井組成的井群。
單框豎分條開採 由地表下掘一個或數個井筒,邊掘邊采邊支護,視礦體賦存情況,立井掘到一定深度後開挖平巷。為了追蹤富礦再下掘盲井。
單層小方框開採 在井底掘進平巷或斜巷,追蹤富礦,邊掘邊采邊支護,為獨頭巷道式開採,一般是進路式的開採方法。
水平分層棚子支柱充填開採 採區分成若干水平分層,自下而上開採,分層隨回採的推進而用密集棚子來支撐。支柱與充填配合使用,採空區用手選出的廢石(夾石等)和低品位的銅礦石局部或全部充填。上下層支護的關係是下層棚子的頂梁即上層棚子的底梁,下層棚子的底梁敷設在底板的溝槽中。戰國至西漢的支護中,下層棚子的斷面比上層棚子的斷面寬,增加了穩固性。
橫撐支柱開採 由地表下掘立井進入富礦帶,再由井底向四周擴大,作上向梯段式回採。最大采幅約 5米。採空區由水平撐木和撐木間的垂直頂木支撐,呈多個П型。藉助П型結構,造成人工平台,落礦、出礦、提升均在平台上進行。
礦井提升和排水
礦井提升 出土的提升工具有木鉤、繩索、平衡石、轆轤軸等。戰國至西漢時期的木轆轤軸(圖5)長2500毫米、直徑 260毫米,可以橫架在井口。軸木的兩端砍成軸頭,以便安放在井口兩側的支架上。出土的裝載工具為竹筐、竹簍和藤簍(圖6)。
銅綠山礦冶遺址
銅綠山礦冶遺址
礦井排水 春秋時期的地下礦井就已經有比較完整的排水系統。水道有兩種:一種是利用廢棄的巷道或專設泄水巷道;另一種是貼平巷一側的背板鋪成排水木槽,彼此連線,置於地樑上。泄水巷道和木槽以一定的高差通向水倉或排水井,水由那裡提升到地面。用充填巷道的方法可以堵水和防水,減少匯水面積。
煉銅
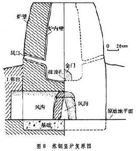
從發掘的煉銅遺址看,銅綠山早在2700多年前已經採用鼓風豎爐煉銅(圖7)。
銅綠山礦冶遺址
銅綠山礦冶遺址
銅綠山礦冶遺址
合適,大多在1.0~1.3之間,成分穩定,渣中含銅大部分小於0.7%,熔點大多在1100~1200℃之間,比重為3.5~4.0,1280℃的粘度為0.2帕斯卡·秒,流動性良好。銅綠山古礦井中的銅礦石可分三類:即鹼性礦石(含銅、二氧化矽低,含鐵高);酸性礦石(含銅、二氧化矽高,含鐵低);富銅礦石(主要是孔雀石)。然而,用其中任何一種礦石單獨冶煉都不能得到古代煉渣的成分,說明當時已掌握了配料技術,用不同種類的礦石相互搭配。③銅錠成分。古代遺留的銅錠和粗銅一般含銅量94%左右,含鐵量小於5.4%。(見彩圖)
銅綠山礦冶遺址
銅綠山礦冶遺址
銅綠山礦冶遺址
銅綠山礦冶遺址
