規格數據
基本性能
巴雷特M82A2的後坐力很小,這是因為一部分後坐能量作用於槍管、槍機和槍機框的向後運動及壓縮復進簧,另外,槍本身也吸收了部分後坐能量,但最主要還是其高效的槍口制退器減少了大部分的後坐力,這就保證了射擊時的舒適性及射擊精度。槍托底部還有一個特種橡膠後座墊,據說後坐感覺比12號口徑的霰彈槍要好,而後坐力明顯比7.62mm口徑的步槍要小。不過這個高效制退器有個缺點,就是每發射一發槍彈時從制退器噴出的火藥氣體都會在射手附近捲起大量塵土和鬆散顆粒。
![]() | ![]() |
M82A2可使用瞄準鏡和摺疊式準星來瞄準,以備瞄準鏡損壞時還能使用。美軍M82通常裝備LeupoldMark4望遠瞄準鏡,M82A2有長型戰術導軌和美軍光學望遠鏡,所以可用瞄準配件更多。所有的M82都有可摺疊式提把和兩腳架(M82A3中兩者可以拆下)。M82A3有分離式槍托,槍托內有柔軟填充物可以抵銷射擊后座力,M82A1和M82A3能裝於M3或M122三腳架(機槍用的)或是一些載具車輛上的【貝瑞塔巴雷特軟拖架】M82A2有摺疊準星然而實戰中M82很難用傳統準星瞄準因為重量和長度都太大
結構特徵
M82是氣動式半自動槍械,當擊發時槍管將會短距縮回(約一吋25mm) 後由迴轉式槍機安全鎖住。短暫後退後,槍栓被推入彎曲軌再扭轉把槍管解鎖。當栓機解鎖,槍機拉臂瞬間退回,槍管轉移后座力的動作完成循環。支後槍管固定且栓機彈回,彈出彈殼。當撞針歸位,槍機從彈匣引出一顆子彈並送進槍膛對準槍管。扳機彈回撞針後方位置。此槍的彈匣一次可裝10發,雖然也有12發彈匣的,但是第一次波灣戰爭後就沒有生產了。
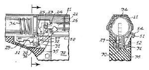
槍膛分兩部份(上部和下部),薄鋼板衝壓而成再用十字栓固定。槍管有凹孔增加散熱和減重,還裝有大而有效的槍口制動器。早期的槍口制動器是箭頭型,新的M82裝有雙膛直角箭頭制動器。
![]() | ![]() |
M82A2可使用瞄準鏡和摺疊式準星來瞄準,以備瞄準鏡損壞時還能使用。美軍M82通常裝備Leupold Mark 4望遠瞄準鏡,而M82A2)有長型戰術導軌和美軍光學望遠鏡所以可用瞄準配件更多。所有的M82都有可摺疊式提把和兩腳架(M82A3中兩者可以拆下)。M82A3有分離式槍托,槍托內有柔軟填充物可以抵銷射擊后座力,M82A1和M82A3能裝於M3或M122三腳架(機槍用的)或是一些載具車輛上的“巴雷特軟拖架”。M82A1有折疊準星,然而實戰中M82很難用傳統準星瞄準,因為重量和長度都太大。
M82A2不同於M82A1的地方大多數在於結構:握把和板機在彈匣之前,槍托提前到槍膛後面一點處,幾乎靠近彈匣。外加的前握把在靠近槍管的下方,瞄準鏡也往前移了一段距離。
![]() | ![]() |
發展歷史
步入正軌
美國M82A2狙擊步槍是由朗尼•巴雷特(RonnieBarrett)建立,以使用12.7×99mmNATO(.50BMG)口徑彈藥來發展的一種半自動狙擊步槍專案。該口徑彈藥原本是白朗寧M2重機槍所用,1980年代早期開始研發,1982年造出第一把樣槍,命名為M82,巴雷特繼續在1980年代研發,並於1987年發展出M82A2。
美國M82A2狙擊步槍第一張成功推銷的軍用訂單是瑞典於1989年採購100支M82A2,而最大及最成功訂單緊接在1990年,美軍宣布全面採用M82A2以於科威特的沙漠之盾和沙漠風暴行動中攻擊伊拉克軍,125支先配備於美國海軍陸戰隊,陸軍和空軍也接著訂購。M82A2也是美軍唯一的SASR—"特殊特殊用途狙擊步槍",可以用於反器材攻擊和引爆彈藥庫。M82具有超過1500米的有效射程,甚至有過2500米的命中紀錄,超高動能搭配高能彈藥(如RaufossMk211),可以有效毀掉雷達站、卡車、低空,停放的戰鬥機,直升飛機坦克。
等戰略物資,因此也稱為「反器材步槍」。美國M82A2狙擊步槍因為可以打穿許多牆壁,因此也用來攻擊躲在掩體後的人員,不過打人員並不是主要用途(其實所有類似.50口徑狙擊步槍都不是主用於攻擊有人員)。但是這種誤解使得出現許多戰場公約不準用.50口徑槍械攻擊人員以避免過於殘忍,新世代的射擊教官還想過用.50口徑瞄準人員的非要害或是輕輕擦過等方法。然而,美國陸軍JudgeAdvocate將軍辦公室頒布一條命令,.50口徑或RaufossMk211彈藥可以用來對付人員,因為戰場環境是瞬息萬變的,也牽涉到人命傷亡,有時無法用任何條約來限制。
更先進的M82A2犢牛式短槍管設計於1987年研發成功,減低后座力的設計使其可以手持射擊而不必使用兩腳架,但M82A2並沒有很成功地打入市場,很快就停產。然而2006年,巴雷特開始研發XM500,它的犢牛式設計也很類似M82A2。
裝備現狀
巴雷特M82A2的軍警用戶至少有30個國家,如比利時、智利、丹麥、芬蘭、法國、德國、希臘、以色列、義大利、牙買加、馬來西亞、墨西哥、荷蘭、挪威、菲律賓、葡萄牙、沙烏地阿拉伯、西班牙、瑞典、土耳其、英國及美國,M82A1亦是民間市場常見的50長程射擊競賽用槍,競賽標靶達1000碼(約900米)甚至更遠。
美軍裝備美國海岸防衛隊使用M82A2進行反毒作戰,有效的打擊了海岸附近的高速度運毒小艇。同樣地,巴雷特M82也受執法機關所愛用;包括紐約警察局,因為它可以很快地攔截車輛,50口徑一發就能打壞車子引擎,也能很快打穿磚牆和水泥,適合城市戰鬥。
此外海軍陸戰隊正在使用M82A3,海軍陸戰隊的M82A3與陸軍的M82A2基本上都是一樣的,但導軌的高度尺寸不一樣,而且槍托底部沒有單腳架。
電影情節
巴雷特M82出現於許多好萊塢電影中(如《海豹部》,《機器戰》,《邁阿密風雲》,《暗殺王》,《射手》 《藍波》 ,但都有所誇大其性能,誤解包含有能打下客機;但是M82實際上只能打中停放的飛機,只有超乎常人的射手才有可能在十發彈匣內打落高速飛行的飛機(假設在射程內)。在飛彈出現之前的二次世界大戰中,50口徑第一次成功用於空戰的空對空射擊,即使有許多缺點,美軍還是堅持用到1950年代,例如F-86戰鬥機上就有50機槍。而即使如此,也不代表零速度的人可以在地上用十發彈匣就打掉空中高速飛機,如果是固定盤鏇的直升機還稍有可能。
美國M82A2狙擊步槍其他國命名
| 國家 | 巴雷特M95手動狙擊步槍 |
| 丹麥 | 巴雷特M82A2半自動狙擊步槍 |
| 芬蘭 | 巴雷特M107半自動狙擊步槍 |
| 德國 | 巴雷特M82A2半自動犢牛式狙擊步槍 |
| 馬來西亞 | 巴雷特M82A2半自動狙擊步槍 |
| 挪威 | 巴雷特M82A2半自動狙擊步槍 |
| 瑞典 | 巴雷特M82A2半自動狙擊步槍 |
| 英國 | 巴雷特M82A2半自動狙擊步槍 |
| 荷蘭 | 巴雷特M99手動狙擊步槍和巴雷特M82A2半自動狙擊步槍 |
生產公司簡介
朗尼·巴雷特和他設計的武器朗尼·巴雷特(RonnieBarrett)原本只是美國田納西州的一名商業攝影師,從未受過任何火器設計訓練的一名槍械愛好者。1981年1月,一次偶然的機會,促使巴雷特決心設計一支大口徑半自動狙擊步槍。於是,從設計到製造,不足一年時間他就拿出了一支樣槍。接著巴雷特創建了自己的公司,並在1982年開始試生產,M82A1大口徑半自動狙擊步槍就正式“誕生”了。
朗尼·巴雷特與他設計的武器M82原型槍早期的M82A1,可以看出槍口裝置的設計與現在的型號明顯不同批量生產的M82A1,槍口裝置已經改進在當時,巴雷特狙擊步槍主要是面向民間市場,對其軍事套用未有足夠的重視。雖然在1983年,美國海軍採購了100支RAI500,但對於半自動狙擊步槍卻不太信任。到80年代中期,巴雷特在匡蒂科展示了M82A1的精度和威力,雖然未能引起海軍陸戰隊的太大的興趣,但巴雷特記住了軍方的要求,進行改進。海灣戰爭前夕,海軍陸戰隊的高級軍官對遠距離沙漠作戰步兵武器的配備進行了討論。顯然,M16步槍遠遠達不到要求,雖然有人提出重新使用有效射程更遠的7.62mm口徑M14步槍,但這只是權宜之計,最後E.T.庫克中將決定為海軍陸戰隊裝備一種射程更遠、威力更大的步槍。
1990年,巴雷特公司製造出符合軍方要求的50口徑軍用狙擊槍。同年10月,海軍陸戰隊選定M82A1作為遠距離殺傷武器,用於對付遠距離的單兵、掩體、車輛、設備、雷達及低空低速飛行的飛機等高價值的目標,爆炸器材處理分隊也用M82A1來排雷。巴雷特公司在接到訂單後,90天內就完成了100支步槍的定貨契約。
同時,美國陸軍也在尋找一種.50口徑的重型狙擊步槍。最初陸軍也選擇了一些鏇轉後拉式槍機的步槍進行試驗,因為鏇轉後拉式槍機的步槍比半自動步槍有更佳的精度。研究人員經過試驗覺得未如理想,因此他們開始在市場上尋找能自動裝填的候選型號。最後他們選擇了海軍陸戰隊正在使用的巴雷特M82A1,購買了100支。陸軍的人認為:如果其他政府機構已經在購買和使用某些產品,他們也跟著採購會是比較實惠的做法。隨後美國空軍也跟著購買了35支,再加上特種作戰司令部,美國軍隊在海灣戰爭在使用的M82A1超過了300支,而且表現優秀。英國國防部也於1990年12月為其爆炸器材處理分隊購買了少量的M82A1,同時根據英國的建議,巴雷特公司將原來的11發彈匣更改為10發彈匣,避免臥姿射擊時彈匣觸地。
經過海灣戰爭一役,大口徑狙擊步槍引起了各國軍隊的重視,同時也在世界輕武器生產商中掀起了一聲持久的大口徑狙擊步槍開發熱潮。巴雷特公司也根據不同的使用要求開發出一系列的狙擊步槍,大多數是發射.50BMG彈。同時也開發出一些相關的產品,如架座、攜槍袋等。







