粉磨機定義
粉磨機適用於重晶石、方解石、鉀長石、滑石、大理石、石灰石、白雲石、瑩石、石灰 、活性白土、活性炭、膨潤土、高嶺土、水泥、磷礦石、石膏、玻璃、保溫材料等莫氏硬度 不大於9.3級,濕度在6%以下的非易燃易爆的礦產、化工、建築等行業280多種物料的高細制 粉加工,成品粒度80—325目範圍內任意調節,部分物料最高可達600目。粉磨機廣泛套用與化工、礦山、鋼鐵、火電、煤炭等行業.凡用外力將大顆粒物料變成小顆粒物料的過程,都叫破碎,所使用的機械叫破碎機。凡用外力將小顆粒物料變成粉體物料的過程,叫粉碎或磨碎、簡稱粉磨。它所使用的機械叫粉磨機 (磨粉設備)。將破碎和粉磨聯合起來簡稱碎磨,所使用的機械簡稱碎磨機械。
粉磨機分類
粉磨機分原料粉磨和水泥粉磨兩種。有兩者都足鋼板製成的圓筒的球磨機(或管磨機),也有原料粉磨用立式的立磨。
球磨機的傳動有兩種方式,即中心傳動方式和側面傳動方式。小容量時用單電機傳動:大容量時,因受減速器的容量和應力等限制,可採用雙電機傳動方式。大型磨機多要求如下的轉矩特性:即起動轉矩為100%~150%;牽入轉矩(同步電動機)為100%~110%;最大轉矩為150%。
粉磨的電動機容量占全廠總容量的50%~~70%.所以其效率和功率因數等運轉特性、起動容量對電源的影響都很大。傳動電機有異步電動機(主要是繞線型)和同步電動機。繞線式異步電動機的起動方式常採用頻敏變阻器.湘浸起動變阻器、接觸器 電阻箱多級起動等方式。
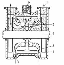
粉磨機工作原理
工作時,先由破碎機將大塊狀物料破碎到所需的進料粒度後,由畚斗提升機將物料輸送到儲料倉,然後由電磁振動給料機均勻地送到粉磨機的磨腔內,鏟刀在與磨輥同轉過程中把物料鏟起拋餵入磨輥磨環之間,形成墊料層,物料在磨輥與磨環之間研磨,由此達到制粉目的。粉磨後的粉子由風機氣流帶到分析機選粉,達到細度要求的細粉隨氣流經管道進入旋風收集器內,進行分離收集,再經卸料器排出即為成品粉子,氣流由旋風收集器上端迴風管吸入鼓風機。不合要求的粉子被葉片拋向外壁與氣流脫離,粗粉顆粒因自身重力作用落入磨室進行重磨。
噴射粉磨機
下圖是美國P·M·C公司生產的噴射粉磨機的結構和工作原理示意圖。
噴射粉磨機可以看出,這種粉碎設備主要由重錘式衝擊部件、分級輪、風扇輪、螺旋給料機、轉子軸等組成。設備的兩端帶有通風機,空氣沿圖中箭頭所指的方向流動。在轉子軸的附近裝有分級葉片,借分級葉片的旋轉,使粗顆粒返回粉碎室,而已被磨碎的細顆粒則借氣流輸送通過分級葉片,再經過風扇室排到機外。
噴射粉碎機多用來對非金屬礦石和化工原料等進行細磨或超細磨,其產物粒度可通過改變轉子的轉速和分級葉片的長度來調節,也可以借改變風量進行調節。這種粉碎設備的產物平均粒度為10μm左右。
粉磨機的套用
主要適用於建材、化工、化肥、冶金、礦山、耐材、陶瓷、鋼鐵、火電、煤炭等行業粉磨莫氏硬度在9級以下,濕度在6%以下的各種非易燃易爆礦產物料,成品細度可在30目~400目任意調節。例如水泥(生熟料)、石英、長石、方解石、石膏、石灰石、白雲石、石墨、螢石、矽灰石、磷礦石、鈣鎂磷肥、尿素、電解金屬錳、錳鐵合金、煤、煤矸石、礦渣、鋯英砂、滑石、花崗岩、鉀長石、大理石、重晶石、陶瓷、玻璃等千餘種物料粉磨加工。
粉磨機使用費用比
在選礦工業中,選礦廠碎磨作業的生產費用,平均要占全部費用的40%以上,而磨碎作業的生產費用,平均要占全部費用的40%以上,而磨碎設備的投資占選礦廠總投資的60%左右。
在水泥工業中,水泥廠碎磨作用費用約占生產成本的20%,破碎機械的耗電量約占全廠總耗電量的10%,而粉體機械的耗電量則占60%。
隨著當代社會經濟的迅速發展,各種金屬、非金屬、化工礦物,以及水泥、建材等物料的社會需求量和生產規模日益擴大,需要碎磨的物料量迅速增加。90年代以來,全世界每年經過碎磨的物料量達到100億噸以上。我國脆性物料年產量已經達到15億多,其中鐵礦石約2.4億噸,有色金屬礦石1億多噸,非金屬礦物2.6億多噸,化工礦物0.3億多噸,水泥約4億多噸,建材用石灰石4.7億多噸。這些物料絕大部分都要經過碎磨,可見破碎和粉體工程在國民經濟中發揮著巨大的作用。

