簡介
用於清除附著在攔污柵上,影響發電或過流的水體垃圾(也稱污物)的機械設備。通常在污物較多的水庫或河道上,為保證水電站或泵站等水利設施能安全、正常地運行,常需設定清污機,以便在不停機和停水的情況下進行清污。清污機的型式有三大類:抓鬥式、迴轉齒耙式、耙斗式。通常針對水電站推薦使用的是耙斗式,其中增力耙斗式清污機又為水電站專用,該型清污機由機架、齒耙小車、電氣控制、移動機構(針對多水口)、排污機構和附屬設施等部分機構組成。該型清污機的設計要求:下得了水,抓得住垃圾,使用維護簡單,性能可靠;清污性能要求:保證水電站或泵站正常工作的情況下,清理大多數影響發電或過流的垃圾或污物。
機型系列介紹
| 1、耙斗式清污機――水電站專用清污機 a.基本工作原理如右圖所示 b.性能特點:半封閉斗室利於同時清理多種類型綜合性的水體垃圾, 兼有抓鬥式和齒耙式清污機的優點。 c.工況適應性:複雜工況適應性好。詳見《清污機選型參考表》 d.推薦為:水電站專用清污機的首選機型;以及工況惡劣,污物復 雜的水利設施清污機。 詳見《耙斗式(水電站專用)清污機選型參考表》 e.技術特色:獨立研發,有完整的理論參數、實驗參數、工程參數, 在此基礎上產品製造經驗豐富;專利技術以及非專利 特有技術套用,實現能清理所有類型的水體垃圾的全功能; 控制技術的套用創新,可供選擇手動、半自動、遠程控制、 全自動智慧型化的控制類型。 | 耙斗下行過程 | 耙斗上行過程 |
| 2、抓鬥式清污機――泵站及水利設施清污機 a.基本工作原理如右圖所示 b.性能特點:封閉斗室利於清理以粗大和數量眾多的漂浮型為主的 水體垃圾,優點是布置靈活,造價低。 c.工況適應性:工況適應較為單純。詳見《清污機選型參考表》 d.推薦為:以漂浮物為主的泵站;城市供排水粗過濾;要求不高的 水利設施清污機。 e.技術特色:參考在歐洲廣泛套用的荷蘭BOSKER的自動抓鬥式 清污機機型。進行了系列技術改進,增強了運行的穩定性, 提升清污性能,改進了排渣方式,以適應中國水工工況。 | 抓鬥下行過程 | 抓鬥上行過程 |
| 3、齒耙式清污機――市政供、排水及工業設施用清污機 a.基本工作原理如右圖所示:分繞柵迴轉和柵前迴轉兩種機型 b.性能特點:無斗室(或稱斗室開放),篦柵裝置有利於清理較小、 阻塞型垃圾,優點是連續工作性能好。 c.工況適應性:工況適應單純。詳見《清污機選型參考表》 d.推薦為:城市供排水系統;污水處理廠;火電廠循環水;工業水 處理等用途的清污機。 e.技術特色:根據工況條件和工作要求,選擇柵前迴轉或繞柵迴轉 機型,及不同類型的齒耙組合,可以達到很好的使用效果。 附設動齒攪動機構,防止底部泥沙淤積造成翻齒卡堵,減少 故障,有效彌補該型設備故障率高的缺陷。增加故障自檢自 排控制系統,減少故障停機及人工排除的工作量和檢修成本。 | 繞柵迴轉機型 | 柵前迴轉機型 |
選型參考
清污機選型參考表
分項對比三種機型的特點 | 耙斗式清污機 | 抓鬥式清污機 | 齒耙式清污機 | |
實際 工程 實驗 分項 目的 對比 | 漂浮型大垃圾 | 好 | 好 | 不能 |
漂浮型小垃圾 | 好 | 好 | 好 | |
漂浮型柔質纖維垃圾 | 好 | 較好 | 較好 | |
懸浮型阻塞垃圾 | 好 | 較差 | 好 | |
懸浮型塞柵垃圾 | 好 | 不能 | 差-有害 | |
懸浮型柔質纖維垃圾 | 好 | 不能 | 較差 | |
懸浮型粘性附著垃圾 | 好 | 差 | 好 | |
滾底型纖維筋垃圾 | 好 | 較差 | 差 | |
底部泥沙、滾石淤積 | 較好-多為間接清除 | 差 | 不能-有害 | |
過柵流速適應對比 | ≤8米/秒 | ≤1.8米/秒 | ≤1.5米/秒 | |
穩定有效的安全工作深度 | ≤50米 | 文獻60米,實際≤8米 | 文獻30米,實際≤10米 | |
單耙最大寬度 | 5米 | 無專用導軌3.5米 | 無中間工作鏈4米 | |
寬水口或多水口的適應性 | 好 | 好 | 差 | |
連續工作性能 | 較好 | 差 | 好 | |
工作效能 | 好 | 差 | 較好 | |
對攔污柵的配合與保護 | 好 | 差 | 較差 | |
同等水口同等工況造價 | 中 | 低 | 高(註:深度≤4米造價較低) | |
維護成本 | 中 | 低 | 高 | |
設計來源和性能特點綜述 | 機型來源是抓鬥式清污機。取消了直爪,形成半封閉斗室,直接與攔污柵配合。有效保留了對水面垃圾的抓取能力,在結構和工作原理上增加了穩定性。尤其是對真正影響過流和發電的懸浮型垃圾,變直戳為抓持,有效的改善了清污動力、和與柵配合、及解決了工作原理與水流矛盾、運行平穩性等問題,故清污效果好。再加之一些特有技術的套用,效果就很突出了。 | 機型設計來源是碼頭水面起重機,用封閉斗室抓取水面漂浮物。清污機抓鬥是該型起重機抓鬥的一個爪變形成直爪而來,保留了抓鬥的抓取漂浮物的功能。但對懸浮型柵體垃圾的清理,直爪工作運動與水流運動是矛盾的,缺少動力和貼附能力,特別是在水動工作環境下完成直戳清污,即便水流速度很低或靜水也缺少垃圾上爪動力,戳到了,也是推到底部,故效果並不好。 | 機型設計來源是鏈式或帶式傳送裝置。齒耙式清污機一般有三大類型:往復式;柵鏈迴轉式;鏈迴轉式。前兩種,逐步為國內外業界和理論界否定,模型實驗和工程實驗也支持這種否定。僅保留第三種的兩個機型(前述)。優點是連續工作性能好,但該齒耙式清污機只適用於流速低,垃圾粒度均勻,種類少的環境,對大垃圾和柔質垃圾缺少抓持和貼附清理能力。 | |
設備適用範圍 | 水電站專用清污機的首選機型――能有效匹配水頭、流量、過柵流速等水電站設計參數;以及工況惡劣,污物複雜的水利設施清污機。 | 流速較低,又以清除漂浮物為主的泵站;城市供排水粗過濾;要求不高,能停水或降低流量的水利設施清污機。 | 城市供排水系統;污水處理廠;火電廠循環水;工業水處理設施;以及流速低且均勻,垃圾種類少,形狀粒度均勻環境等用途的清污機。 | |
主要技術參數
A、清污機型號表示方法□ | □ | □ | □ | X | ― | □ | / | □ | ― | YYYY | ― | Z |
1 | 2 | 3 | 4 | 5 | 6 | 7 | 8 | 9 |
2——P-耙斗、Z-抓鬥、Q–齒耙柵前迴轉、R–齒耙繞柵迴轉
3——D-水電站專用、S-水利用、H-火電站用、G-工業用、Z-市政用、Q-其它用
4——Q-清污機
5——(X)設計序號1、2、3、4
6——G-固定型、D-移動型
7——Z-浮動自加壓、W-無自加壓、Y-液壓加壓、Q-氣壓加壓
8——(YYYY)齒耙寬度:見下表“選型的主要基本差數之1項”
9—— (ZZ)工作深度:見下表“選型的主要基本差數之2項”
示例:GPDQ2―G/Z―3000-中淺
鋼繩牽引耙斗式水電站專用清污機、第2代設計序列-固定型、浮動自加壓、齒耙寬度:3000型、工作深度:中淺型B、耙斗式清污機選型耙斗式(水電站專用)清污機選型參考表
類 | 序 | 參數和型號要素 | 名義稱謂 | 參數範圍 | 說明 |
選型的主要基本參數 | 1 | 齒耙寬度 (代表單耙寬度,同一名義稱謂,有固定型和移動型之分,標識在上一項的“6”) | 2000型 | 1m-2m | 1.實際尺寸按供貨契約及銘牌標示。 2.固定型和移動型機型,可根據工作要求和經濟性合理選擇,無特殊要求並不一定都要選特型設計。 |
3000型 | 2m-3m; | ||||
4000型 | 3m-4m | ||||
5000型 | 4m-5m | ||||
特型 | 5m-10m | ||||
2 | 清污機工作深度 ——垂直深度 | 淺水 | ≤6m | 實際尺寸按供貨契約及銘牌標示。 | |
中淺 | 6m-10m | ||||
中深 | 10m-15m | ||||
深水 | 15m-25m | ||||
特深 | 25m-50m | ||||
3 | 工作級別 | Q2-輕 | 不經常使用(如發電期) | 可根據水體垃圾數量,類型多少,使用需要確定。 | |
Q3-中 | 經常使用 (如發電期) | ||||
Q4-重 | 每天使用 (如發電期) | ||||
4 | 攔污柵相關參數 | 柵片截面尺寸 | 正常設計範圍60-140mm×6-14mm | 實際尺寸按供貨契約及銘牌標示。 | |
柵距 | 正常設計範圍30mm-300mm | 實際尺寸按供貨契約及銘牌標示。 | |||
攔污柵傾角 | 正常設計範圍60o -90o | 實際角度按供貨契約及銘牌標示。 | |||
峰值過柵流速 | 按設計參數或實際參數(含流向夾角) | 缺少參數可以峰值流量來計算 | |||
定型的主要參數 | 1 | 齒耙容積 | 實際容積稱謂 | 小0.3m3 -3 m3 ,大3 m3 -7 m3 | 由於篇幅有限,不能把上述不同參數,及工況條件和工作要求的每一具體機型的參數一一列出,完成選型和定型,同時結合下一項確定控制類型,一台具體型號,具體參數,控制類型的清污機才能確定。 |
2 | 小車升降速度 | 實際速度稱謂 | 3m-12m/min(根據需要選雙速) | ||
3 | 提耙速度 | 實際速度稱謂 | 1m-4.5m/min | ||
4 | 大車行走速度 | 實際速度稱謂 | 2m-18m/min(根據需要選雙速) | ||
5 | 主牽引電機 | 實際功率稱謂 | 4kW-13kW | ||
6 | 提耙牽引電機 | 實際功率稱謂 | 1.1kW-2.2 kW | ||
7 | 大車行走電機 | 實際功率稱謂 | 1.1kW-4kW | ||
控制類型 | 1 | 手動控制 | 手動 | 現場有線控制(下同) | 選擇控制類型,以及第幾代耙斗式清污機,技術人員推薦,供需協商來確定。 |
2 | 半自動控制 | 半自動 | 可增設有線或無線遠程及可視控制 | ||
3 | 全自動智慧型化 | 全自動 | 可增設有線或無線遠程及可視控制 |
序 | 主要選型參數 | 參數範圍 | 備註和說明 |
1 | 齒耙寬度 | 1m-3.5m | 齒耙寬度3.5m-5m要增設定位導軌,5m-10m要增設導軌槽;通常為移動型。 |
2 | 工作深度——垂直深度 | 1m-8m | 工程實驗結果,該機型對懸浮垃圾作用甚微,做深了既沒有意義、運行還不穩定。 |
3 | 工作級別 | Q2、Q3、Q4 | 參見《耙斗式(水電站專用)清污機選型參考表》工作級別項。 |
4 | 定型參數 | 各定型參數 | 由工程師協助完成。 |
D、齒耙式清污機選型
齒耙式清污機的選型簡表
序 | 主要選型參數 | 參數範圍 | 備註和說明 |
1 | 齒耙寬度 | 1m-4m | 齒耙寬度4m-6m要增設定中間鏈,否則耙的剛度和鏈槽強度不夠;只有固定型。 |
2 | 工作深度——垂直深度 | 1m-10m | 工程實驗結果,該機型工作深度在10m以內性能穩定,磨損和維護開支較經濟。 |
3 | 工作級別 | Q2、Q3、Q4 | 參見《耙斗式(水電站專用)清污機選型參考表》工作級別項。 |
4 | 定型參數 | 各定型參數 | 由工程師協助完成。 |
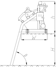
結構及布置尺寸
外型、結構及布置尺寸表序 | 機 型 | H | h | W | β | 機身寬度B |
1 | 耙斗式清污機 | 1.5m-50m | 2m-4.6m | 1.9m-4m | 60o -90o | 耙寬+約0.6m |
常用或理想參數 | 4m-25m | 2.5m-2.8m | 2.2m-2.5m | 75o ±1o -2o | 一般不受限制 | |
2 | 抓鬥式清污機 | 1m-8m | 3.5m-8m | 1m-2m | 60o -90o | 耙寬+約0.5m |
常用或理想參數 | 1m-6m | 4m-6m | 1.5m-2m | 70o -78o | 一般不受限制 | |
3 | 齒耙式清污機 | 1m-10m | 1.7m-3m | 1.5m-3m | 60o -90o | 耙寬+約0.4m |
常用或理想參數 | 1m-7m | 2m-2.5m | 2m-2.5m | 75o -85o | 一般不受限制 |
| 耙斗式清污機 | 耙斗式清污機 |
| 抓鬥式清污機 | 抓鬥式清污機 |
| 齒耙式清污機 | 齒耙式清污機 |
性能表
清污機的性能表序 | 項目 | 說明 | 性能參數 | 性能簡要描述 |
1 | 最大清污粒度範圍 | 剛性和異形 | 正常:小型φ≤330;中型φ≤440;大型φ≤550;最大φ≤770-1000。人工點動干預作業:≤粒度φ×1.5倍 | 可一網打盡的垃圾: l大:如汽油桶 l長:耙寬的2倍 l小:比柵距寬點 l細:比柵距小得多 在範圍,一起解決 |
2 | 最長清污長度範圍 | 剛性長桿和異形 | 正常工作狀態:耙寬×1.5倍;人工點動控制:耙寬×2倍;人工檢修檔點動控制,並工具協助:耙寬×3倍 | |
3 | 最小清污粒度範圍 | 剛性垃圾 | φ≥淨柵距 | |
柔質、纖維垃圾 | 淨柵距60以內;φ≥淨柵距×1/4 淨柵距120以內;φ≥淨柵距×1/6 淨柵距250以內;φ≥淨柵距×1/8 | |||
粘性、膠質垃圾 | 粘性組織能完全破壞 | |||
4 | 清理污物種類 | 漂浮型垃圾 | 參數範圍內的全部 | 能解決的垃圾種類: l泥、沙主要是疏排 l其它都在清理範圍 |
懸浮型垃圾 | 參數範圍內的全部 | |||
滾底型垃圾 | 異形團狀、剛性桿狀、柔質等能清;石塊≤耙斗容積,有抓持角能清;泥、沙疏導可清除。 | |||
5 | 影響發電的污物清理 | 懸浮型垃圾 | 參數範圍內全部 | 清理影響發電的垃圾: l影響發電的都能清 l不影響發電的也行 l超過設定還有辦法 |
滾底型垃圾 | 泥、沙是疏導清理。其它參數範圍內全部 | |||
漂浮型垃圾 | 粗略的認為不直接影響發電,參數範圍內全部 | |||
超越參數範圍的垃圾 | 把清污機做得過大、過精密,成本高、沒必要;系列專利配套技術可以柵前分類攔截、疏導、處理的,成本低效益好——技術人員會根據工況和要求配套設計。 |
性能對比
對應機型種類性能列表| 實際 工程 測試最新評價結果 | 性能測試課題項 | 抓鬥式 | 迴轉式 | 普通耙斗式 | 增力耙斗式 | 垃圾類別 | 影響環保 | 影響過流發電 |
| 漂浮型較大粒度垃圾 | 好 | 不能 | 好 | 好 | 漂浮類----很難看不影響發電 | 有 | 無 | |
| 漂浮型中小粒度垃圾 | 好 | 好 | 好 | 好 | 有 | 較小 | ||
| 漂浮型柔質纖維垃圾 | 較好 | 較好 | 較好 | 好 | 有 | 較小 | ||
| 懸浮型橫阻柵垃圾 | 較差 | 好 | 好 | 好 | 懸浮類----非常響發電,保過流、水頭重點解決 | 較小 | 有 | |
| 懸浮型卡塞柵垃圾 | 不能 | 差-有害 | 較好 | 好 | 無 | 有 | ||
| 懸浮型柔質纏繞垃圾 | 不能 | 較差 | 較差 | 好 | 有 | 有 | ||
| 懸浮型粘性附著垃圾 | 差 | 好 | 較好 | 好 | 有 | 有 | ||
| 滾底型纖維筋類垃圾 | 較差 | 差 | 較差 | 好 | 滾底類----影響發電 | 較小 | 有—直接及間接 | |
| 底部泥沙、滾石淤積 | 差 | 不能-有害 | 差 | 較好-多間接 | 無 | 有 |
註明:有工程實測數據支持,在此只做定性描述:
好:工作原理支持,實際能完成。
較好:工作原理支持,實際不能有效完成。
較差:工作原理不能有效支持,實際偶爾能完成。
差:工作原理不支持,實際不能完成。
不能:工作原理不支持,實際不能完成,並會造成清污機不正確工作。
有害:工作原理不支持,實際不能完成,並會造成清污機不正確工作,還會造成清污機故障或損壞。

耙斗下行過程
耙斗上行過程
抓鬥下行過程
抓鬥上行過程
繞柵迴轉機型
柵前迴轉機型
耙斗式清污機
抓鬥式清污機
齒耙式清污機