特點
液力耦合器是一種柔性的傳動裝置,與普通的機械傳動裝置相比,具有很多獨特之處:能消除衝擊和振動;輸出轉速低於輸入轉速,兩軸的轉速差隨載荷的增大而增加;過載保護性能和起動性能好,載荷過大而停轉時輸入軸仍可轉動,不致造成動力機的損壞;當載荷減小時,輸出軸轉速增加直到接近於輸入軸的轉速,使傳遞扭矩趨於零。液力偶合器的傳動效率等於輸出軸轉速與輸入軸轉速之比。一般液力偶合器正常工況的轉速比在0.95以上時可獲得較高的效率。液力偶合器的特性因工作腔與泵輪、渦輪的形狀不同而有差異。它一般靠殼體自然散熱,不需要外部冷卻的供油系統。如將液力偶合器的油放空,偶合器就處於脫開狀態,能起離合器的作用。但是液力耦合器也存在效率較低、高效範圍較窄等缺點。
結構與原理
圖1 液力傳動原理圖液力耦合器結構形式比較多,不同的液力耦合器在結構與原理上略有不同,但是其基本原理是相同的,都是通過泵輪將機械能轉化為液體的動能,再由流動的液體衝擊渦輪,實現液體動能向機械能的轉化,向外輸出動力,如圖2所示。下面分別介紹普通型、限矩型、調速型液力耦合器的典型結構與原理。
普通型液力耦合器
圖3 普通型液力耦合器普通型液力耦合器是最簡單的一種液力耦合器,它是由泵輪1、渦輪2、外殼皮帶輪3等主要元件構成,如下圖所示。它的工作腔體容積大、效率高(最高效率達0.96~0.98),傳動力矩可達6倍~7倍的額定力矩。但因過載係數大,過載保護性能很差,所以一般用於隔離振動、緩減啟動衝擊或做離合器用。
限矩型液力耦合器
常見的限矩型液力耦合器有靜壓泄液式、動壓泄液式和複合泄液式三種基本結構。前兩種在建設機械中用得較為廣泛。
(1)靜壓泄液式液力耦合器
圖4 靜壓泄液式液力耦合器下圖是靜壓泄液式液力耦合器結構圖。為了減小液力耦合器的過載係數,提高過載保護性能,在高傳動比時有較高的力矩係數和效率,因此,在結構上與普通型液力耦合器有所不同。它的主要特點是泵輪2、渦輪3對稱布置,並且有擋板5和側輔腔4。擋板裝在渦輪出口處,起導流和節流作用。這種液力耦合器是在部分充液條件下工作的。
這種液力耦合器,在高速傳動比時,側輔腔存油很少,因而傳動力矩較大;而在低傳動比時,側輔腔存油較多,使特性曲線較為平坦,能較好地滿足工作機械的要求。但需指出的是,由於液體出入側輔腔跟隨負載變化而反應速度慢,所以不適於負載突變和頻繁啟動、制動的工作機械。因為這種液力耦合器多用於車輛的傳動中,所以也稱為牽引型液力耦合器。
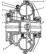
(2)動壓泄液式液力耦合器
圖5 動壓泄液式液力耦合器動壓泄液式液力耦合器能夠克服靜壓泄液式液力耦合器在突然過載時難以起到過載保護作用的缺點。下圖是動壓泄液式液力耦合器的結構圖。
上圖中,輸入軸套1通過彈性聯軸器及後輔腔外殼9而與泵輪4連線在一起,渦輪7用輸出軸套8與減速器或工作機械相連起來,易熔塞6起過熱保護作用。這種液力耦合器有前輔腔2和後輔腔3,前輔腔是泵輪、渦輪中心部位的無葉片空腔;後輔腔是由泵輪外壁與後輔腔外殼9所構成。前後輔腔有小孔相通,後輔腔有小孔與泵輪相通,前後輔腔與泵輪一起轉動。
後輔腔的另一作用是“延充”,延充作用可改善啟動性,當發動機開始啟動時(渦輪還沒有轉動),工作腔液體呈大循環,使液體充滿前輔腔後又經小孔f進入後輔腔。由於工作腔充液量很少,力矩很小,因而發動機可輕載啟動。隨著發動機轉速(也即泵輪轉速)的升高,後輔腔內的液體因形成的油環壓力增加而沿小孔進人工作腔,又使工作腔的充液量增加,這就是“延充”。由於延緩充液作用,渦輪力矩增加,力矩達到啟動力矩後,渦輪開始轉動。
調速型液力耦合器
圖6 調速型液力耦合器調速型液力耦合器主要由泵輪、渦輪、勺管室等組成,如下圖所示。當主動軸帶動泵輪鏇轉時,在泵輪內葉片及腔的共同作用下,工作油將獲得能量並在慣性離心力的作用下,被送到泵輪的外圓周側,形成高速油流,泵輪外圓周側的高速油流又以徑向相對速度與泵輪出口的圓周速度組成合速度,沖入渦輪的進口徑向流道,並沿著渦輪的徑向流道通過油流動量矩的變化而推動渦輪鏇轉,油流至渦輪出口處又以其徑向相對速度與渦輪出口處的圓周速度組成合速度,流入泵輪的徑向流道,並在泵輪中重新獲得能量。如此周而復始的重複,形成工作油在泵輪和渦輪中的循環流動圓。由此可見,泵輪把輸入的機械功轉換為油的動能,而渦輪則把油的動能轉換成為輸出的機械功,從而實現動力的傳遞。
調速型液力耦合器的無級變速是通過改變勺管的位置而改變循環圓中的工作油量實現的。當勺管插入液耦腔室的最深處時,循環圓中油量最小,泵輪和渦輪轉速偏差大,輸出轉速最低;當勺管插入液耦腔室的最淺處時,循環圓中油量最大,泵輪和渦輪轉速偏差小,輸出轉速最大。
調速型液力耦合器的泵輪和渦輪轉速存在著一定的差值,這被稱之為速度滑差。由粘性流體性質可知,耦合器滑差損失和軸承摩擦損失將生成大量的熱,並被耦合器工作油吸收。耦合器滑差越大,轉機功率越大,產生的熱量越大。為了使耦合器油溫不超過規定值,必須利用油循環系統把高溫油帶出,經過冷油器冷卻後回到耦合器內,從而保證了液力耦合器內熱量的平衡。不同的液力耦合器的油冷卻方式是不同的,這也是液力耦合器在套用過程中一個比較重要的問題。
