
普諾米的歷史
說到普諾米,不得不提一提著名的索菲亞夫人。
索菲亞夫人是一位深受西班牙人民愛戴的王后。1962年,索菲亞王后與胡安.卡洛斯新婚之後來到西班牙,就一直在為王室、為這個國家奉獻著。她嫁給“巴塞隆納伯爵夫婦的兒子”的時候,就已經決定把這個國家看成自己的祖國了。

在她的倡議下,橄欖油、花椰菜和高品質的食用鍋具成為西班牙人民抗癌的三衛士。
由此,普諾米鍋具的高品質開始得到認可,從而逐漸成長為西班牙第一鍋具品牌。西班牙抗癌三衛士
橄欖油、花椰菜、普諾米鍋具。
令人尊敬的索菲亞王后
西班牙索菲亞王后普諾米的產品
專著半個世紀以來,普諾米始終專著於高品質鍋具的研發與製造,獲得西方專利及認證27項之多。

普諾米始終倡導健康飲食,改善烹飪方式,將均勻熱量、低溫鎖水的健康烹飪理念貫穿產品的設計之中。
安全從誕生以來,普諾米就在全球率先開始使用最優質的醫用304不鏽鋼生產民用鍋具,把柳葉刀材料的安全和品質帶給大眾。
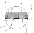
優質普諾米專利鍋底壓制技術SUPRIMIR,令5層鍋底 結合更堅固。有效控制鍋底熱漲冷縮的變化幅度。最厚達6.4mm的鋁塊,導熱性能強,傳熱均勻,保溫持久。無水無油煙烹飪。
普諾米的認證
歐洲食品等級測試1935/2004/EC2005年起,歐盟最新頒布針對與食品接觸物質的指令2004/1935/EC 全稱:Regulation (EC) No

1935/2004/EC號規定導入強制標識, 與食品有直接或間接接觸的材料和電器應遵循如下說明:- 或註明“可與食品接觸”字樣- 或按照器具的使用說明進行,如:咖啡機,電水壺等;- 或按1935/2004/EC規定的符號說明,常見材料歐洲食品級測試1935/2004/EC的項目要求:1935/2004/EC塑膠,2002/72/EC 全面遷移測試,1935/2004/EC陶瓷玻,2005/31/EC 鉛鎘溶出量測試,1935/2004/EC矽橡膠,AP(2004)5 全面遷移測試,1935/2004/EC三聚氰氨樹脂,AP(2004)5 全面遷移測試,甲醛溶出量測試,1935/2004/EC有機塗層 AP(2004)1 全面遷移測試;1935/2004/EC橡膠AP(2004)5&93/11/EEC 全面遷移測試,亞硝胺含量測試,芳香胺遷移;1935/2004/EC紙張;AP(2002)1 五氯苯酚測試,防腐效力測試,重金屬測試,1935/2004/EC木材,五氯苯酚測試,甲醛溶出量測試;1935/2004/EC金屬、合金、及電鍍重金屬溶出量測試;1935/2004/EC法規適用範圍與針對的產品範圍:1)餐具:金屬餐具、塑膠餐具、木製餐具、一次性餐具等等。2)廚具:砧板、調味罐、不鏽鋼鍋、不粘鍋、鐵鍋、搪瓷鍋等等。 3)炊具:蒸籠、鏟、勺等等 4)保溫容器:不鏽鋼保溫杯、保溫壺,保溫瓶等等。5)廚用小家電:攪拌機、打蛋機、咖啡機等等。LFGB認證刀叉標誌的意義

1、玻璃蓋強度測試(Glass Lid Strength Testing)
①. 鋼球測試:用直徑為63.5mm,重約225g的鋼球從離玻璃面100cm高處擊中玻蓋連續4次,不破碎為合格,破碎為不合格。

③. 鋼化測試:用硬物擊碎玻蓋後在50平方毫米的範圍內至少有15個小顆粒。
2、膠木手柄耐熱性測試(bakelite Handle Drying Testing)
①. 把手柄放入烤箱加溫至176±15攝氏度後,保溫2個小時。
②. 取出待手柄冷卻後,觀察手柄應無氣泡、裂紋、變形、刺激性氣味等異常現象。
3、單把連線牢固測試(Long Handle Load Testing)
①. 用鍋水容量2.25倍的鋼球置於鍋內,將鍋水放在試驗專機的掛鈎上,調整好平台高度,然後

②. 提升速度,每分鐘2.4回合的速度至少循環3600次。
③. 判定:試驗手柄不變形,斷裂,脫焊現象,鉚釘鍋不漏水為合格。
4、手柄扭力測試(Handle Torque Testing)
①. 將手柄組件手柄長度方向的中點處與測試平衡桿緊固,平衡桿長1m,並調整測試平衡桿使其水平。
②. 將1kg的測試砝碼分別置於測試平衡桿的左側,右側穩定30秒後計下指針偏角數值。
③. 檢查手柄及連線件,並記錄損害程度。
5、鍋底複合層穩定性測試(鍋熱衝擊測試)(Impact Bonding Bottom Heating Testing)
①. 放在電爐上乾燒至400度。

③. 包底處隙縫≤0.15mm,鍋底無氣泡,無脫落為合格。
6、鹽霧試驗(salt spray Testing)
①. 配製5%氯化鈉溶液。
②. 試驗室溫度為攝氏35度,壓力桶溫度為攝氏47度。
③. 壓縮空氣壓力調到1kg/cm2 時,開始噴霧,並收集噴霧液每小時1.0~2.0ml的鹽水溶液。
④. 噴霧時間應至少為24小時以上。
⑤. 判定產品內外表面應無氣泡,生鏽現象。
7、洗碗機試驗流程(Dish-washer Testing)
①. 在洗碗機中放入產品及適量的洗滌劑。
②. 測試水溫在80~95度左右。
③. 啟動機器洗2小時為1循環,5個循環後取出產品。

8、不粘鍋牢固測試(Coating attrition Testing)
①. 耐磨儀測試:在儀表上設定耐磨次數,待測工件固定在儀器中央的皮墊上,將耐磨粘放在耐磨儀的磨板上,放砝碼重量為1.5kg開始啟動磨到1000次檢查漆膜無明顯穿底。
②. 百格測試:在塗層上劃出1mm的100個方格,用3m膠帶貼緊後快速撕下來,塗層無脫落。
③. 煎雞蛋測試:直接放入煎蛋加熱後,不放油,雞蛋不粘為合格。

9、雙耳手把連線牢固測試(Side Handle Load Testing)
①. 用鍋水容量2.25倍的鋼球置於鍋內,將鍋水放在試驗專機的掛鈎上,調整好平台高度,然後開機作抬升及降低往返運行。
②. 提升速度,每分鐘2.4回合的速度至少循環3600次。
③. 判定:試驗手柄不變形,斷裂,脫焊現象,鉚釘鍋不漏水為合格不鏽鋼餐具清洗與保養
1. 使用前,可在器皿的表面塗上一層薄薄的植物油,然後在火上烘乾,這就等於器皿表面穿上了一層微黃的油膜“衣服”。這樣,使用起來既容易清洗,又可以延長使用壽命。

3. 不鏽鋼器皿清洗以後,外表的水跡要擦乾。因為在加熱的時候,特別在煤球爐上使用時,燃燒時產生的二氧化硫和三氧化硫遇水後會產生亞硫酸和硫酸,這會影響器皿的使用壽命。
4. 不鏽鋼器皿使用一段時間後,表面會有一層霧一樣的膜,可用軟布蘸上一些去污粉或者洗潔精擦洗,就可恢復光亮。如果外面被煙燻黑,也可以用這個辦法清除。
5. 不能用水長時間浸洗不鏽鋼器皿,否則會使器皿表面黯淡,失去應有光澤。
6. 不鏽鋼餐具上沾有污跡,必要時可用不鏽鋼蠟塗在斑跡上擦淨。有膠柄的不鏽鋼餐具,應儘量避免高溫而使顏色黯淡。
7. 不鏽鋼餐具用了一段時間呈“黑霧”,並非變質,但又不是銹,不需磨擦,用布蘸些擦銅水搓抹即亮。
8. 不鏽鋼傳熱快,所以放油之後不宜猛火。
9. 可先用肥皂將不鏽鋼餐具上的污漬拭去,然後再用乾布來擦乾淨。
10. 如果出現由硬水構成的水垢,可用食醋擦拭乾淨或者用石灰和水混合成的糊狀物來揩擦不鏽鋼餐具上的污跡,然後用熱肥
11. 不鏽鋼炊具的銹點,宜用0號水磨砂紙乾磨;但先要確定是否生鏽,若只是一般的焦煙斑點,則宜以廚房清潔劑或去污粉擦拭即可去掉。也可先用水浸泡一夜,再用一小塊1000號水磨砂紙,用手指按在焦黑部位小心研磨即可。或者買一張400號水磨砂紙,在水中浸濕輕力勻磨幾下,即可去除,切勿用大力,以免擦花鍋身。細微的焦跡可用“百潔布”蘸去污粉加少許洗潔精擦除。
12. 不鏽鋼用了一段時間後,鍋內會出現咖啡色銹跡,其實不是銹,而是水中的礦物質經長時間凝聚而在鍋壁形成的物質。這些痕跡大可不必去除,對人體也沒有害處。若一定要清理,試用白醋少許倒入鍋內搖勻,然後慢火燒開片刻,看效果如何。不過煮過白醋,一定要用洗潔精之類的清洗劑洗淨,否則易留酸味。也可用細水磨砂紙勻力磨去那些痕跡。
13. 不鏽鋼鍋很容易沾上難以刷洗的黑色污垢。去污方法是把較大的鍋加上半鍋左右的清水,並投入一些鳳梨皮,再把小號鍋逐一放進去,在爐灶上加熱煮沸一段時間,等到冷卻以後拿出來,就會發現這些鍋已光亮如新。但要注意,如果是帶木柄的不鏽鋼餐具則不宜放在沸水中蒸、煮、燙,以免木柄和膠柄因受熱而膨脹損壞。
