定義
人工水平儀是指示水平面的裝置,如氣泡水準儀、陀螺儀等。
水平面
1.完全靜止的水所形成的平面,亦指跟這個平面平行的面。
2(生物,醫學)水平面(horizontal plane) 又稱橫斷面(transverse plane),與垂直軸垂直,將人體分為上,下兩部分的斷面。
3、進行科學研究或觀測時的參考面、坐標面
4、數學中完全由水平平行直線組成的平面。
5、機械製圖中平行於H面的平面。
氣泡水準儀
構造
氣泡水準儀氣泡水準儀由水準器、水準器座和基座等組成,如圖所示。
水準器是內部裝有酒精或乙醚的玻璃管,用石膏、水準器框和螺塞固定在水準器座內。玻璃管上兩邊分別刻有六條刻線,相鄰兩條刻線問的刻度值為0~0.02,即氣泡頭端由一個刻線移到另一個刻線時,相當於水準器軸傾斜為0~0.02。水準器座置於基座上方的框形槽中,一端以軸與基座連線,另一端有調整用的緊壓螺釘和支撐螺釘。緊壓螺釘一穿過水準器座旋在基座內;支撐螺釘一旋在水準器座內頂在基座上。擰松支撐螺釘,再擰緊緊壓螺釘,可使水準器座該端向下;擰鬆緊壓螺釘,再擰緊支撐螺釘,可使水準器座該端向上。因此,擰動兩螺釘,便可調整水準儀。
基座的上部為框形,以軸、緊壓螺釘和支撐螺釘固定水準器座;基座下端有兩個基面,同在一平面內。當基面水平和水準氣泡居中(在兩長刻線之問)時,則水準器軸線與基面平行。
檢查和調整
為保持水準儀的精度,在使用前均應進行檢查和調整,以保證水準器軸線與基面平行。其方法如下:
1)將水準儀沿刻線縱放在炮尾檢查座上,轉高低機使氣泡居中。
2)將水準儀轉180度放置,氣泡應處於玻璃管兩條長刻線之問。否則須調整。
a)打高低機及旋支撐螺釘、緊壓螺釘,各調整氣泡移動量的一半,使氣泡居中。
b)將水準儀再轉180度放置,此時氣泡應居中。如不居中,可按上述方法反覆調整,直到居中為止。最後,擰緊支撐和緊壓螺釘,並注意保持氣泡居中。
陀螺儀
陀螺儀是用高速迴轉體的動量矩敏感殼體相對慣性空間繞正交於自轉軸的一個或二個軸的角運動檢測裝置。利用其他原理製成的角運動檢測裝置起同樣功能的也稱陀螺儀。
陀螺儀是一種既古老而又很有生命力的儀器,從第一台真正實用的陀螺儀器問世以來已有大半個世紀,但直到現在,陀螺儀仍在吸引著人們對它進行研究,這是由於它本身具有的特性所決定的。陀螺儀最主要的基本特性是它的穩定性和進動性。人們從兒童玩的地陀螺中早就發現高速旋轉的陀螺可以豎直不倒而保持與地面垂直,這就反映了陀螺的穩定性。研究陀螺儀運動特性的理論是繞定點運動剛體動力學的一個分支,它以物體的慣性為基礎,研究旋轉物體的動力學特性。
基本上陀螺儀是一種機械裝置,其主要部分是一個對旋轉軸以極高角速度旋轉的轉子,轉子裝在一支架內;在通過轉子中心軸XX1上加一內環架,那么陀螺儀就可環繞平面兩軸作自由運動;然後,在內環架外加上一外環架;這個陀螺儀有兩個平衡環,可以環繞平面三軸作自由運動,就是一個完整的太空陀螺儀(space gyro)。
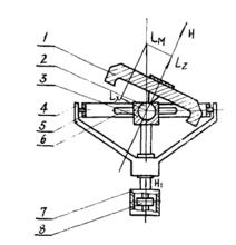
人工水平儀圖為球形液體動壓支承水平陀螺儀的原理構造。陀螺轉子1由一個中心與轉子重心相重合的球2支承在開有螺槽的球碗3中。在球和球碗之間充有油液。球碗3安裝在陀螺擺錘支架4上,而支架4由樞軸支承在水平環6上,並要求其軸線通過球心和擺錘軸線正交。水平環5通過另外兩個軸承支承在儀表殼體的樞軸上。擺錘7內裝有小陀螺馬達8,因而也叫陀螺擺錘。很明顯,在陀螺擺錘的作用下,球碗的中心軸線在靜基座上處於穩態時就基本與地垂線相重合,當轉子主軸與地垂線不重合時,定子6的磁場分量所產生的力矩便把陀螺主軸修正到鉛垂位置。在球碗3的外面裝有陀螺馬達的定子6,當對定子繞組通電時,就使陀螺轉子高速轉動。這樣,當球和球碗產生相對運動時,由於動壓支承中台階間隙的阻擋節流效應,油液就被泵汲到螺旋槽內,使油液的壓力由球的赤道向兩極逐漸增高,增高的具體數值則取決於球直徑的大小和螺旋槽的構造參數。液體動壓支承的作用原理與氣體動壓支承基本相同,但由於液體的粘度較大,並且不可壓縮,從而對加工、裝配以及材料性能都降低了要求。附加陀螺擺錘的目的主要是防止衝擊加速度使擺的偏離角過大,同時也提高儀表的動態穩定性,使儀表具有更好的抗干擾能力。

