描述:
模數轉換器ADS805速度不算太快,但是一般情況下就夠用了,整體綜合性能還是蠻好的。它可以用在CCD成像、數位化基帶處理、複印機和測試儀器等等。
特性:
1.20MHz、12位,高動態範圍
2.高信噪比68dB
3.內外參考電壓
4.具有輸入超調警示標誌,在信號調理電路中能夠利用此標誌進行增益減小調節
5.數字識錯技術保障良好的線性度
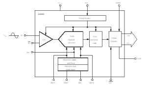
框圖
框圖
特性: 1.20MHz 2.高信噪比68dB
模數轉換器ADS805速度不算太快,但是一般情況下就夠用了,整體綜合性能還是蠻好的。它可以用在CCD成像、數位化基帶處理、複印機和測試儀器等等。
1.20MHz、12位,高動態範圍
2.高信噪比68dB
3.內外參考電壓
4.具有輸入超調警示標誌,在信號調理電路中能夠利用此標誌進行增益減小調節
5.數字識錯技術保障良好的線性度
框圖