簡介
齒輪離合器是用標準模數的齒輪刀具製造的。這種離合器是靠內外齒輪的嚙合來傳遞扭矩的。
齒輪離合器的優點是:外形尺寸小,沒有滑動,能準確地傳遞速度。同時能利用傳動齒輪作為半個離合器的齒輪,而且製造容易。缺點是:運轉中結合有撞擊。這種離合器常用於工具機的主軸變速箱和走刀變速箱。
齒輪離合器的結構
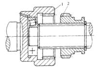
齒輪離合器由一對內、外齒輪組成嚙合副,如下圖所示。
齒輪離合器的結構件1為內齒輪,外齒輪2套在花鍵軸上,花鍵軸一端用軸承支承在內齒輪上。為了便於嚙合,通常將嚙合齒端製成10°~15°的導角;為了避免內齒輪齒頂與外齒輪齒根過渡部分干涉,當齒數Z>27時,常將內齒輪齒頂圓直徑加大0.4m(m—齒輪模數);為了提高接合機率,可將內齒輪隔齒去一齒,外齒輪隔齒去半齒。
齒輪輪齒加工比牙嵌盤上端面齒加工容易。由於輪齒強度高,故齒輪離合器外廓尺寸較小。
齒輪離合器設計
齒輪離合器靠內外齒輪的嚙合來傳遞轉矩。齒輪是用標準模數的齒輪刀具製造的,能利用傳動齒輪作半個離合器的齒輪,使得製造容易。
為了使離合器接合容易,進入接合側的齒的頂端要加工出很大的倒角。此外,有的離合器設計成被聯接的半個離合器的齒,每隔一齒(或幾個齒)縮短一半。還有的離合器另一半的內齒每隔一齒取消一個。接合過程如下圖所示。
結構設計第一步,離合器2的齒進入1的長齒之間的寬間隔中,離合器1和2的齒側面互相衝擊,使它們的速度相等。第二步,前移離合器,使齒完全銜按。
齒輪離合器在負載運轉過程中往往會因附加的軸向分力推動離合器向相反的方向滑移,最後完全脫開。為了避免這種脫離,在結構設計時要採取一定的措施。
(1)在外齒輪的前端加工出一個槽,如下圖所示,齒長分成兩部分,將後面部分齒的厚度減薄,減薄量為一側0.2~0.5mm。內齒在結構上要容許外齒超越它的齒長。離合器受轉矩之後,因外齒兩種齒厚形成一個小台階,被內齒端面卡住,不會因軸向力而滑脫。
外齒輪的前端加工(2)將外齒輪的齒加工出一個錐度,成為外大內小的形狀如下圖所示,使離合器接合之後,外齒受一個阻止滑脫的軸向力。半錐角約為3°左右。
齒加工
