概述
以靜電型高壓發生器作為高壓電源的加速器。按照加速粒子的不同,它可分為正離子靜電加速器(簡稱質子靜電加速器)和電子靜電加速器兩類。在這些靜電型高壓發生器中,用得最多的是1931年R.J.范德格喇夫首次研製成的那種類型。採用這種高壓發生器的靜電加速器稱為范德格喇夫加速器,有時也稱為范德格喇夫起電機。
早期的范德格喇夫靜電高壓發生器是動帶式的,它的基本工作原理如圖1所示。金屬薄壁的高壓電極由絕緣支柱支撐著。絕緣材料製成的輸電帶在兩個轉軸間不停地運動。噴電針排連線在噴電電源(電壓為數十千伏的直流高壓電源)上,通過針尖在氣體中的電暈放電,使周圍與針尖極性相同的離子在電場作用下從針尖噴向輸電帶,使輸電帶充電。隨著輸電帶的運動,帶上的電荷進入高壓電極。極內刮電針排同高壓電極相連和輸電帶之間所形成的電場,同樣使氣體電暈放電,從而使電荷轉移到高壓電極上去。隨著不停傳送電荷,高壓電極的電壓很快地升高。假設高壓電極對地的電容是C,當它上面積累的電荷是Q時,它對地的電壓可由


靜電加速器
靜電加速器60年代中,范德格喇夫靜電高壓發生器的重要改進是用輸電鏈(或梯)代替輸電帶。輸電鏈(梯)是利用在鏈(梯)上產生感應電荷的辦法充電並輸送電荷的,它的主要優點是:輸電不靠電暈放電,電流波動小,發生器的高壓自然穩定度高;工作壽命長;內部清潔等。目前已有不少靜電加速器採用這種輸電方法。
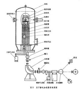
有了高壓發生器再配上離子源、加速管、分析器、電壓穩定和控制系統以及真空系統等必要的部件就構成了一台完整的質子靜電加速器。圖2為質子靜電加速器典型的結構簡圖。為了提高靜電加速器的工作電壓(即離子束能量)和束流強度,近代靜電加速器都是安放在鋼筒內。鋼筒內充有絕緣性能良好的高壓氣體,以提高靜電高壓發生器的耐壓強度;絕緣支柱上均裝有分壓環及分壓電阻(或電暈針組件)等部件,以使電場沿絕緣支柱、加速管和輸電帶(鏈)儘可能地均勻分布。高壓電極內裝有發電機、離子源和電子線路。當高壓電極處在正的高電勢時,在同高壓電極和分壓電阻相連的加速管內就形成加速電場。正離子從離子源被引出,進入加速管後,就受到加速電場的作用,向加速管的另一端運動加速。鋼筒外的分析器(磁或靜電分析器)是為了對經過加速的帶電粒子進行質量和能量選擇而設定的。帶電粒子流通過分析器後再經過一段束流輸運管道,最後打到靶上,提供物理實驗使用。靶束流大小,根據實驗要求,一般可在納(10)安到幾十微安範圍內調節。質子靜電加速器加速粒子能量可以平滑調節,能散度可以做得很小,它一直是低能核物理的主要設備。
同質子靜電加速器相比,電子靜電加速器的結構比較簡單,所占空間也較小。這是由於負極性高壓電極的擊穿電壓比正極性高;電子槍及其所需電源比離子源要簡單得多,因此對於相同能量的電子靜電加速器來講,它的高壓電極尺寸就比較小,這樣鋼筒的尺寸也就可相應減小。其次,由於電子靜電加速器是作為β輻射源(高速電子流經掃描器後通過薄窗引出)和γ輻射源(高速電子轟擊重元素──金、鎢等來產生很強的γ射線)使用的,對電子束的能量分散度沒有很高的要求,因此它不必配備分析器和穩壓裝置,用於實驗的輻照室就直接安置在離加速管出口不遠的地方。圖3為上海生產的2兆電子伏電子靜電加速器。靜電加速器技術已有50多年的發展歷史,中國是在50年代末開始發展的,1959年建成了中國第一台2.5兆電子伏質子靜電加速器,1962年又建成了中國第一台2兆電子伏電子靜電加速器。現今世界上約有數百台靜電加速器。質子靜電加速器除用於基礎研究、核技術套用外,還套用於離子注入、放射性劑量儀表校刻等方面,同時它也為分子生物學、表面物理、束-箔光譜學等邊緣學科的發展提供了重要的技術設備。電子靜電加速器主要用於輻射化學、放射生物學、材料和元件的輻射改性(輻射處理)以及輻射育種、金屬探傷和空間輻射模擬等。特別是輻射處理在工業上有廣泛用途。
配圖
靜電加速器
靜電加速器