簡要概述
在超過1300℃的高溫下,蓄熱式換熱器往往是唯一可以選擇的換熱器類型,其優勢還在於能夠使用各種形狀和類型的材料。但是,蓄熱式換熱器在中低溫條件的使用廣泛程度則遠不如回熱式換熱器。
基本原理
蓄熱式換熱器通過多孔填料或基質的短暫能量儲存,將熱量從一種流體傳遞到另外一種流體。首先,在習慣上稱為加熱周期的時間內,熱氣流流過蓄熱式換熱器中的填料,熱量從氣流傳遞到填料,氣流溫度降低。在這個周期結束時,流動方向進行切換,冷流體流經蓄熱體。在冷卻周期,流體從蓄熱填料吸收熱量。因此,對於常規的流向變換,蓄熱體內的填料交替性的與冷熱流體進行換熱,蓄熱體內以及氣流在任意位置的溫度都不斷隨時間波動。啟動後,經過數個切換周期,蓄熱式換熱器進入穩定運行時狀態,蓄熱體內某一位置隨時間的波動在相繼的周期內都是相同的。從運行的特性上很容易區分蓄熱式換熱器和回熱式換熱器,回熱式換熱器中兩種流體的換熱是通過各個位置的固定邊界進行的,在穩定運行時換熱器的內的溫度只與位置有關,而在蓄熱式換熱器熱量的傳遞都是動態的,同時依賴於位置和時間 。
蓄熱式換熱器形式分類
蓄熱式換熱器的兩種主要形式是固定床型和旋轉型。固定床式的蓄熱式換熱器,通常需要兩個床體維持連續的熱量傳遞,因此在任意時刻總是一個床體運行在加熱周期,而另一床體運行在冷卻周期。蓄熱式換熱器內的流向變換是通過切換閥實現的。在旋轉型蓄熱式換熱器中,通常冷熱兩種流體連續的流經蓄熱體,所流經的圓柱形填料蓄熱體沿著與氣流的流向平行的軸從一側轉動到另一側,另外一種旋轉型蓄熱式換熱器的設計中,冷熱流體進行旋轉的切換,而填料蓄熱體則固定不動。旋轉型蓄熱式換熱器在實際的連續性換熱中,不再需要兩個蓄熱室,也不再需要切換閥。進一步可以發現,旋轉型蓄熱式換熱器的圓柱形填料蓄熱體沿著流動方向被分成多個平行的部分。由於旋轉型蓄熱式換熱器每個部分在連續性的換熱中的作用和固定床型蓄熱式換熱中的單個床體的作用是相同的,因此,雖然有切換方式上的差異,但二者的基本原理是類似的。
結構和工作原理
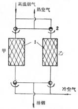
蓄熱式換熱器原理圖 1—蓄熱體;2—雙通閥由固體填充物構成的蓄熱體作為傳熱面的。與一般間壁式換熱器的區別在於換熱流體不是在各自的通道內吸、放熱量,而是交替地通過同一通道利用蓄熱體來吸、放熱量。換熱分兩個階段進行:先是熱介質流過蓄熱體放出熱量,加熱蓄熱體並被儲蓄起來,接著是冷介質流過蓄熱體吸取熱量,並使蓄熱體又被冷卻。重複上述過程就能使換熱連續進行。必須有兩套並列設備或同一設備中具有兩套並列蓄熱體通道同時工作才行。
周期變換型蓄熱式換熱器按結構可分為固定型(閥門切換型)和旋轉型(迴轉式)兩類。
固定型
左圖為一種固定型結構,其蓄熱體由耐火磚砌成的“火格子”構成,很適合對高溫
圖1氣體的加熱。
旋轉型
蓄熱式換熱器如左圖所示又稱熱輪,其外殼為圓筒形,本體為一多孔的圓盤狀蓄熱體。
工程套用
蓄熱式換熱器在很多工業過程中都有套用,燃燒中空氣的預熱就是一個典型的套用領域。其可以利用燃燒排氣中的熱能,用於預熱未燃氣,從而達到燃燒低品位燃料、提高燃燒過程的熱效率、實現更高的燃燒反應溫度等目的。按照這種方式,蓄熱式換熱器可以用於金屬還原和熱處理過程,以及玻璃窯爐裝置,發電廠的鍋爐、高溫空氣燃燒裝置和燃氣輪機裝置。早期固定床蓄熱式換熱器套用最為廣泛的領域是鋼鐵製造工業中的熱風爐,以及電廠中的迴轉式空氣預熱器。

