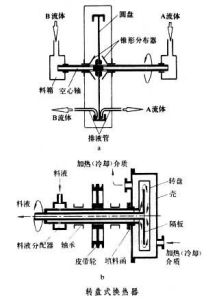
轉盤式換熱器
以迴轉圓盤作為傳熱元件的換熱器。
基本結構
有薄板圓盤和廂形圓盤
兩種形式
。①圓盤由金屬薄板構成(圖中a),參加換熱的兩流體A、B分別由設定在轉軸兩端的料箱經空心軸和錐形分布器到達圓盤中部,在離心力作用下,呈薄膜狀分布於轉盤兩側面,作高速流動,以強化傳熱和縮短停留時間,最後匯集於盤周的環形溝槽中,分別經排液管導出。②圓盤是金屬薄板製成的廂形結構(圖中b),盤內通過被處理料液,盤外通過加熱或冷卻介質。料液由空心軸引入和導出。轉盤換熱器的特點是傳熱係數大和物料停留時間短,因此它適於處理高熱敏性流體,大多用於食品工業。轉盤式換熱器適用的粘度範圍很寬,從低於0.001帕秒到高達40帕秒。轉盤的圓周線速度常用1~4米/秒。若盤上設定刮片等擾流構件,傳熱係數K值也不會增大,故以光滑圓盤為宜;但轉速增高,一般可使K值增大。
轉盤式換熱器