正文
人工舉升採油法的一種(見人工舉升採油法)。在油井中下入抽油泵,把油藏中產出的液體泵送到地面的方法,簡稱抽油法。此法所用的抽油泵按動力傳動方式分為有桿和無桿兩類。
有桿泵 是最常用的單缸單作用抽油泵(圖1),其排油量取決於泵徑和泵的衝程、沖數。有桿泵分桿式泵、管式泵兩類。一套完整的有桿泵機組包括抽油機、抽油桿柱和抽油泵(圖2)。
抽油機主要是把動力機(一般是電動機)的圓周運動轉變為往復直線運動,帶動抽油桿和泵,抽油機有游梁式和無游梁式兩種。前者使用最普遍,中國一些礦場使用的鏈條抽油機屬後一種(見彩圖)。抽油桿柱是連線抽油機和抽油泵的長桿柱,長逾千米,因交變載荷所引起的振動和彈性變形,使抽油桿懸點的衝程和泵的柱塞衝程有較大差別。抽油泵的直徑和衝程、沖數要根據每口油井的生產特徵,進行設計計算來優選。在泵的入口處安裝氣體分離裝置──氣錨,或者增加泵的下入深度,以降低流體中的含氣量對抽油泵充滿程度(即體積效率)的影響。
泵抽採油法有桿泵是一個自重系統,抽油桿的截面增加時,其載荷也隨著增大。各種材質製成的抽油桿的下入深度,都是有極限的,要增加泵的下入深度,主要須改變抽油桿的材質、熱處理工藝和級次。根據抽油桿的彈性和地層流體的特徵,在選擇工作制度時,要選用衝程、沖數的有利組合。有桿泵的工作深度在國外已超過3000m,抽油機的載荷已超過25t,泵的排量與井深有關,有些淺井日排量可以高達400m3,一般中深井可達200m3,但抽油井的產量主要根據油層的生產能力。有桿抽油機泵組的主要優點是結構簡單,維修管理方便,在中深井中泵的效率為50%左右,適用於中、低產量的井。目前世界上有85%以上的油井用機械採油法生產,其中絕大部分用有桿泵。
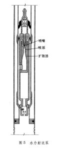
無桿泵 適用於大產量的中深井或深井和斜井。在工業上套用的是電動潛油泵、水力活塞泵和水力噴射泵。
電動潛油泵 是一套多級離心泵和電動機直接連線的機泵組。由動力電纜把電送給井下的電機以驅動離心泵,把井中的流體泵送到地面,由於機泵組是在套管內使用,機泵的直徑受到限制,所以採取細長的形狀(圖3)。為防止井下流體(特別是水)進入電樞使電機失效,需採取特殊的密封裝置,並在泵和電動機的連線部位加裝保護器。泵的排量受井眼尺寸的限制,揚程決定於泵的級數,二者都取決於電動機的功率。電動潛油泵適用於中、高產液量,含氣和砂較少的稀油或含水原油的油井。一般日排量為100~1000m3、揚程在2000m以內時,效率較高,可用於斜井。建井較簡單,管理方便,免修期較長,泵效率在60%左右;但不適用於高含氣的井和帶腐蝕性流體的井,下井後泵的排量不能調節,機泵組成本較高,起下作業和檢修都比較複雜。
泵抽採油法
泵抽採油法
泵抽採油法
參考書目
K.E.Brown, The Technology of Artificial Lift Methods. Vol.1st ed.,Petroleum Publ.Co.,Tulsa,1980.
