簡介
棄鏈器設定在錨鏈艙的艙壁上或其附近甲板上,末端鏈節的末端鏈環,平時掛在棄鏈器上,以防止整根錨鏈脫落,但在錨泊並遇有緊急情況下,而又來不及收錨時,可打開棄鏈器,將錨和錨鏈拋棄。 止鏈器和棄鏈器常常一起使用,止鏈器設於錨鏈筒與錨機之間船首主甲板上,船舶停泊或航行時,用以防止錨鏈或錨下滑,並承受錨鏈和錨的重力負荷。常用的有閘刀式和螺旋式止鏈器。
結構
圖1錨鏈的盡端必須固結在錨鏈艙內,以防拋錨時由於機械失靈,導致錨和錨鏈全部失落。同時,又要求這種固結能迅速脫開,以便在緊急情況下能棄錨移船。因此,在錨鏈的固結處設定棄鏈器。圖1所示為棄鏈器的結構形式。
分類
我國造船行業目前常用的棄錨器有三種,即簡易棄錨器、螺旋棄錨器和插閂式棄錨器。
簡易棄錨器
簡易棄錨器如圖2所示,安裝在錨鏈艙壁上,錨鏈根部的末端鏈環套人棄錨器的橫閂中,使用時打開橫閂,錨鏈脫出。這種棄錨器結構簡單,適用於直徑較小的錨鏈。
橫閂式棄鏈器
圖3 橫閂式棄鏈器其結構簡單,使用方便,在緊急情況下只要敲出橫閂即能鬆脫末端鏈環。分為甲板棄鏈器和錨鏈艙棄鏈器兩種。如圖3所示,為甲板棄鏈器,在甲板上的棄鏈器通常外罩一個水密蓋,既可達到水密,又能防止不慎觸碰而鬆脫。
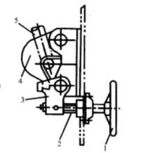
螺旋棄鏈器
圖4 螺旋棄鏈器其結構較複雜,利用螺桿的伸縮使脫鉤鬆開或夾住,但使用安全可靠,即使在錨鏈繃緊時也易鬆脫,缺點是開啟動作較緩慢。如圖4所示,為裝設於錨鏈艙艙壁上棄鏈器。
螺旋棄錨器通過手輪操縱螺桿,使制動卡繞銷軸旋轉,鎖住(系固錨鏈)或打開(解脫錨鏈)滑鉤。如果需要實施遠距離操縱,可將手輪操縱改為小軸傳動裝置遙控操縱。螺絲棄錨器可垂直安裝在艙壁上,也可水平安裝在甲板上,性能可靠,操縱方便,適用的錨鏈直徑範圍大。

