名片
它可以工作在非常低的電壓,使得它完美的系統復位。BL8509是由高精度參考電壓,比較器,延時電路,輸出驅動器和電阻陣列。內部預設檢測電壓低溫度漂移和無需外部微調。兩種類型的輸出,CMOS和N溝道漏極開路。
BL8509提供SOT- 23 - 3,SOT-23 - 5這是無鉛的。
特點
·高精度檢測電壓:±2%
·檢測電壓:0.9V〜6.0V(0.1V為步距)
·內置上電復位延遲時間
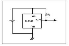
電路:參照選型指南
·工作電壓範圍:0.7V〜10V
·超低消耗電流:500nA典型。(在VDD= 3.0V)
·兩種輸出形式:CMOS和N溝道開漏(低電平有效)
套用
·攜帶型設備,如電源監視器PDA,數位相機,手機,筆記本電腦,MP3
·CPU和邏輯電路的復位
·電池測試器
·電池備份電路
·電源故障檢測
功能說明
復位IC晶片BL8509典型套用
復位IC晶片BL8509封裝
SOT-23-3;SOT-23-5

