定律定義
兩個矢量合成時,以表示這兩個矢量的有向線段為鄰邊作平行四邊形,這兩個鄰邊之間的對角線就代表合矢量的大小和方向,這就叫做矢量的平行四邊形定則。合矢量的頭對一條分矢量的頭,合矢量的尾對另一條分矢量的尾。
圖中F1與F2夾角為α,合力F與F1夾角為 θ
力的合成的平行四邊形定則,只適用於共點力。
其中F小於等於F1+F2,大於等於F1-F2.
公式變形
平行四邊形定則
F=√(F1²+F2²+2F1*F2*cosα)
tanθ=F2*sinα/(F1+F2*cosα)
數學推導
平行四邊形定則,證明例圖。F^2=CD^2+AC^2
=(F1Sinθ)^2+(F2+F1Cosθ)^2
=(F1Sinθ)^2+F2^2+2F1F2Cosθ+(F1Cosθ)^2
=F2^2+2F1F2Cosθ+F1^2
∴F=√F2^2+2F1F2Cosθ+F1^2
實驗驗證
實驗目的
驗證互成角度的兩個力合成時的平行四邊形定則。
實驗方法
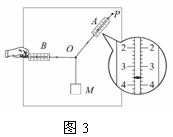
一、等效法
平行四邊形定則兩個分力共同作用於一個物體的同一點,使物體產生一定的形變或加速度。然後用一個力單獨作用於兩分力作用時的作用點上,調節該力的大小和方向,使受力物體產生與兩分力共同作用時相同的形變或加速度。由於加速度的測量比較複雜,常採用分力與合力對受力物體的相同形變,實現兩分力的共同作用與合力單獨作用等效。這時,與兩分力共同作用等效的一個力就代表兩分力的合力。
一般選橡皮筋為受力物體,將橡皮筋一端固定,用兩個互成角度的力F、F同時拉橡皮筋的另一端,使其產生一定的伸長。然後用一個力F單獨拉橡皮筋,使其產生與兩拉力共同作用時相同的伸長,則F與兩分力的合力相同。F就是測量出的合力。然後再運用平行四邊形定則求出F、F的合力。比較F與F、F的合力,看兩者大小是否相等、方向是否相同。
本實驗的成敗,關鍵是等效與誤差的控制。實現等效,就是保證橡皮筋兩次的伸長量相等,要求兩次將橡皮筋的末端拉至同一位置。控制誤差,要做到:
(1)儘量選相同的彈簧測力計。可將兩測力計鉤好對拉,選讀數始終相同的一對;
(2)測力計與固定橡皮筋的板面平行,讀數時,視線要與測力計刻度板正對;
(3)在不超過彈性限度的條件下,儘可能使拉力大一些;
(4)用力的圖示法依據平行四邊形定則畫圖求合力時,標度的選擇應儘量使圖畫得大一些,畫圖要嚴格使用作圖工具;
(5)在同一次實驗中,橡皮筋拉長後的結點位置一定要相同。
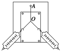
平行四邊形定則二、平衡法
三個恆力同時作用於物體的同一點,當受力物體處於靜止狀態或勻速直線運動狀態時,這三個力平衡,其中任意兩個力的合力與第三個力大小相等,方向相反。若以任意兩個力作為分力,則第三個力的大小代表前兩個力的合力大小,第三個力的反方向代表合力的方向。
實驗中,一般是將三個輕繩套一端結在一起,以結點作為受力物體。然後在其中的一個繩套掛上重物,用兩個彈簧測力計在豎直平面內沿兩個互成角度的方向分別拉另外兩個繩套,當重物靜止時,三力平衡。為方便實驗及測量,通常使受力質點保持靜止狀態,實現三個力的平衡。
本實驗關鍵是控制受力質點處於靜止狀態。減小誤差的措施與“等效法”是相同。
定律解釋
我們知道加、減、乘、除的算術運算,是用來計算兩個以上的標量的,如質量、面積、時間等。例如,求密度就要用質量除體積。標量之間的運算不需要特別的手續,只有一個要求,那就是單位要一致。
但是,矢量相加就要用特別的方法,因為被加的量既有一定數值,又有一定的方向,相加時兩者要同時考慮。在力學中經常遇到的矢量有位移、力、速度、加速度、動量、衝量、力矩、角速度和角動量等。
矢量的加法有兩種:其一即所謂三角形法則;另一方法即平行四邊形法則,它們本質是一樣的。若用三角形法則求總位移似乎直觀些,而用平行四邊形法則求力的合成好像更便於理解。
應該指出的是:合力表示的作用效果與 各個分力的共同作用效果是一樣的。因此可以用 代替“和”的共同作用,但絕不能把 當成作用在物體上的第三個力。在分析物體受力情況時,不能同時考慮合力與分力對物體的作用。例如,當物體沿光滑斜面下滑時,不能說物體除受到重力和斜面的彈力作用外,還受到一個下滑力的作用。因為下滑力是重力沿斜面平行方向的分力,所以,只能說“在光滑斜面上下滑的物體,受到重力和斜面彈力的作用”。有的人認為:“合力總比分力大”。我們可利用求合力的平行四邊形法則,通過作圖可看到,合力的大小是隨兩分力夾角而變化的,絕不能說“合力一定要比分力大”。
一個矢量,只要遵守平行四邊形法則,可以分解為兩個,或無窮個。但是矢量的合成不同,兩個矢量只能合成為一個矢量。
發展簡史
1.1586年,荷蘭的斯蒂文在《靜力學基礎》一書中最早提出力的分解與合成原理。
平行四邊形定則他的研究是置於從斜面上物體和鏈條的平衡入手的:將14個等質量的小球均勻地穿線上上組成首尾相連的一串球鏈,或者將一條質量均勻的鏈條掛在斜面上,若這些小球處於自由狀態,如圖1所示,它們將怎樣運動?他從永動機不可能原理出發,認為小球必然平衡,即使去掉下面的8個對稱懸掛的小球也應靜止。由此得出:在等高的斜面上,相同的重物的作用與斜面的長度成反比,即重力、斜面壓力和繩的張力的平衡關係及與斜面邊長的比例關係。他還把左邊的4個小球和右邊的兩個小球分別凝成一球或把球鏈變成均勻的鏈條,結果也一樣。這樣就在兩力成直角的的情況下引入了力的三角形定則,並把這一原理(沒有明確表達出)套用到圖2以及兩繩懸一重物、一繩在三處掛不同重物等場景中,解決了許多複雜問題。
平行四邊形定則2.1687年,牛頓在《自然哲學的數學原理》的“物體的運動”的推論1、2中分別寫到:“一個物體,同時受到兩個力的作用,就將沿平行四邊形的對角線運動,所用的時間和它分開受到這兩個力的作用而沿兩邊運動的時間相同”,圖3所示。“這樣就說明了任何一個直接的力
AD是由兩個任意斜向的力AC和CD合成的:而且反過來,任何一個直接的力AD也可以分解為兩個斜向的力AC和CD這種合成和分解已在力學上完全得到驗證。”他還對推論1作了進一步的闡釋。牛頓憑藉敏銳的直覺,推斷出了運動和力的分解與合成所遵循的定則,但未作進一步的證明。
3.幾乎與此同時,法國皮耶利·瓦里翁向巴黎科學院提交了由他獨立得出的諸力合成的平行四邊形定則的報告,由於當時沒有三角函式的餘弦定理可用,他的報告表述得十分複雜,他的推導過程也很難在這裡表述清楚。1725年,瓦里翁在《新力學或靜力學》一書中用力的合成與分解原理解決了各種具體靜力學問題,並初步提出了“力矩”概念,找出了力的平行四邊形原理與力矩的關係。他還把力的平行四邊形原理推廣到運動學的速度中去,認為靜力學只是動力學的特例。
4.瑞士的伯努利家族也有貢獻。1726年,約翰·伯努利在寫給瓦里翁的信中提出力的平行四邊形原理可以用於靜力學。他用虛功原理分析在一個力學系統中力矩做功的問題,指出在任何力的平衡的情況下,無論這些力是直接地或是間接的用來支持相互平衡,“其正能之和等於負能之和”(所謂的“能”相當於我的所說的的“力”)。也就是說虛功原理可以用來分析任何一個多受力物體、多作用力或多受力點存在的力學體系。丹尼爾,伯努利則在《力學原理的研究及力的分解與合成證明》一文中對瓦里翁提出兩點質疑:①力與速度在運用合成與分解時不應成正比:②在各力的作用下物體的運動是不是具有獨立性。
5.此後,法國的潘索也對平行四邊形定則進行了數學證明並首先引入“剛體”、“力偶”等概念,進一步將靜力學用於剛體及機器結構的分析上。直到十九世紀乃至二十世紀初,包括拉普拉斯、茹可夫斯基……等眾多力學家在內,都花了許多時間來爭論:“這個法則究竟是一個數學定理,還是一個勿須證明的經驗法則或常識?“
6.總之,如同慣性定律一樣,這是一條永遠無法用實驗完美證明的定則。只是隨著矢量及其所遵循的運算定則的確立,力、位移、速度等被納入力的矢量體系,以及運動的獨立性、力的獨立作用原理和物體在摩擦力下運動的動力機制被揭示,人們才從邏輯上接受了這一定則。
套用
1、兩力的合成規律。 2、三力的合成規律。 3、特殊的平行四邊形。 4、合力的計算方法
5、分解可能性的討論。 6、動態平衡問題。
定律影響
平行四邊形定則方法被引進到分析和解析幾何中來,並逐步完善,成為了一套優良的數學工具。

