概述
實際通信中,將滿足量化器量化信噪比要求的輸入信號取值範圍定義為量化器的動態範圍。在電話通信中,電話語聲信號的動態範圍約為40dB,而高質量長途電話通信要求傳輸線路的信噪比至少應大於28dB,若在電話語聲信號的數位化過程中採用均勻量化,在小信號時量化信噪比就很難達到要求。
正是在這種實際約束現狀下,人們提出了壓擴技術(對數壓擴),能夠滿足長途電話通信的質量要求。
壓擴技術是將所傳輸的信號被有效地壓縮後再傳輸到另一端,在接收端信號再進行擴展,從而在給定的調製頻偏下能最大限度地提高系統的信噪比,大大地降低環境背景噪聲,話音質量得到了提高。即在發射的同時,它不但壓縮呼叫信號,並且還降低外部的噪音。而在接收到呼叫信號的同時,它又擴展其呼收信號,減少接收中心不必要的背景噪聲。採用此技術可以產生更加清脆、清晰的話音,能使你在嘈雜的環境中仍能保持暢通的聯繫,很具有實用價值。語音壓擴技術的使用促進了對講機質量水平的提高,改善了語音質量。
壓擴技術是通信系統設計中的一項抑制噪聲、提高話音質量的先進的音頻技術。顯然,壓擴技術是一種非線性量化技術。
壓擴是壓縮然後擴展的過程。利用壓擴系統,高振幅信號將在傳輸之間被壓縮(放大程度小於低振幅信號),然後在接收器中被擴展(放大程度大於低振幅信號)。壓擴是提高通信系統動態範圍的方法 。
在傳輸之前,動態範圍50dB的模擬輸入信號被壓縮到25dB,然後在接收器中將其擴展到它的原始動態範圍50dB。對於PCM,使用模擬或數位技術都可以完成壓擴。早期的PCM系統使用的是模擬壓擴,而更現代的系統使用則是數字壓擴。
分類
模擬壓擴
在歷史上,模擬壓擴是使用專門設計的二極體來實現的,這些二極體插在抽樣和保持電路之前的PCM發射器中的模擬信號路徑中。利用剛好安裝在PCM接收器中的低通濾波器之後的二極體,也可以實現模擬擴展。
壓擴基本過程:在發射器中,將對模擬信號的動態範圍進行壓縮和抽樣,然後轉換成線性PCM代碼。在接收器中,將把PCM代碼轉換成PAM信號,並對信號進行濾波,然後把它擴展回原始範圍。
不同的信號分布需要不同的壓擴特性。例如,語音質量的電話信號在較寬的動態範圍上需要相對恆定的SQR性能,這意味著對於所有信號電平,失真都必須與信號振幅成比例。這需要一個對數壓縮比,而這需要無限的動態範圍和無限的PCM代碼。當然,這是不可能達到的。不過,當前使用的兩種模擬壓擴方法與對數函式非常接近,通常把它們稱為對數PCM編碼方法。這兩種方法是u-law和A-law壓擴方法 。
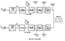
數字壓擴
壓擴對於數字壓擴來說,發射器中的壓縮發生在輸入樣本已經被轉換成線性PCM代碼之後,接受中的擴展發生在PCM解碼之前。
利用數字壓擴,首先對模擬信號抽樣,並將它們轉換成線性PCM代碼,然後對這些線性代碼進行數字壓縮。在接收器中,對壓縮的PCM代碼進行擴展和解碼。最新的數字壓縮PCM系統使用12位線性PCM代碼和8位壓縮PCM代碼。通過把曲線近似華城一組8條直線段(段0~7),壓縮和擴展曲線與u=255時的模擬u-law曲線非常相似。每個後續段的坡度都精確地等於前一段的一半 。

