基節的測量
基節[機械原理術語]基節是指基圓柱切平面與兩相鄰同側齒面交線間的距離,而基節偏差 是實際基節與公稱基節之差,如圖所示。其實,基節就是以線值表示韻基圓齒距,故可按長度量值進行測量,計算公式為:
基節[機械原理術語]式中m是模數,a壓力角。
測量方法
馬格齒輪漸開線螺旋線檢查儀所帶MT—11和MT—20型微觀檢測計可用於測量R或R來評定。在漸開線儀器上測量齒面時。需將漸開線儀器調整到測量漸開線齒形的狀態,或者說在漸開線齒形誤差之後,測量齒輪的基圓不動,將測齒形用的巨觀測量頭取下或移開,將微觀測量頭插進夾持器內,使金剛石頭與齒面接觸,啟動微觀檢測計與機器便可進行測量。通過測量電路將機械量變成電脈衝,經過放大,再經過檢波器送入MT—10顯示器便可讀出R或R值處理誤差時要注意,齒輪頂部與根部所畫曲線不相等,取截止長度時要注意其影響,評定誤差時,取基本長度內的5個最大的輪廓峰高與5個最大輪廓谷深的平均值之和,即為微觀不平度十點高度。
測量步驟
基節[機械原理術語]
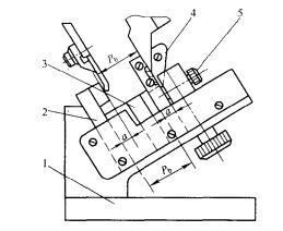
基節[機械原理術語]1.按公式 計算公稱基節值。按此公稱基節值組合量塊, 將量塊組放入塊規座內並鎖緊。
2.藉助塊規座的組合量塊,調整基節儀兩量爪3的位置,使指示表指針在示值範圍內對零。
3.將調好的儀器置於輪齒上。使量爪在齒頂圓附近與齒廓相切,在齒根圓附近與齒廓相切,並在兩相鄰齒面的重疊區內沿齒廓擺動,指示表的最小讀數即為基節偏差值。
4.至少在齒輪每隔120°的三個部位,在左右齒廓兩邊分別測量,取最大的正、負基節偏差各一個作為被測齒輪的基節偏差。
5.判斷該齒輪基節偏差的合格性。
![基節[機械原理術語] 基節[機械原理術語]](/img/7/f14/nBnauM3X4MTNyUTM1EjNzYTO1UTM1QDN5MjM5ADMwAjMwUzLxYzL3AzLt92YucmbvRWdo5Cd0FmLwE2LvoDc0RHa.jpg)
