工作過程
RAKE接收機利用多個相關器分別檢測多徑信號中最強的M個支路信號,然後對每個相關器的輸出進行加權,以提供優於單路相關器的信號檢測,然後再在此基礎上進行解調和判決。
RAKE接收機的工作過程技術發展及研究現狀
RAKE接收機1956年,Prcie和Green提出了具有抗多徑衰落的RAEK 接收機概念:1937年,Forney提出的基於已知信道特性的最大似然序列檢測器(MLSD),這是一種最優的單用戶接收機。美國QUALCOMM公司在80 年代堅持研究DS-CDMA技術,1989年,QUALCOMM公司進行了首次CDMA實驗。驗證了DS擴頻信號波形非常適合多徑信道的傳輸,以及RAKE接收機、功率控制和軟切換等CDMA的關鍵技術 。在 1996年推動了窄帶CDMA IS-95商用運行,讓RAKE接收機產業化,同時也推動了RAKE接收技術的長足發展。
面對未來的發展,RAKE接收機將同三項關鍵革新技術相結合:智慧型天線技術、多用戶檢測、MIMO系統。目前研究的熱點包括:RAKE接收機如何降低複雜度;多用戶檢測的最優算法;MIMO系統與OFDM的結合等。
基本原理
在CDMA擴頻系統中,信道頻寬遠遠大於信道的平坦衰落頻寬。不同於傳統的調製技術需要用均衡算法來消除相鄰符號間的碼間干擾,CDMA擴頻碼在選擇時就要求它有很好的自相關特性。這樣,在無線信道中出現的時延擴展,就可以被看作只是被傳信號的再次傳送。如果這些多徑信號相互間的延時超過了一個碼片的長度,那么它們將被CDMA接收機看作是非相關的噪聲,而不再需要均衡了。
RAKE接收機由於在多徑信號中含有可以利用的信息,所以CDMA接收機可以通過合併多徑信號來改善接收信號的信噪比。其實RAKE接收機所作的就是:通過多個相關檢測器接收多徑信號中的各路信號,並把它們合併在一起。圖為一個RAKE接收機,它是專為CDMA系統設計的經典的分集接收器,其理論基礎就是:當傳播時延超過一個碼片周期時,多徑信號實際上可被看作是互不相關的。 帶DLL的相關器是一個具有遲早門鎖相環的解調相關器。遲早門和解調相關器分別相差±1/2(或1/4)個碼片。遲早門的相關結果相減可以用於調整碼相位。延遲環路的性能取決於環路頻寬。
由於信道中快速衰落和噪聲的影響,實際接收的各徑的相位與原來發射信號的相位有很大的變化,因此在合併以前要按照信道估計的結果進行相位的鏇轉,實際的CDMA系統中的信道估計是根據發射信號中攜帶的導頻符號完成的。根據發射信號中是否攜帶有連續導頻,可以分別採用基於連續導頻的相位預測和基於判決反饋技術的相位預測方法。
RAKE接收機
RAKE接收機LPF是一個低通濾波器,濾除信道估計結果中的噪聲,其頻寬一般要高於信道的衰落率。使用間斷導頻時,在導頻的間隙要採用內插技術來進行信道估計,採用判決反饋技術時,先硬判決出信道中的數據符號,在已判決結果作為先驗信息(類似導頻)進行完整的信道估計,通過低通濾波得到比較好的信道估計結果,這種方法的缺點是由於非線性和非因果預測技術,使噪聲比較大的時候,信道估計的準確度大大降低,而且還引入了較大的解碼延遲。
延遲估計的作用是通過匹配濾波器獲取不同時間延遲位置上的信號能量分布,識別具有較大能量的多徑位置,並將它們的時間量分配到RAKE接收機的不同接收徑上。匹配濾波器的測量精度可以達到1/4~1/2碼片,而RAKE接收機的不同接收徑的間隔是一個碼片。實際實現中,如果延遲估計的更新速度很快(比如幾十ms一次),就可以無須遲早門的鎖相環。
RAKE接收機延遲估計的主要部件是匹配濾波器,匹配濾波器的功能是用輸入的數據和不同相位的本地碼字進行相關,取得不同碼字相位的相關能量。當串列輸入的採樣數據和本地的擴頻碼和擾碼的相位一致時,其相關能力最大,在濾波器輸出端有一個最大值。根據相關能量,延遲估計器就可以得到多徑的到達時間量。
從實現的角度而言,RAKE接收機的處理包括碼片級和符號級,碼片級的處理有相關器、本地碼產生器和匹配濾波器。符號級的處理包括信道估計,相位鏇轉和合併相加。碼片級的處理一般用ASIC器件實現,而符號級的處理用DSP實現。移動台和基站間的RAKE接收機的實現方法和功能儘管有所不同,但其原理是完全一樣的。
對於多個接收天線分集接收而言,多個接收天線接收的多徑可以用上面的方法同樣處理,RAKE接收機既可以接收來自同一天線的多徑,也可以接收來自不同天線的多徑,從RAKE接收的角度來看,兩種分集並沒有本質的不同。但是,在實現上由於多個天線的數據要進行分路的控制處理,增加了基帶處理的複雜度。
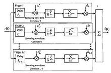
數字模型
FAKE接收機模型由推導可以得到RAKE接收機的一種實現模型,如圖所示。圖中把接收數據送入
RA此接收機的各指峰finger,在每個fillger中首先對接收數據做下抽樣和時延調整,保證各finger 均獲得有效的計算數據,並且使每個chip周期內有一個抽樣值;接著是與本地擴頻地址碼進行相關運算,隨後在整個擴頻地址碼長度內求平均,並以符號長度為周期抽樣,然後將各finger的計算值乘以信道加權係數口,後合併相加,最後得到RAKE 接收輸出值x(t)
RAKE接收機模型
套用
WCDMA中RAKE接收機實現方案
WCDMA中RAKE接收機實現方案WCDMA中的RAKE接收機的一種實現方案如圖所示。在圖中,RAKE接收機
的每個finger由內插/下抽樣、解擾、數據信道解擴、抽樣、相位補償、導頻信道解擴、抽樣時鐘偏移跟蹤、定時跟蹤、相位誤差跟蹤等單元組成;而擾碼捕獲、多徑捕獲、RAKE finger控制等單元是整個解擴解調接收機的控制部分。RAKE接收機的每個finger負責每個多徑的接收與跟蹤,其中還包括信道參數的估計和補償,RAKE接收機的控制部分負責多徑捕獲和多徑信號取捨,合併單元將從各個finger中獲得的解擴解調信號按一定的算法進行合併,以便有效地檢測用戶信息比特。
MATLAB仿真
使用MATLAB實現CDMA系統的Rake接收機。假設信源輸出用16位Walsh碼擴頻,進入接收機的有3徑(即N=3);假設每條徑之間延時半個碼片,為了進行仿真,對Walsh碼進行擴展,每個碼字重複一次,則長度擴展為32位,如[1 1 0]擴展為[1 1 1 1 0 0]。接收機接收解擴判決輸出,利用的是最大比合併。
%接收到的三徑信號以及噪聲信號
demp=p1*path1+p2*path2+p3*path3+noise;
dt=reshape(demp,32,Dlen)';
%將Walsh碼重複為兩次
Wal16_d(1:2:31)=Wal16(8,1:16);
Wal16_d(2:2:32)=Wal16(8,1:16);
rdata1=dt*Wal16_d(1,:).'; %解擴後rdata1為第一徑輸出
Wal16_delay1(1,2:32)=Wal16_d(1,1:31); %將Walsh碼延遲半個碼片
rdata2=dt*Wal16_delay1(1,:).'; %解擴後rdata2為第二徑輸出
%將Walsh碼延遲一個碼片
Wal16_delay2(1,3:32)=Wal16_d(1,1:30);
Wal16_delay2(1,1:2)=Wal16_d(1,31:32);
rdata3=dt*Wal16_delay2(1,:).'; %解擴後rdata3為第三徑輸出
p= rdata1'*rdata1+ rdata2'*rdata2+ rdata3'*rdata3;
u1= rdata1'*rdata1/p;
u2= rdata2'*rdata2/p;
u3= rdata3'*rdata3/p;
%最大值合併
u=[u1,u2,u3];
%各路徑所占的功率因子
maxu=max(u);
if(maxu==u1)
rd_m3=real(rdata1);else if(maxu==u2)
rd_m3=real(rdata2);
else rd_m3=real(rdata3);
end
end
系統性能
RAKE接收機性能
RAKE接收機性能我們對反向信道Rake接收行為作蒙特卡羅仿真,並對系統作以下簡化:
1.對Rake性能的影響接收性能作仿真,不考慮卷積編解碼、交織與解交織
系統。設信息比特速率為DS-UWB最高速率,不進行符號重複;
2.對基帶信號作仿真,忽略基帶濾波器和載波調製方式的影響。
3.系統抽樣時間為PN碼片速率8倍
4.Rayleigh衰落衝擊回響數據通過Jakes模型導出,最大都卜勒頻移為140Hz,採用COST-207城市模型。 數據接收完畢後,通過比較接收序列與原始隨機序列,可以得到Rake接收機在當前噪聲環境下的誤碼率。仿真結果如圖所示。
圖中,仿真結果以誤碼率(BER/FEF)和信躁比(E/N)的關係曲線給出,E/N通過改變I值計算並顯示相應的BER或FER,平均導頻信道功率表現為移動台天線處的接受功率譜密度。從仿真過程可以看出,RAKE接收機能比較好的解決多徑問題。白噪聲干擾對Rake接收機誤碼率影響不大,而隨著干擾用戶功率增加,Rake接收機的誤碼率迅速上升。
移動通信中的關鍵技術1
| 移動通信是通信領域中最具活力、最具發展前途的一種通信方式。它是當今信息社會中最具個性化特徵的通信手段。發展迅速的移動無線通信正在以前所未有的方式改變著我們的生活。 |

