E-MBMS網路架構
在3GPPR6/R7中,通過在3G系統中增加BM-SC(BroadcastMulticastServiceCenter,廣播組播業務中心)(包括定義Gmb、Gi接口),並向已有的網路實體增加MBMS功能來提供MBMS業務。因此R6/R7MBMS可以看作是對3G系統的一種功能擴展。而在E-MBMS(EnhancedMultimediaBroadcastMulticastService,增強多媒體廣播多播業務)中提供了完整的邏輯架構(圖1),包括在核心網中定義的MBMS邏輯實體和在接入網中定義的多小區/多播協調實體(Multi-cell/multicastCoordinationEntity,MCE),以及相關的控制面、用戶面接口。E-MBMS這種完整、獨立的邏輯架構,便於對MBMS各部分功能進行靈活部署,有利於MBMS的資源最佳化和性能提升。
圖1 E-MBMS邏輯架構E-MBMS網元和接口
MCE
MCE是專門為MBSFN多小區傳輸而引入的一個邏輯實體,它既可以作為某些功能實體(如eNodeB)的一部分,也可以是一個獨立的實體。MCE的功能是為處於MBSFN區域中的所有採用MBSFN方式進行多小區MBSFN傳輸的小區分配無線資源。除了配置時頻資源外,MCE還將決定進一步的無線配置,如MCS。MCE參與MBMS會話控
制信令。MCE不支持UE-MCE之間的信令。
當MCE作為其他網元的一部分時,eNB由單個MCE進行服務。
E-MBMS網關
MBMS業務在核心網中由E-MBMS網關負責處理,它由控制面和用戶面功能組成,這兩部分功能可以實現於不同的網路實體。其基本功能是傳輸和廣播經由同步協定處理了的MBMS數據包給相應的eNB。E-MBMS網關採用IP組播方式將MBMS用戶數據傳送給eNB。E-MBMS網關通過MME(MobilityManagementEntity,移動性管理實體)把MBMS會話控制信令(Sessionstart/stop)傳給E-UTRAN。
eBM-SC
eBM-SC(envolvedBroadcastandMulticastServiceCenter,演進的廣播組播業務中心)是演進版的BM-SC,它不但具有BM-SC的功能,還能夠在使用MBMS承載(通過SGmb、SGimb接口)或者使用單播承載(通過SGi接口)之間進行選擇,這樣使得eBM-SC有能力針對業務特性和用戶數量來選擇合理的承載類型。由於在E-MBMS中提供了增強廣播承載類型,因此UE可能使用單播承載向eBM-SC進行註冊/註銷。此外,eBM-SC還能夠通過單播承載向特定用戶提供高級別的MBMS業務。
M1接口
M1接口是E-MBMS網關和eNodeB之間的用戶面接口,對於MBSFN多小區傳輸,這裡使用SYNC協定來保證MBMS內容同步。
M2接口
M2接口是MCE和eNodeB之間的控制面接口,MCE通過該接口對eNodeB進行無線資源管理以及傳遞MBMS會話控制信令。
M3接口
M3接口是MCE和MME之間的接口,負責傳遞MBMS會話控制信令。信令傳輸採用SCTP(StreamControlTransmissionProtocol,流控制傳輸協定),即採用PTP(PointtoPoint,點對點)信令。
SGmb接口
SGmb接口為eBM-SC和E-MBMS網關用戶面之間的接口,負責中轉eBM-SC與E-MBMS網關控制面功能之間的信令。
SG-imb接口
SG-imb接口為eBM-SC和E-MBMS網關用戶面之間的接口,負責接收來自eBM-SC的MBMS業務數據(通過SGimb接口)。
SGi接口
SGi接口為eBM-SC和PDN網關用戶面之間的接口,當eBM-SC採用單播承載時使用此接口,負責傳遞MBMS控制信令和業務數據。
LTE
LTE概念
LTE(LongTermEvolution,長期演進),又稱E-UTRA/E-UTRAN,和3GPP2UMB合稱E3G(Evolved3G)
LTE是由3GPP(The3rdGenerationPartnershipProject,第三代合作夥伴計畫)組織制定的UMTS(UniversalMobileTelecommunicationsSystem,通用移動通信系統)技術標準的長期演進,於2004年12月在3GPP多倫多TSGRAN#26會議上正式立項並啟動。LTE系統引入了OFDM(OrthogonalFrequencyDivisionMultiplexing,正交頻分復用)和MIMO(Multi-InputΜlti-Output,多輸入多輸出)等關鍵傳輸技術,顯著增加了頻譜效率和數據傳輸速率(20M頻寬2X2MIMO在64QAM情況下,理論下行最大傳輸速率為201Mbps,除去信令開銷後大概為140Mbps,但根據實際組網以及終端能力限制,一般認為下行峰值速率為100Mbps,上行為50Mbps),並支持多種頻寬分配:1.4MHz,3MHz,5MHz,10MHz,15MHz和20MHz等,且支持全球主流2G/3G頻段和一些新增頻段,因而頻譜分配更加靈活,系統容量和覆蓋也顯著提升。LTE系統網路架構更加扁平化簡單化,減少了網路節點和系統複雜度,從而減小了系統時延,也降低了網路部署和維護成本。LTE系統支持與其他3GPP系統互操作。LTE系統有兩種制式:FDD-LTE和TDD-LTE,即頻分雙工LTE系統和時分雙工LTE系統,二者技術的主要區別在於空中接口的物理層上(像幀結構、時分設計、同步等)。FDD-LTE系統空口上下行傳輸採用一對對稱的頻段接收和傳送數據,而TDD-LTE系統上下行則使用相同的頻段在不同的時隙上傳輸,相對於FDD雙工方式,TDD有著較高的頻譜利用率。
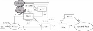
LTE/EPC的網路架構如圖2所示。
圖2 3GPP接入的非漫遊架構LTE系統結構
LTE採用由eNB構成的單層結構,這種結構有利於簡化網路和減小延遲,實現低時延、低複雜度和低成本的要求。與3G接入網相比,LTE減少了RNC節點。名義上LTE是對3G的演進,但事實上它對3GPP的整個體系架構作了革命性的改變,逐步趨近於典型的IP寬頻網路結構。
LTE的架構也叫E-UTRAN架構,如圖3所示。E-UTRAN主要由eNB構成。同UTRAN網路相比,eNB不僅具有NodeB的功能,還能完成RNC的大部分功能,包括物理層、MAC層、RRC、調度、接入控制、承載控制、接入移動性管理和Inter-cellRRM等。eNodeB和eNodeB之間採用X2接口方式直接互連,eNB通過S1接口連線到EPC。具體地講,eNB通過S1-MME連線到MME,通過S1-U連線到S-GW。S1接口支持MME/S-GW和eNB之間的多對多連線,即一個eNB可以和多個MME/S-GW連線,多個eNB也可以同時連線到同一個MME/S-GW。
圖3 LTE整體結構