E-MBMS綜述
E-MBMS提供差異化、可定製、更加豐富的數據類業務,業務內容包括文本、圖片、音頻、視頻等。採用E-MBMS承載業務最大的優點就是,當小區內使用該業務的用戶數比較多時,相對於單播業務能夠節約大量的無線傳輸資源。因此E-MBMS比較適合開展大數據流量,並且具有一定數量的用戶群的廣播業務,如手機電視業務、手機電台等業務,這樣其節約無線資源的優勢才可充分發揮。其次,對於面向大多數用戶的小數據流量的廣播業務,如災難預警信息下發、商業廣告等,採用E-MBMS承載也是個不錯的選擇。除了廣播業務,E-MBMS還可以提供更豐富的組播業務,並且可實現高可靠的下載業務。E-MBMS不僅可用於承載用戶主動訂閱的業務,還可以為用戶提供多種豐富的推送業務。對於廣播類業務,採用MBMS廣播信道來承載;對於組播和點播類業務,採用組播信道或單播信道來承載。由此可見,同一小區內接收相同業務的用戶越多,MBMS帶來的網路資源節約越明顯。
E-MBMS網路架構
在3GPP R6/R7中,通過在3G系統中增加BM-SC(Broadcast Multicast Service Center,廣播組播業務中心)(包括定義Gmb、Gi接口),並向已有的網路實體增加MBMS功能來提供MBMS業務。因此R6/R7 MBMS可以看作是對3G系統的一種功能擴展。而在E-MBMS(Enhanced Multimedia Broadcast Multicast Service,增強多媒體廣播多播業務)中提供了完整的邏輯架構(圖1),包括在核心網中定義的MBMS邏輯實體和在接入網中定義的多小區/多播協調實體(Multi-cell/multicast Coordination Entity,MCE),以及相關的控制面、用戶面接口。E-MBMS這種完整、獨立的邏輯架構,便於對MBMS各部分功能進行靈活部署,有利於MBMS的資源最佳化和性能提升。
圖1 E-MBMS邏輯架構E-MBMS網元和接口
MCE
MCE是專門為MBSFN多小區傳輸而引入的一個邏輯實體,它既可以作為某些功能實體(如eNodeB)的一部分,也可以是一個獨立的實體。MCE的功能是為處於MBSFN區域中的所有採用MBSFN方式進行多小區MBSFN傳輸的小區分配無線資源。除了配置時頻資源外,MCE還將決定進一步的無線配置,如MCS。MCE參與MBMS會話控
制信令。MCE不支持UE-MCE之間的信令。
當MCE作為其他網元的一部分時,eNB由單個MCE進行服務。
E-MBMS網關
MBMS業務在核心網中由E-MBMS網關負責處理,它由控制面和用戶面功能組成,這兩部分功能可以實現於不同的網路實體。其基本功能是傳輸和廣播經由同步協定處理了的MBMS數據包給相應的eNB。E-MBMS網關採用IP組播方式將MBMS用戶數據傳送給eNB。E-MBMS網關通過MME(Mobility Management Entity,移動性管理實體)把MBMS會話控制信令(Session start/stop)傳給E-UTRAN。
eBM-SC
eBM-SC(envolved Broadcast and Multicast Service Center,演進的廣播組播業務中心)是演進版的BM-SC,它不但具有BM-SC的功能,還能夠在使用MBMS承載(通過SGmb、SGimb接口)或者使用單播承載(通過SGi接口)之間進行選擇,這樣使得eBM-SC有能力針對業務特性和用戶數量來選擇合理的承載類型。由於在E-MBMS中提供了增強廣播承載類型,因此UE可能使用單播承載向eBM-SC進行註冊/註銷。此外,eBM-SC還能夠通過單播承載向特定用戶提供高級別的MBMS業務。
M1接口
M1接口是E-MBMS網關和eNodeB之間的用戶面接口,對於MBSFN多小區傳輸,這裡使用SYNC協定來保證MBMS內容同步。
M2接口
M2接口是MCE和eNodeB之間的控制面接口,MCE通過該接口對eNodeB進行無線資源管理以及傳遞MBMS會話控制信令。
M3接口
M3接口是MCE和MME之間的接口,負責傳遞MBMS會話控制信令。信令傳輸採用SCTP(Stream Control Transmission Protocol,流控制傳輸協定),即採用PTP(Point to Point,點對點)信令。
SGmb接口
SGmb接口為eBM-SC和E-MBMS網關用戶面之間的接口,負責中轉eBM-SC與E-MBMS網關控制面功能之間的信令。
SG-imb接口
SG-imb接口為eBM-SC和E-MBMS網關用戶面之間的接口,負責接收來自eBM-SC的MBMS業務數據(通過SGimb接口)。
SGi接口
SGi接口為eBM-SC和PDN網關用戶面之間的接口,當eBM-SC採用單播承載時使用此接口,負責傳遞MBMS控制信令和業務數據。
LTE E-MBMS套用場景
E-MBMS根據業務類型分為流媒體業務、信息廣播業務、互動類業務和數據下載業務。
流媒體業務
1. 概述
流媒體業務指使用流方式在網路上傳輸多媒體檔案,包括音頻、視頻和動畫等。把連續的影像和聲音信息經過壓縮處理後放到網路伺服器上,客戶端在播放前並不需要下載整個媒體檔案,而是在將快取區中已經收到的信息進行播放的同時,多媒體檔案的剩餘部分將持續不斷地從伺服器下載到客戶端,即“邊下載,邊播放”。
流媒體業務根據數據內容的播放方式可以分為兩種業務類型。
(1)流媒體點播:內容提供商將預先錄製好的多媒體內容編碼壓縮成相應格式,存放在內容伺服器上,並把內容的描述信息以及連結放置在流媒體的入口網站上。用戶可通過訪問入口網站發現感興趣的內容,有選擇地進行播放。典型套用如賽事回放、電影點播等。
(2)流媒體直播:流媒體編碼伺服器將實時信號編碼壓縮成相應的格式,並經由流媒體伺服器分發到用戶的終端播放器。典型套用如演唱會直播、通過手機收聽電台廣播等。
2. 套用場景
(1) 移動電視
移動電視業務又稱為手機的移動視頻業務,是通過手機等移動終端,使用戶可以享受電視節目的無窮樂趣。人們可以從手機獲得較高質量的音視頻收視體驗,最終實現能打電話就能收看電視節目的目標。《通信世界》周刊、搜狐IT曾經一起做過一項關於3G業務調查,有70%左右的人對手機直播十分感興趣。正是隨著移動通信技術的快速發展以及廣泛使用,使得增強型多媒體廣播多播服務(E-MBMS)成為3G以及IMT-Advanced領域的研究熱點。IMT-Advanced技術將實現更高的數據率和更大的系統容量。E-MBMS不僅能實現低速率的文本類的組播和廣播業務,而且能夠實現高速率的多媒體業務的組播和廣播。
A.移動電視的分時部署
用戶使用移動多媒體業務主要是在閒暇時段。在工作和生活的每一天中,幾乎每個人都有一些所謂的閒暇時間需要充實,移動多媒體業務正好可以填補這一需求。以普通上班族為例,早晨出門在路上,有可能會看一下早新聞;上班工作時間,如果想看看股票信息,又怕領導或同事發現,躲在一個角落,通過手機看一下股市行情;午餐期間,可以看看輕鬆幽默的短劇,放鬆一下;下午,要外出辦公,在車裡看看MTV;下班途中,可以看看晚新聞;晚飯後,通過手機看一部電影或音樂會。
B. 移動電視的分區域部署
一個城市的每個區域都有不同的功能劃分,每個區域的不同時段人流特點也不完全相同。正是這些差異的存在,要求在部署移動多媒體業務時,要考慮不同用戶的不同需求。對於E-MBMS業務來說,每個小區的覆蓋範圍更小了,甚至可以細分到每個樓層,這為分區域部署業務提供了可能。廣電運營商是不具備這個特點的,移動運營商可以充分利用這個優勢開展特色業務。
C. 移動電視的集群業務
在一些大企業的廠區或寫字樓有時會有單獨的基站進行覆蓋。在這些區域,可以開展針對這些企業的特色服務,如公司全體大會、信息通報等。
(2) 2.視頻流媒體點播
用戶可根據個人喜好點播電影、卡通動漫等視頻節目。
(3) 3.無線電台(音頻流媒體直播)
無線電台就是利用E-MBMS技術來傳輸音頻服務,用戶可通過手機收聽無線電台。
(4) 4.遠程監控
遠程監控業務的媒體類型也是流媒體,基於這一點,遠程監控也是流媒體業務的一種。傳統的遠程監控業務是通過計算機接入Internet網路查看遠程監控結果。基於MBMS平台的遠程監控,該業務可實時地將遠程監控結果傳送給多個用戶,管理人員可以隨時隨地通過移動終端查看監控結果,大大提高了遠程監控的效率。
信息廣播業務
1.概述
信息廣播業務可針對某一區域的人群進行推送訊息的傳送,以達到給部分人群傳送實時訊息的目的,其媒體類型主要為文本、圖片及音頻視頻。該類業務套用較為豐富,例如針對某旅遊景點的遊客傳送推送訊息介紹景點信息,商場可向商場內的客人傳送促銷打折信息及其他廣告,可向火災現場附近的手機用戶傳送火警通知,在機場內傳送航班信息及廣告等。
2.套用場景
(1)實時信息的下發
該類業務利用E-MBMS平台的實時性,可及時下發時效性較強的信息,這些信息可以僅僅由文字描述,也可以附帶圖片、視頻等詳細信息。該類業務可分為兩類:一類是面向簽約用戶的定製實時信息,用戶通過定製基於E-MBMS的實時信息服務,可以在第一時間掌握所需的最新資訊,如早高峰和晚高峰的實時交通路況信息,財經、體育等分類新聞信息,最新的天氣預報等;一類是面向某一區域所有用戶的緊急通知,例如,政府可利用MBMS平台實時下發緊急通知,如災難天氣預警等。
(2)廣告信息下發
該類業務利用E-MBMS可針對某一區域的人群進行傳送推送訊息的特點,為用戶提供多種豐富的“PUSH”業務,例如,商場可針對商場內的客戶傳送商品信息及打折促銷信息、也可以在整個市區的範圍內傳送廣告信息。
(3)旅遊景點信息下發
旅遊景點可利用E-MBMS平台,針對景點內的遊客傳送景點介紹、旅遊諮詢及相關廣告等信息。
數據下載業務
1.概述
數據下載業務是指通過廣播或組播的方式下發數據檔案信息,下發的檔案格式支持標準化的格式,如mp3、txt、doc等。由支持MBMS的用戶終端接收數據檔案後,使用相應的套用來打開這些檔案。典型套用有檔案共享、軟體補丁自動下載和升級等。下載E-MBMS可以提供豐富多彩的數據業務的套用。運營商可以為用戶提供視頻、音頻,多媒體雜誌、套用軟體等檔案供用戶定期或不定期下載。
2.套用場景
(1)軟體下載與升級
為用戶提供套用軟體安裝程式及軟體升級程式的下載。
(2)多媒體雜誌
多媒體雜誌是利用MBMS技術傳輸數據檔案,可支持包括圖片、音樂、體育報導等內容的多媒體雜誌下發。
(3)閒時下載
該業務可利用晚間閒時自動下載用戶所定製的音樂、電影、新聞、體育、綜藝、連續劇、影集、卡通、漫畫等眾多類型的娛樂內容,第二天用戶在乘坐捷運或空閒的時候可觀看前一天晚上自動下載的信息,十分方便。例如KDDI的Channel Plus業務就屬於此類套用。另外,軟體和軟體升級程式也可利用閒時下載服務,在晚間閒時下載和自動安裝、升級。
互動類業務
1.概述
互動類業務指的是終端用戶和遠程設備(如遠程伺服器)進行線上數據互動的業務,特點是請求回響模式。最典型的互動類業務就是Web瀏覽、資料庫檢索、網路遊戲等。
2.套用場景
(1)分類主題討論
與廣電運營商相比,移動運營商的優勢就是很好的互動性,利用互動平台可以建立“用戶部落”,把對某一方面感興趣的用戶聚集起來,利用簡訊功能為用戶建立一個交流的平台,進而可以建立子品牌,如“足球部落”、“汽車部落”、“育兒部落”等,提高用戶的忠誠度,降低離網率。在這一點上,E-MBMS的組播業務可以為此提供一個很好的平台,具有相同需求的用戶可以通過組播業務聚焦於同一個主題,還可以通過簡訊平台發表評論。
(2)手機投票
可配合手機電視業務開展互動業務,例如,收看手機電視的觀眾可通過手機實時參與投票及進行評論。
LTE
LTE概念
LTE(Long Term Evolution,長期演進),又稱E-UTRA/E-UTRAN,和3GPP2 UMB合稱E3G(Evolved 3G)
LTE是由3GPP(The 3rd Generation Partnership Project,第三代合作夥伴計畫)組織制定的UMTS(Universal Mobile Telecommunications System,通用移動通信系統)技術標準的長期演進,於2004年12月在3GPP多倫多TSG RAN#26會議上正式立項並啟動。LTE系統引入了OFDM(Orthogonal Frequency Division Multiplexing,正交頻分復用)和MIMO(Multi-Input & Multi-Output,多輸入多輸出)等關鍵傳輸技術,顯著增加了頻譜效率和數據傳輸速率(20M頻寬2X2MIMO在64QAM情況下,理論下行最大傳輸速率為201Mbps,除去信令開銷後大概為140Mbps,但根據實際組網以及終端能力限制,一般認為下行峰值速率為100Mbps,上行為50Mbps),並支持多種頻寬分配:1.4MHz,3MHz,5MHz,10MHz,15MHz和20MHz等,且支持全球主流2G/3G頻段和一些新增頻段,因而頻譜分配更加靈活,系統容量和覆蓋也顯著提升。LTE系統網路架構更加扁平化簡單化,減少了網路節點和系統複雜度,從而減小了系統時延,也降低了網路部署和維護成本。LTE系統支持與其他3GPP系統互操作。LTE系統有兩種制式:FDD-LTE和TDD-LTE,即頻分雙工LTE系統和時分雙工LTE系統,二者技術的主要區別在於空中接口的物理層上(像幀結構、時分設計、同步等)。FDD-LTE系統空口上下行傳輸採用一對對稱的頻段接收和傳送數據,而TDD-LTE系統上下行則使用相同的頻段在不同的時隙上傳輸,相對於FDD雙工方式,TDD有著較高的頻譜利用率。
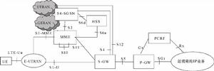
LTE/EPC的網路架構如圖2所示。
圖2 3GPP非漫遊架構—S-GW與P-GW分設LTE系統結構
LTE採用由eNB構成的單層結構,這種結構有利於簡化網路和減小延遲,實現低時延、低複雜度和低成本的要求。與3G接入網相比,LTE減少了RNC節點。名義上LTE是對3G的演進,但事實上它對3GPP的整個體系架構作了革命性的改變,逐步趨近於典型的IP寬頻網路結構。
LTE的架構也叫E-UTRAN架構,如圖 3所示。E-UTRAN主要由eNB構成。同UTRAN網路相比,eNB不僅具有Node B的功能,還能完成RNC的大部分功能,包括物理層、MAC層、RRC、調度、接入控制、承載控制、接入移動性管理和Inter-cell RRM 等。eNodeB和eNodeB之間採用X2接口方式直接互連,eNB通過S1接口連線到EPC。具體地講,eNB通過S1-MME連線到MME,通過S1-U連線到S-GW。S1接口支持MME/S-GW和eNB之間的多對多連線,即一個eNB可以和多個MME/S-GW連線,多個eNB也可以同時連線到同一個MME/S-GW。
圖3 LTE整體結構