饅頭窯
正文
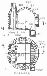
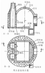
一種外形呈圓拱頂的間歇式半倒焰陶瓷燒成窯。它的雛形最早出現於中國戰國時代,以柴為燃料,唐代以後以煤為燃料。這種窯多分布在中國北方各省,尤以河北邯鄲附近為多。結構 由於煤燃燒時火焰短、煤層阻力大,因此饅頭窯窯身較短(見圖),護柵面積及其降落深度大。一般窯的有效面積約11m2,燃燒室呈半圓形,約3.5m2,窯門封後留一爐口,用於投柴或煤。火焰先由燃燒室升向窯頂,然後倒回窯底,通過後牆下面的吸菸口,經煙囪排出,屬半倒焰式。
饅頭窯![饅頭窯[燒制瓷器的建築] 饅頭窯[燒制瓷器的建築]](/img/4/b20/wZwpmLz9lN1cTNycDN4ETM4ATOxEDMwADMwADMwADMwATMw8SMx8iN18SbvNmLn52bk92bo5Cd0FmLwE2LvoDc0RHa.jpg)
古代北方廣泛使用饅頭窯,尤以河北的峰峰等地較多。一般長約2.7米,寬約4.2米,高約5米以上,火膛和窯室合為一個饅頭形,故名。點火後,火焰自火膛先噴至窯頂,再倒向窯底,流經坯體,煙氣從後牆底部的吸火孔入後牆內的煙囪排出。
饅頭窯江西景德鎮市饅頭窯位於景德鎮古窯民俗博覽區內,距今已有800年歷史。饅頭窯是元代景德鎮燒制瓷器最主要的爐窯,以窯形近似饅頭而得名,燒成溫度可高達1300...
歷史沿革 復燒活動 建築結構 製作工藝邢窯,漢族傳統制瓷工藝中的珍品,唐代著名的瓷窯,距今已有1500餘年的歷史,是隋唐時期七大名窯之一,是中國北方最早燒制白瓷的窯場,在唐代有著“南青北白”...
介紹 發展歷程 產品特點 出土文物 代表器物古窯瓷廠位於景德鎮西市區楓樹山蟠龍崗,占地83公頃是一個集陶瓷歷史文化博覽、陶瓷製作體驗及娛樂休閒為一體是的AAAA級景區。
簡介 景點 旅遊線路 藝人 非遺傳人古窯民俗博覽區集中再現了景德鎮千年的制瓷歷史,尤其是15~16世紀景德鎮制瓷業的風貌,被譽為一座“活的陶瓷歷史博物館”、陶瓷文化知識經典景區。古窯民俗博...
簡介 地理位置 人文歷史 旅遊景點黃堡鎮耀州窯遺址是中國古代北方著名青瓷窯址。分布在陝西銅川黃堡鎮、玉華、上店、立地坡、陳爐鎮和耀縣塔坡一帶。其中黃堡鎮窯址密集,位於漆水河兩岸,範圍長達...
遺址概述 作坊遺蹟 窯爐結構 產品與製造工藝 耀州窯博物館景德鎮古窯民俗博覽區位於景德鎮市瓷都大道古窯路1號(伊龍大酒店旁),國家AAAAA級景區、國家文化產業示範基地、國家級非物質文化遺產生 產性保護示範基地...
簡介 旅遊線路 古窯人文歷史 非遺傳人景德鎮古窯位於 市瓷都大道古窯路1號(伊龍大酒店旁),國家AAAAA級景區、國家文化產業示範基地、國家級非物質文化遺產,生產性保護示範基地。景區距機場、...
簡介 景德鎮古窯景點 旅遊線路 制瓷藝人 古窯非遺傳人景德鎮窯是中國傳統制瓷工藝之一,宋代六大窯系。誕生於今江西省景德鎮,故稱景德鎮窯,實際上由數個窯口組成,故又稱景德鎮窯系。 景德鎮有著悠久的制瓷歷史,完...
起源 基本簡介 多品種 窯特點 燒造歷史,成為專門燒造瓷器的窯爐。按形制來分,窯爐有饅頭窯(圓窯)、龍窯、階級窯...節省燃料的長處,適合於燒制德化窯白釉瓷器等含氧化鉀成分較高、釉在高溫下...等。燒制瓷器的窯口,各省各地可謂數不勝數,歷代名窯也是星羅棋布。北宋時期,出現...
概述 瓷窯結構 瓷窯價值 瓷窯遺址 磁州窯