頂銷機構工作原理
吊具頂銷機構有2種工作狀態,見圖。
頂銷當吊具著箱後,頂銷被頂入孔銷內,帶動著床感應塊向上運動,頂銷限位導通,當所有頂銷限位都到位且程式滿足聯鎖條件時,司機室“著床燈”亮,司機可進行開鎖和閉鎖操作;當吊具在作業完成後(即與貨櫃分離時)或裝卸過程中(即吊起貨櫃時),頂銷在彈簧回復力作用下伸出箱底,頂銷限位斷開,此時無“頂銷到位”信號,司機室“著床燈”滅。
頂銷機構尺寸設計
1、加裝的頂銷機構結構
頂銷機構由頂銷裝置和限位支架兩部分組成,各部件名稱及結構見圖。
頂銷頂銷機構主要部件的作用見表。
頂銷由於轉鎖處各部件結構較為緊湊,機械式限位在動作時需占用一定空間,為了避免在轉鎖工作中出現運動干涉,採用電感式接近限位。
2、頂銷機構設計要點
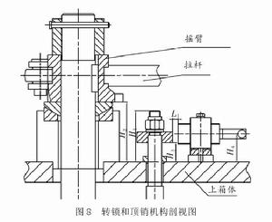
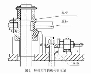
頂銷被頂起時,轉鎖和頂銷機構的剖面圖見圖。
頂銷在頂銷被頂起時,轉鎖處各部件結構較為緊湊,所加裝的頂銷 B 位於轉鎖拉桿下方,故無法採取與原頂銷 A 相同的設計尺寸。
為避免與轉鎖搖臂或拉桿的運動軌跡發生干涉,在頂銷被頂起時,頂銷 B 頂部與上箱體之間的距離(H1)需小於轉鎖搖臂下平面與上箱體之間的距離(H2)。已知頂銷的運動行程為20mm及H2為88mm,取H1為75mm。在頂銷落下時,H1為55mm。確定加裝頂銷與其接近限位的位置關係。使用西克 IME30 型電感式接近限位,其感應距離為10mm,取西克 IME30 型電感式接近限位與限位感應塊之間的距離(L1)為8mm。根據頂銷的運動行程,限位感應塊與上箱體之間的距離(H3)取28mm。限位中心與上箱體之間的距離(H4)取41mm,可保證感應塊在上下運動中限位動作正常。頂銷B的其餘軸向及徑向尺寸與原頂銷 A 一致。頂銷、導向固定塊、限位感應塊、限位架子和底座都選用 #45低碳鋼,其具有良好的綜合性能,特別適合受到交變負荷作用的頂銷這類桿件;彈簧使用 65Mn 鋼;擰緊螺母和螺絲使用普通不鏽鋼。
加裝的頂銷限位與原限位相串聯,分兩路進入吊具主電氣接線箱內,見圖。
頂銷只有當著床信號1和信號2都到位,即8個限位都感應得電時,“著床燈”才亮起。在吊裝的過程中遇到吊具鎖頭沒有到框架箱的鎖孔內,需重新吊裝,起到良好的電氣保護作用。

