基本內容
閉環傳遞函式是廣泛套用在自動控制原理傳遞函式中的一個概念。
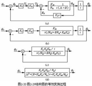
在負反饋閉環系統中: 假設系統單輸入R(s);單輸出C(s),前向通道傳遞函式G(s),反饋為負反饋H(s)。此閉
閉環傳遞函式
閉環傳遞函式是廣泛套用在自動控制原理傳遞函式中的一個概念。在負反饋閉環系統中: 假設系統單輸入R(s);單輸出C(s),前向通道傳遞函式G(s),反饋為負反饋H(s)。此閉環系統的閉環傳遞函式為 G(s)/[1+H(s)*G(s)]。
閉環傳遞函式是廣泛套用在自動控制原理傳遞函式中的一個概念。
在負反饋閉環系統中: 假設系統單輸入R(s);單輸出C(s),前向通道傳遞函式G(s),反饋為負反饋H(s)。此閉
閉環傳遞函式傳遞函式是指零初始條件下線性系統回響(即輸出)量的拉普拉斯變換(或z變換)與激勵(即輸入)量的拉普拉斯變換之比。記作G(s)=Y(s)/U(s),其中Y...
基本釋義 常識 性質 極點和零點 套用環路傳遞函式,即混亂的網路環路交給一個較大的程式一般應分為若干個程式塊,由每一個模組用來實現一個特定的功能。
諧振式光纖陀螺環路鎖頻技術線上性連續系統中,把初始值為零時,系統輸出信號的拉氏變換與輸入信號的拉氏變換之比,定義為傳遞函式。線上性離散系統中,把初始值為零時,系統離散輸出信號的z...
表征線性採樣系統輸出輸入關係的傳遞函式 限制條件 局限性閉環控制電路是指與控制對象存在反饋聯繫的控制電路。開環控制電路結構簡單,成本低,但控制精度較低。為在系統中保持轉速的恆定,可以加入一些測量比較元件組成閉環系統。
正文開環傳遞函式是自動控制原理中的傳遞函式的內容之一,自動控制系統中一般而言它有兩種解釋,一種是開環系統,另一種是閉環系統。
對於空間不變線性系統的成像性質,我們用物、像平面上不同頻率的餘弦基元的振幅比和相位差表示。相位差我們稱為相位傳遞函式PTF(phase transfer...
簡介 相位系統 相關研究closed-loop system identification 在閉環條件下確定開環系統(或正向通道)的動態性。一般的系統辨\n識方法都是針對開環控...
閉環系統辨識 正文 配圖 相關連線閉環系統亦稱“反饋系統”。“開環系統”的對稱。系統的輸入影響輸出同時又受輸出的直接或間接影響的系統。該類系統有若干個閉合的迴路結構。例如,汽車和駕駛員即...
簡介 原理