簡介
鋼筋混凝土板樁具有強度高、剛度大、取材方便、施工簡易等優點,其外形可以根據需要設計製作,槽榫結構可以解決接縫防水,與鋼板樁相比不必考慮拔樁問題,因此在基坑工程中占有一席之地,在地下連續牆、鑽孔灌注樁排樁式擋牆尚未發展以前,基坑圍護結構基本採用鋼板樁和混凝土板樁。
由於國內長期以來僅限於錘擊沉樁,且錘擊設備能力有限,樁的尺寸、長度受到一定限制,基坑適用深度有限,鋼筋混凝土板樁套用和發展一度低迷。隨著沉樁設備的發展,且沉樁方法除錘擊外又增加了液壓沉樁、高壓水沉樁,支撐方式從簡單的懸臂式、錨碇式發展到斜地錨和多層內支撐等各種形式,給鋼筋混凝土板樁帶來了廣泛的套用前景。
適用範圍
1.開挖深度小於10m 的中小型基坑工程,作為地下結構的一部分,則更為經濟;
2.大面積基坑內的小基坑即“坑中坑”工程,不必坑內拔樁,降低作業難度;
3.較複雜環境下的管道溝槽支護工程,可替代不便拔除的鋼板樁;
4.水利工程中的臨水基坑工程,內河駁岸、小港碼頭、港口航道、船塢船閘、河口防汛牆、防浪堤及其他河道海塘治理工程。
施工要求
鋼筋混凝土板樁製作
1.製作方法
鋼筋混凝土板樁製作不受場地限制,可以現場或工廠製作,鋼筋混凝土板樁製作一般采養護方式有自然養護和蒸汽養生窯中養護。製作場地應製作同條件養護的混凝土試塊,以便確定板樁的起吊、翻身和運輸條件。
2.預製加工和施工中的製作要求
鋼筋混凝土板樁的特殊構造和特定的用途,製作時要求必須保證板樁牆的樁頂在一個設計水平面上、板樁牆軸線在一條直線上,榫槽順直、位置準確。
(1)樁身混凝土應一次澆注,不得留有施工縫。
(2)鋼箍位置的混凝土表面不得出現規則的裂縫。
(3)板樁的凸榫不得有缺角破損等缺陷。
(4)預製板樁起吊時的強度應大於設計強度的70%。
(5)吊點位置的偏差不宜超過200mm,吊索與樁身軸線的夾角不得小於45°。
(6)板樁堆存時應注意:採用多支墊,支墊均勻鋪設;多層堆放的每層支墊均應在同一垂直線上;現場堆垛不超過3層,工廠堆垛不超過7 層。
合併圖冊(7)板樁裝運時應注意:按沉樁順序繪製裝樁圖,按圖裝船、車;運輸中,用木楔將支墊墊實,按實際情況採取適當的加固措施;按多支墊少垛層原則裝運。
鋼筋混凝土板樁沉樁施工
沉樁對附近建築物的影響必須充分考慮。打樁過程由於振動和排土對周圍環境的影響進行預測並採取相應措施,採用靜力壓樁或者樁側土中埋設袋裝砂井或塑膠排水板,包括放慢打樁速度等措施均有明顯效果。
1 .沉樁方法
沉樁方法包括打入法、水沖插入法和成槽插入法,目前最常用的還是打入法。打入法分單樁打入、排樁打入(或稱屏風法)或階梯打入等。封閉式板樁施工還可以分為敞開式和封閉式打入。所謂封閉式打入就是先將板樁全部通過導向架插入樁位後使樁牆合攏後再打入地下,此種打入方法有利於保證板樁牆的封閉尺寸。
2 .沉樁前的準備工作
(1)樁材準備
板樁應達到設計強度的100%,方可施打,否則極易打壞樁頭或將樁身打裂。施打前要嚴格檢查樁的截面尺寸是否符合設計要求,誤差是否在規定允許範圍之內,特別對樁的相互咬合部位,無論凸榫或凹榫均須詳細檢查以保證樁的順利施打和正確咬合,凡不符合要求的均要進行處理。板樁的運輸、起吊堆放均要保證不損壞樁身,不出現裂縫。
(2)異型樁的製作
異型板樁包括轉角用的角樁,調整樁牆軸線方向傾斜的斜截面樁,調整樁牆長度尺寸的變寬度樁以及起導向和固定樁位作用的導樁等。異型板樁可用鋼材製作或採用其他種類樁,如H 型鋼樁等。轉角樁製作比較複雜,板樁牆轉角也可以不採用角樁而施工成T 型封口(即轉角處板樁牆相互不咬合,而相互垂直貼合)。
3 .鋼筋混凝土板樁製作
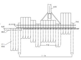
工藝流程:測量放線、設施工水準點→對板樁縱軸線範圍上的障礙物進行探摸和清除→打樁機或打樁船定位→施打導向圍檁樁→製作、搭設導向圍檁→沉起始樁(定位樁)→插樁→送沉樁→ 搬遷導向圍檁繼續施工→對已沉好的樁進行夾樁→ 做好安全標誌。
(1)圍檁的製作
在擬打板樁牆的兩側平行與板樁牆設定導向圍檁裝置,以保證板樁的正確定位,樁體的垂直及板樁牆體的順直。
(2)定位樁施打(即起始樁,或稱首根樁)
定位樁以後的板樁將會順著定位樁的順直度入土,以後的板樁牆將依此為依據插入。
(3)插入板樁
定位樁基本插打到位後即可依次插入其他板樁。
將板樁順著定位樁(或前一根已插樁到位的樁)的凹槽在導向圍檁內逐一插樁到位,插入土體的深度根據樁長、打樁架高度及地質情況等因素而定。
當地質較硬時,可採用鋼製樁尖,在樁上端及樁頂加鋼板套箍或增加鋼筋並提高混凝土標號以提高板樁抗錘擊能力。
(4)拆除導向圍檁裝置
板樁屏風牆體形成並確認不會因為拆除導向圍檁裝置後導致牆體傾斜、晃動,即可將導向圍檁裝置拆除並按施工流水布置進行下一導向圍檁的施工。為能與下一施工段接口平順,導向裝置保留最後一段不拆,與下一段施工段順接。
(5)送打板樁
圍檁裝置拆除後即可對已插樁成屏風牆體的板樁牆逐一打到設計高程。送打樁的順序與插入樁時順序相反,即後插的樁先送,先插的樁後送。在送打過程中發現相鄰樁體有帶下或板樁出現傾斜(指順板樁牆方向)時,要考慮再分層送打樁。分層送打樁的順序一般與上述相同。每一屏風段牆體的最後幾根樁不送打,與下一施工段流水接口。
4.沉樁施工標準
板樁插入垂直度偏差不得超過0.5%;板樁施打平面位置允許偏差100mm;板樁施工垂直度允許偏差1%;板樁用於防滲時板樁的間隙不得大於20mm;用於擋土時不得大於25mm;板樁軸線允許偏差20mm;板樁施工樁頂標高允許偏差±100mm。
5.板樁脫榫、傾斜預防措施
對沉樁過程中,出現樁頂破碎、樁身裂縫、沉樁困難等常見質量問題的預防及處理方法,與一般鋼筋混凝土方樁基本相同,這裡僅對鋼筋混凝土板樁施工中特有的脫榫,傾斜問題進行闡述。
(1)預製鋼筋混凝土板樁的凹凸榫的尺寸及順直度不滿足設計要求是造成脫榫的主要原因,故施工前必須逐根檢查驗收,避免上述樁體打入土中。
(2)當樁尖與樁身不在同一條軸線上或沉樁過程中樁尖的某一側遇到硬土或異物時樁
身會產生轉動(即樁橫斷面與板樁牆軸線產生夾角),若不及時採取措施,必然出現脫榫。對此,首先認真驗收預製樁,樁尖與樁身不在同一軸線上的樁不能使用。另外在沉樁過程中出現樁身轉動而無法拔出該樁時,可在有轉動趨勢的板樁相對應的兩側的導向圍檁上,各焊接一根用型鋼製作的有足夠強度的小限位,該小限位與板樁體貼緊(貼緊處要求光滑,最好是滾動接觸),而後繼續緩慢小心施打該樁。經過上述糾偏措施後一般均能予以糾正,至少能阻止脫榫發展,該措施的成功與否關鍵在早發現脫榫趨勢,早落實糾正措施。
(3)有的板樁之間凸榫側會有一個削角,設計者本意是便於樁體破土打入,但在樁體入土的過程中此削角處若遇小石塊或其他硬物時,樁體易發生脫榫趨勢,故建議取消上述削角。
(4)板樁牆前、後方向的傾斜,在插樁時注意樁尖與樁頂控制在一條垂直線上(即樁頂與圍檁槽保持在同一垂直線上)即可。特別是起始樁(定位樁)更要注意控制,因該樁的凹榫是以後形成的板樁牆體的垂直度的導向與“靠山”。因此起始樁的定位要求零誤差控制,確認無誤後再插樁,這對以後的施工控制極有好處。
(5)板樁在逐根沉入後常會向牆體形成方向(即樁體凹榫方向)傾斜。主要原因是插(打)入時,插(打)樁的樁體靠已打入的一側與前一根樁之間的摩擦阻力大於另一側與土體的側摩擦阻力。另外板樁的樁尖除了定位樁外一般在凹榫側有斜角,因為有該斜角的存在,板樁在打入過程中會越打越向前一根樁靠緊。設計這種形式的本意是使得板樁牆體接縫搭接不脫榫。但也會使得在樁體打入過程中,與前一根樁之間的摩擦阻力大大增加,從而增加了樁體傾斜產生的幾率。所以,在板樁施工中,一般均會發生逐漸向板樁牆體形成方向傾斜的趨勢。為此,採用屏風法施工而不採用逐根打入法工藝,可以從根本上減少樁體傾斜發生的幾率。為進一步避免、減少及糾正上述樁體傾斜的發生,也可再選用下述措施:
a.圍檁上設定“定位角鐵”,並與插入樁緊貼,限制住往該樁的傾斜趨勢。在“定位角鐵”與插入樁之間可抹上黃油,便於板樁的插入。
b.插樁時在板樁的凹榫內插入一竹(青)片(厚度1cm 左右,寬度略小於凹榫槽寬),以減少插(打)入樁與已打入樁體之間的摩擦阻力。
c.修正樁尖斜角,可有效控制樁體傾斜,但在施打板樁時,板樁一般均已預製好,再作調整已不可能。為便於現場調整可預製幾根如同起始樁同樣樁尖類型(即樁尖兩面均有斜角,下樁時不會傾斜趨勢)的板樁。在施打過程中,視現場情況每隔一段距離插打一根這類似板樁,對調整傾斜很有效果(若現場沒有這類板樁而且樁尖所處土層不在硬土中時,也可鑿去樁尖成為“平頭樁”代替)。
(6)板樁脫榫處理
對板樁脫榫處擬採用壓密注漿對脫榫處進行補強處理。即在接榫處除用細石混凝土將接榫處灌密實外,另在靠近河岸邊用壓密注漿對該接榫進行補強。對沒有脫榫的鋼筋混凝土板樁按照設計要求採用細石混凝土灌漿。鋼筋混凝土板樁處理前將高出設計標高的板樁鑿除至設計標高。
施工安全控制要點
1.插打鋼筋混凝土板樁圍堰前應對打樁機、卷揚機及其配套機具設備、繩索等,進行全面檢查,經試驗、鑑定合格後方可施工;
2.鋼筋混凝土板樁起吊應聽從信號指揮,作業前應在鋼筋混凝土板樁上,拴好溜繩,防止起吊後急劇擺動;
3.吊起的鋼筋混凝土板樁未就位前,插樁樁位處不得站人。在樁頂作業,應掛吊欄、爬梯,作業人員必須系好安全帶;
4.鋼筋混凝土板樁起吊前,應首先做到:
(1)鋼筋混凝土板樁槽凹部位應清掃乾淨,鎖口應先進行修整或試插;
(2)組拼的鋼筋混凝土板樁組件,應採用堅固的夾具夾牢,起吊時,用繩索拴牢,掛鈎應封鉤;
(3)鋼筋混凝土板樁吊環的焊接,應由專人檢查,必要時應進行試吊。嚴禁將吊具拴在鋼筋混凝土板樁夾具上或捆在鋼筋混凝土板樁上進行吊裝;
5.鋼筋混凝土板樁插進鎖口後,因鎖口阻力不能插放到位而需用樁錘壓插時,套用卷揚機鋼絲繩控制樁錘下落行程,防止樁錘隨鋼筋混凝土板樁突然下滑;
6.插打鋼筋混凝土板樁,應從上游依次對稱向下游插打。插打雙層鋼筋混凝土板樁,應先外側後內側,最後在下游處合攏。受潮水影響的河流,應根據實際情況,制定插打方案及安全防護措施;
7.插打鋼筋混凝土板樁,如因吊機高度不足,可改變吊點位置,但吊點不得低於樁頂以下1/3樁長位置。在轉換吊點時,必須先掛後換,使新吊點吃力後,並確定牢固,才能拆除原吊點;
8.鋼筋混凝土板樁在錘擊下沉時,初始階段應輕打。樁帽(墊)變形時應及時更換;
9.使用沉拔樁錘沉拔板樁時,樁錘各部機件、連線件要確保完好,電氣線路、絕緣部分要良好絕緣。每天使用前要認真檢查,班後要進行修養。操作時,樁錘和板樁連線要牢固,系索人員要有穩固地點立足,要佩戴安全帽和安全帶;
10.拔樁時,應從下游向上游依次進行。遇有拔不動的鋼筋混凝土板樁,應立即停拔檢查,可採取射水、振動等鬆動措施。嚴禁硬拔;
11.採用吊機船拔除鋼筋混凝土板樁,應指派專人經常檢查吊機船的吃水深度,拔樁機或吊機受力情況,拔樁機和吊機應安裝“限負荷”裝置,以防超負荷作業;
12.鋼筋混凝土板樁採用錘擊下沉時,樁頭和樁尖部位,應採取加固措施。錘擊時,套用樁帽、樁墊,並經常檢查,發現異常情況應立即停擊。

