簡介
中國的鐵路事業正在高速發展,高速機車成為了客運的主流,大量的高速鐵路和捷運也正在建設中。在機車速度提升的同時對於機車的運行安全也越來越受到重視。作為機車關鍵部件的車輪在機車運行安全中擔任著重要的作用,因此,對於車輪的監測也是每個國家鐵路部門十分重視的一項檢測任務。全球針對車輪測量的儀器種類眾多,主要測量的參數有:輪對尺寸、踏面外形、踏面缺陷及內部探傷。
計算參數及精度
計算參數
踏面磨耗,踏面錐度,輪緣厚度,輪緣高度,輪緣錐度或輪緣磨耗,輪輞(箍)厚度,輪輞(箍)寬度,車輪直徑;並能檢測同軸輪徑差。
精度
參數值是50mm以下小尺寸為±10-50μm,50mm以上大尺寸為±0.15-0.5mm
發展及分類
鑒於車輪踏面外形的重要性,從機車出現開始,就出現了對車輪的監控和測量。過去基本是依靠人工估計的方式來對尺寸是否超限和左右不均進行檢查。該方法嚴重浪費人力資源,並且估計值的準確性很大程度上依賴監測人員的測量工具和經驗。隨後,更精確的測量工具使測量值的精度和準確性有了大幅提高,比如千分尺,其測量長度的精度可達到0.01mm甚至更高,這促進了車輪外形測量工具的發展。隨著科技的發展,更多的測量工具引入了車輪狀態監控中。
接觸式
1)卡尺式檢測工具
卡尺式檢測工具是最原始的對車輪情況進行測量的工具。它針對測量的車輪採用了特殊的形狀設計;同時卡尺上採用了遊標卡尺,千分尺來保證精度,人工進行讀數;它主要測量2個關鍵位置的數值,一個是70mm處的豎向數值。可求出磨耗量;另一個是輪緣厚度:這種卡尺精度一般為0.5mm左右(游標和千分尺精度較高),精度受人為影響大。經過多年的實踐和發展,卡尺出現了多種為了簡化測量步驟而進行的改進,並申請了各自的專利,雖然方式各不相同,但都採用了尺上加尺,一次測量多個關鍵點的想法,這些工具仍有部分在鐵路上使用。
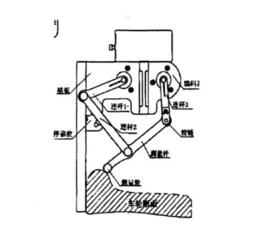
2)磁爬式測量工具
爬式測量儀磁爬式測量工具的出現是機械裝置與計算機自動化技術的一個結台。其特點是採用磁性滾輪沿輪對踏面部分滾動,通過計算得到整個踏面的磨耗信息,而不僅僅針對幾個關鍵點;採用了攜帶型設計,輕巧方便;由於結合了計算機技術,使用電腦對測量的數據進行處理,得到磨耗值,不僅減少了計算所消耗的時間,同時減少了人為的誤差;其精度可達到0.2mm;需要人工操作。它的主要原理是採用了兩個編碼器分別固定在支撐桿與基座,和兩個支撐桿的結合處上,從而將轉動中心和磁性滾輪連線在一起。這兩個光電編碼器,用於計算支撐桿改變的角度。通過測量得到的角度信息和支撐桿的長度,可計算得到滾輪的坐標。然後在計算機軟體中計算和修正,可繪製出當前輪對的踏面狀況。如果與標準曲線比較,可得到各個點的磨耗值。
西南變通大學牽引動力國家實驗室對磁爬式測量裝置進行了改進,設計出了五連桿測量儀,通過五根連桿,代替原先的兩連桿的測量方式。其原理與兩連桿的測量原理類似,只是編碼器固定在連桿1和連桿3的根部。多出的連桿使得鍘量更加的穩定,測量的數據保持在一個更高的置信水平上。
非接觸式
1)光切法
光切法基本原理光切法是計算機視覺中的一種經常使用的方法。安裝在固定位置的雷射器打出的線雷射,經過CCD圖像感測器的接收,然後傳輸給計算機.通過特定的算法結合標定值,可以計算出具體的輪對尺寸。這種方法測量速度快,整個過程可在機車低速運行的情況下完成,有的儀器甚至可以在高速運行時正常測量:整個測量系統由計算機自動控制,不需要人工的操作。這個方法的設備已經廣泛套用在了我國的車輛段上,成都主導科技公司研製的“輪對故障動態檢測系統”便採用了這種方式四。光切法設備一般比較大型,適台固定位置,不適合移動測量;這種測量方法對光源和感測器有較多要求,包括確定的位置,雷射光亮程度(一般安裝在遮光棚中)等;整個系統的核心是對採集到的圖像進行處理的算法,其準確與否對結果影響較大;並且標定的準確是測量準確的基礎。
圖像法2)圖像法
採用圖像測量的方法用於檢測領域也是現如今的一個研究熱點。它的特點是不需使用雷射器,並且非接觸式測量,只需一個CCD攝像頭即可完成採集的工作;所有的參數都是由計算機軟體進行處理,通過對拍攝的圖像的處理得到需要的參數,維護和升級方便,只需更新軟體。
3)雷射測距感測器
ELAG公司的攜帶型輪對尺寸測量儀雷射測距感測器是一種測量距離的高精度測量儀器.它的針對性很強,有專門用與測量超遠距離的,比如地球到月球的距離;也有專門測量近距離的:測量不同距離的雷射測距感測器所採用的測量方法也不相同。用於測量近距離的雷射測距感測器一般採用的是三角測量法。它的特點是,可靠性高,採用了獨立的測量系統,不依賴於器件本身,當然,這裡只是針對於測量輸出目標物體與雷射器之間的距離,沒有涉及到其他安裝和距離換算所造成的誤差;很適合攜帶型檢期4,一般的近距離雷射測距感測器的重量都很輕,只有100g或者200g,可以做成便攜的測量設備:測量精度在10μm左右,有的甚至能達到5μm;但要達到很高的測量精度對工裝要求較高,要儘量避免振動;同時測量精度與穩定性和雷射器特性關係很大。

