華盛世紀獨輪車適於每日通勤使用或者周末時作為一項休閒運動。
使用者把腳分別放在輪子兩側的摺疊式踏板上以後,輕輕向前傾斜身體是前進,向後傾斜是停止,向左和向右傾斜身體是轉彎。身體向前傾斜的越厲害,速度就越快,車內的一系列迴旋裝置確保它能很好地保持平衡。
小巧、攜帶方便,直接可以放進汽車的後備箱,提到家裡或是辦公室。[1]
生產廠商:深圳市華盛世紀科技有限公司
尺寸:高450*長395*寬160
最高時速:約18Km/h(12Km開始報警)
充電時間:約60分鐘,(45分鐘即可充到約80%)
最大載重:120kg
車體自重:9.8kg(不含輔助輪)
充電器電壓:AC220V50-60Hz
腳踏板離地距離:112mm(無載重狀態)
最大爬坡:36度(實際路測可達45度)
制動方式重心感應
生產地中國廣東深圳市
1簡介
編輯
華盛世紀獨輪車適於每日通勤使用或者周末時作為一項休閒運動。陀螺儀感測器控制平衡,1000瓦特的電動機驅動。
使用者把腳分別放在輪子兩側的摺疊式踏板上以後,輕輕向前傾斜身體是前進,向後傾斜是停止,向左和向右傾斜身體是轉彎。身體向前傾斜的越厲害,速度就越快,車內的一系列迴旋裝置確保它能很好地保持平衡。小巧、攜帶方便,直接可以放進汽車的後備箱,提到家裡或是辦公室。[1]
2新品介紹
編輯
華盛世紀在2013年7月推出了全新旗艦版的H系列產品。外殼由國際專業設計團隊精心打造;採用400WH(瓦時)的大容量電池;40公里行駛里程,創造世界最大行駛里程的自平衡獨輪車產品;採用正弦波電機驅動方式,相對於傳統低成本的梯形波驅動方式,提高了系統的效率和穩定;選擇智慧型電池保護系統,監測每節電池的所有狀態,智慧型進行均衡保護,延長了鋰電池的使用壽命;通過可靠的聲、光、電安全系統設計,保障騎行安全;採用輕薄大功率電機,增加動力、減輕重量,減少厚度;創造性的模組化設計,為用戶提供快捷的維修。
3工作原理
編輯
倒立擺系統
IPS:InvertedPendulumSystem倒立擺系統
倒立擺系統是控制系統的一個重要的分支和典型的套用,實際上它可以理解成在計算機的控制下,通過對系統各種狀態參數的實時分析,使系統在水平方向或垂直方向上的位移和角度(角速度)的偏移量控制在允許的範圍以內,從而使系統保持平衡。
平衡系統
華盛世紀獨輪車在平衡點附近的穩定控制與其它倒立擺系統的特點基本相似。當華盛世紀獨輪車在大範圍內保持穩定時,其由於控制角度變大而引起的非線性和負載變化造成的不確定性變得尤其突出,必須施加一定的控制手段才能使之穩定,因此IPS自平衡車比其它倒立擺控制系統的研究內容更為廣泛,需要採取其他的控制方法共同完成對華盛世紀獨輪車的良好控制。
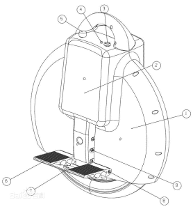
4產品結構
編輯
華盛世紀獨輪車主要組成部分有:華盛世紀獨輪車、充電器、手帶、轉換氣嘴、使用說明書。
華盛世紀 獨輪車構造
華盛世紀獨輪車構造1) 華盛世紀獨輪車外殼
2)機殼軟膠
3)電源開關
4)指示燈
5)充電器插口
6)腳踏板
7)腳踏板固定磁塊
8)腳踏板安裝軸
9)固定螺絲[1]
5指示燈
編輯
綠色常亮和綠色閃爍
1)綠燈常亮:表明當前電量大於67%,可以放心使用。
2)綠燈閃爍:
2.1當閃爍頻率較低(約1秒1次),表明當前電量低於67%並且高於33%;
2.2當閃爍頻率較高(約1秒5次),表明當前電量低於33%,應該注意充電;
紅色常亮和紅色閃爍
1)紅燈常亮:表明電池量低,需充電。
2)紅燈閃爍:
2.1表明華盛世紀獨輪車處於危險狀態,需立即停車並關閉電源。
2.2充滿電後打開電源,如果故障沒有消除的話,需送至維修地點進行檢測維修。[1]
6駕駛注意
編輯
注意事項
1.利用手帶來保證駕駛的安全
在還不能熟練駕駛華盛世紀獨輪車時,利用手帶可以幫助車避免摔倒刮傷。
1)把手帶系在華盛世紀獨輪車的把手上。一隻腳踩在腳踏板上,調整手帶的長度到舒適的位置。
2)當在駕駛過程中失去平衡、不得不跳下車的時候,可以利用手上的手帶來拽住華盛世紀獨輪車,以免它失去控制造成損壞。
2.如何控制平衡
1) 華盛世紀獨輪車是利用陀螺儀進行前後穩定的。
2)當身體前傾,華盛世紀獨輪車會感知到動作進行加速;當身體後仰,華盛世紀獨輪車也會控制電機減速以維持駕駛者與車體的平衡。
3) 華盛世紀獨輪車不能幫助左右平衡,就像是騎腳踏車一樣,需要靠一定的速度和身體來控制左右平衡。
4)不可在光滑路面或者沙粒覆蓋的路面上騎行,因為華盛世紀獨輪車需要依靠車輪與地面的摩擦力來維持平衡。
[1]
準備工作
1.選擇適合的場地:請在平坦、空曠、無機動車、人少的場地進行試車。
2.檢查車輛:駕駛前需要檢查電力是否充足、搖動車輛是否有異響和鬆動、手動推行華盛世紀獨輪車看車輪是否與外殼產生摩擦。
3.最好可以找一位朋友一起學習騎行,可以提供協助,會對更快的掌握騎車技巧有幫助。
4.將手帶穿過把手,並將長度調整至適當位置。
5.參考駕駛步驟,開始學習。[1]
7使用說明
編輯
騎行華盛世紀獨輪車一共分為5步。仔紳閱讀並按照說明書指示開始學習,在前一步尚未掌握之前,不要輕易嘗試後面的步驟。這樣會有利於更快,更紮實的掌握騎行的基本技巧。
接通電源
1)一隻手抓住把手,將華盛世紀獨輪車直立於地面,並將兩個腳踏板展開。
2)短按電源鍵可以將華盛世紀獨輪車電源打開,此時綠燈亮起。
3)假如發現有紅燈亮起,請不要嘗試騎行。
4)推薦沿著輪子前進後退的方向前後拉動把手幾次,感受車輪加減速的力度。
嘗試站立
1)將一隻慣用腳站到相應的腳踏板上,注意應該站在腳踏板中心位置,方便將整個身體重心轉移至該腳上。
2)站立身體,站在腳踏板上的那隻腳註意控制華盛世紀獨輪車前後平衡,並用小腿靠緊機殼軟膠。
3)將重心逐漸地轉移到在華盛世紀獨輪車的那隻腳上,過程中要求小腿,腳和華盛世紀獨輪車能組成穩定的三角支撐,否則將很難把重心移移到華盛世紀獨輪車上。在不能將重心成功轉移至華盛世紀獨輪車上的那隻腳,另一隻腳離開地面保持1-2秒鐘之前,強烈建議不進行下一步騎行。
前行
1)初級前行:
像騎腳踏車那樣,將絕大部分重心轉移到華盛世紀獨輪車上,並且輕輕向前踩下腳踏板,同時地面上的那隻腳輕輕往後一蹬,華盛世紀獨輪車就會向前行走。就像在上一步保持單腳站立華盛世紀獨輪車的動作一樣,需要在騎行過程中儘量保持身體平衡,同時需要將地面上的那隻腳快速輕盈地放到另一個腳踏板上。這一步要求至少可以騎行3-5米的距離。
2)中級前行:
走到這一步,已經基本可以正常駕駛華盛世紀獨輪車了。在這一步中需要注意兩個要點:保持一定的速度、通過前傾後仰來控制速度。建議在騎行過程中不斷積累經驗,不斷練習,在比較有信心可以保持騎行很長距離以後再進行下一步。
轉彎
關於轉彎:初學者都喜歡以轉動上身的方法來進行轉彎,但是那樣的操作效果不好。建議通過調整左右腳踩踏的力度來調整車體的左右傾斜程度進行轉彎,通過不斷地練習,會達到所期待的轉彎效果。
騎行安全
至此,相信已經學會了如何騎行華盛世紀獨輪車。但是還是建議一定要在逐漸了解車輛性能的基礎上,去逐漸挑戰沒有嘗試過的動作。華盛世紀獨輪車的動力是有限度的,超過限度華盛世紀獨輪車會無法支撐身體,導致從車上掉下來,所以務必要小心駕駛。[1]
8充電
編輯
1.產品內置一套鋰離子電池,在第一次使用本產品前,確保電池已充滿電
2.確保在乾淨、乾燥的環境下進行充電。充電器的電源線的一端連線交流電源插座,另一端連線華盛世紀獨輪車,紅色指示燈亮起表明充電正在迚行。
3.充電過程大約為四小時,當充電器紅色指示燈變為綠時,表明充電完成。[1]
9維護保養
編輯
(一)保存
1.不要在潮濕的地方放置華盛世紀獨輪車;
2.當有一段時間沒有使用華盛世紀獨輪車時,需要定期地對設備進行充電,以免電池電量耗盡。同時電池不可被隨意拆除。
3.要用濕布和暖和的洗滌劑去清洗華盛世紀獨輪車。
(二)更換輪胎
1.更換輪胎時,需要內六角螺絲刀和十字螺絲刀。
2.用十字螺絲刀擰松蓋子外面的所有螺絲(包括把手上的螺絲),每一邊都有7個。
3.腳踏板下面的兩邊各有6個螺絲,鬆動電源開關另一側的六顆內六角螺絲。注意:永遠不要擰動電源開關一側的內六角螺栓。
4.當擰開這些螺絲後,將蓋子以把手為軸心翻動直至機殼不妨礙拆卸輪胎。在把手的區域有一些電線,小心不要拉斷這些電線,就可以更換輪胎和修理內胎了。
5.當修理結束後,將蓋板安裝到原來的位置,擰緊螺絲。[1]

