背景
無人機在飛行的過程中,由於很多時候都處於超視距的範圍,為了保證無人直升機的安全,自動返航系統是相當必要的,自動返航是無人直升機在飛行的過程中,當遇到有突起的山峰或其他惡劣的自然環境時,無人直升機與地面基站出現失去通信的現象時,直升機能夠果斷判斷飛機處於失聯情況,自動做出返航的決斷。
為了判斷無人機是否己經失聯,基站程式中在空閒的時候傳送一個“$”字元作為基站與飛機通信的呼吸信號,當飛機在規定的時間內沒有接收到呼吸信號時,就判斷飛機處於失聯狀態,按照飛機上的返航程式自動返航。
設計原理
無人直升機上的自動返航有兩種不同的設計方法,一種是在軌跡規劃的時候,在近距離的時候規劃好一組最後規劃點在原點的完整的路線,另外一種是在飛行的時候,保存飛機己經完成飛行的規劃點,當檢測到飛機失去聯繫時,無人機自動進入返航模式,按照與原來相反的順序自動彈出到未飛行佇列。
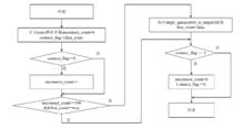
自動返航程式流程圖 在第二種系統中,需要另外一片記憶體用於保存己飛行目標點,保存己飛行目標點的方法是在目標佇列queue[i][j]彈出的時候順便保存一份到re_queue[i][j]記憶體中。此外需要基站在傳送端空閒的時候自動傳送呼吸信號,無人直升機串口接收程式中檢測是否接收到基站傳送過來的呼吸信號,當未檢測到呼吸信號時,connect flag標誌位復位,當檢測到失聯的時間超過一定時間時,飛機自動按照re-queue[i][j]的點來更新。程式中設定的失聯觸發時間時10s,即當超過10s沒有接收到基站的數據時,進入自動返航模式,自動返航程式流程圖如圖所示。
關鍵技術
運動檢測算法
(1)圖像差分算法。圖像差分利用相鄰兩幀圖像差值獲取運動目標,去除兩幀圖像的共有背景。優點是計算簡單,缺點是圖像採樣率、移動目標的移動速度、目標與攝像頭的距離會對檢測效果產生很大影響,當目標與攝像頭距離較近、目標移動過快、圖像採樣率低時,會產生大量背景區域出現於目標區域中,這樣對於後續想要用目標矩形作為目標的輪廓框比較困難,不能完整分割出目標。為了改善幀差檢測使目標存在的較大空洞,也出現了改進的幀差運動檢測算法‘6’。
(2)模板匹配算法。這裡所說的模板匹配算法中的模板指的是存人在記憶體中無人機圖片庫,通過比對模板與視頻中每一幀圖像,尋找無人機在每幀圖像中的位置,比對的方法通過相關兩幅圖像。這種算法的優點在簡單場景中匹配比較準確,不需要進行濾波處理,缺點是對記憶體和CPU性能要求較高,考慮到目標離攝像頭的距離,記憶體需要存儲大量實驗目標的圖片作為模板,且對應的相關操作有大量的乘積運算,計算要求較高。該算法適合目標與攝像頭距離比較固定的場合。為了改善計算時間較長,出現了改進歸一化的灰度匹配算法。
(3)背景減除算法。背景減除算法是用當前圖像減去背景圖像得到差值圖像,通過設定一定的閡值將絕對值的差值圖像轉為二值圖像。然後通過濾波等操作得到移動目標,這種算法適合於背景在大部分時間可見的場合。
無人機位置信息確定
利用上述運動檢測算法檢測出無人機之後,然後需要確定無人機位置信息。位置信息的確定可以控制無人機運動方向和移動的距離。由於攝像頭處於停機坪中間即無人機的起飛點,圖像的中心也是停機坪的中心,如果以圖像的中心為原點,正北和正東分別為y軸和x軸,無人機所在水平平面建立直角坐標系,只要獲取無人機在圖像中的坐標即位置信息。無人機的高度由無人機上數字氣壓計給出。

