2005年3月聯合視訊小組(Joint Video Term,JVT)公布 H.264/AVC 引進視訊編碼層與網路提取層的概念,在NAL-unit Header中的NAL-unit Type欄位記載此封包的型式,藉由NAL來提供網路的State,讓VCL有更好的編解碼更錯能力。一般而言,H.264/AVC bitstream是由數個NAL-units所組成,NAL unit stream內可以包含多個壓縮視訊序列(coded video sequence)。
NAL units
NAL是一種封裝(packaging)的模組,並擁有NAL-unit 標頭(Header),此Header內又有許多資訊,包括 Type。一個完整的NALU是標頭(Header)加上位元流(bitstream)。多個NAL-units組成一個access unit。VCL 與 Non-VCL NAL Units
標準的NAL-unit總共規範有12種,這12種型式可粗分成VCL NAL-unit及non-VCL NAL-unit。其中non-VCL NAL-unit又有兩種:Parameter Sets與Supplemental Enhancement Information (SEI)。這些資訊非常重要,如有錯誤,會導致無法解碼,過去沒有NAL unit時,很容易造成package lost,現在Parameter Sets可以採用所謂的out-of-band的方式來傳送。parameter sets又可分成:
- sequence parameter sets, which apply to a series of consecutive coded video pictures called a coded video sequence
- picture parameter sets, which apply to the decoding of one or more individual pictures within a coded video sequence

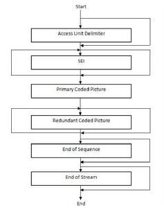
access unit
多個NAL-units組成一個access unit。多個access unit再組成一個Coded video sequence。
