行業現狀
現今因為進入裝修這個行業中的年輕人越來越少了,大家都喜歡進入工廠,有份體面的工作。而裝修,特別是牆面必不可少的牆面做白或者其他,都離不開油漆工,而油漆的工作因為粉塵大、髒,越來越少的人從事這個行業,工人年齡逐步老齡化的狀況。特別是房地產迅猛發展的同時,裝修行業也在迅猛的發展著,需要的從事牆面打磨的師傅量大。然而很多不願意從事這項工作,造成了供需的不平衡以及工人師傅工價迅速上漲,而且還不一定找到師傅。而木工因為大量的機械化施工,使生產力得到很大的提高。油漆塗裝這些行業也迫切需要塗裝工具的機械化來破解難題。
簡介
打磨牆面的機器統稱為牆面打磨機,又稱“牆壁打磨機”“牆面砂光機”、“膩子打磨機”、“ 磨牆機”、“大白打磨機”、“吸塵式砂光機”、“打砂機”、“砂紙機”,因各地的稱呼而各有不同,其標準稱呼為牆面打磨機。
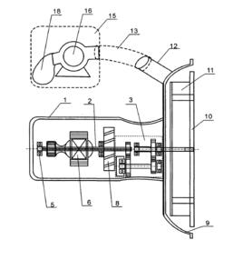
牆面打磨機圖解牆面打磨機是有倪玉萍申請的吸塵式砂光機使用新型專利,公開了一種砂光機,包括除塵裝載和吸塵裝置,其中,所述除塵裝置包括外殼、除塵電機、除塵防護罩和工作盤。本實用新型中,所述除塵裝置和吸塵裝置為分體式,除塵裝置和吸塵裝置之間通過吸塵連線管連線;在所述除塵護罩上設定有吸塵管,吸塵管和吸塵連線管的一端連線,分體式的機構既能儘可能地將粉塵吸入吸塵裝置內最大程度避免粉塵對人體的傷害,又能一次性吸收大量粉塵,避免因勤換集塵袋而降低工作效率。所以,使用本實用新型來對牆面或木板或地板進行打磨,既環保衛生,又能提高工作效率。
下面結合附圖對該產品進一步具體說明:
如圖所示,本砂光機中包括除塵裝置和吸塵裝置,其中所述除塵裝置包括外殼1、除塵電機6、出塵護罩9和工作盤10,所述除塵裝置和吸塵吸塵裝置為分體式,除塵裝置和吸塵裝置之間通過吸塵連線管13連線;在除塵護罩9上設定有吸塵管12,吸塵管12與吸塵連線管13的一端連線。
如附圖所示,所述吸塵裝置為:吸塵風機16的吸塵口與吸塵連線管13的出口端連線,吸塵風機16的出塵口與粉塵手機袋18連線。
吸塵風機16和粉塵收集袋18均置於一個背包15內。有利於工作者順便移動。
吸塵連線管13位軟管。
在除塵電機6和除塵護罩9之間安裝有降速齒輪組3.如附圖所示,降速齒輪組3按照一般的技術實現;通過兩次小齒輪帶動大齒輪鏇轉的降速後,帶動動作盤鏇轉的轉軸的轉速就低了很多。
除塵電機6位變速電機。使用者可以根據實際情況來調整工作盤的轉速。
工作中除塵電機6的轉軸2在軸承5的支撐下鏇轉,並帶動散熱風扇8鏇轉,達到降溫的目的,鏇轉的轉軸2經過降速齒輪組3降低轉速後,帶動工作盤10鏇轉,達到打磨的目的,減震盤11的目的是減小工作盤10的震動幅度。
分體式牆面打磨機的結構既能儘可能地將粉塵吸入吸塵裝置內,最大程度避免粉塵對人體的傷害,又能一次性吸收大量粉塵避免了因勤換粉塵收集帶18而降低工作效率;另外由於降速齒輪組3的作用,可以選擇效率、功率的出塵電機6兒達到大功率電機的效果,所以可以降低成本並減輕整個除塵裝置的重量,還能延長電機6的壽命,增強工作盤10的穩定性。
用途分類:
長桿牆面打磨機
主要適用在大型工程平整度要求不高的地方、打磨速度非常快(針對於牆面,天花打磨較繁瑣,就算搭架子打磨天花也非常笨拙)。
攜帶型牆面打磨機
小巧靈便,主要套用在室內裝修,打磨出來的牆面非常平整,比加長桿的輕至少2倍。
吸砂一體機
這種機器的開發成本高(主要是技術要求高)、生產成本較低,機器本身較重打磨天花會感覺疲憊。
效果分類
有塵打磨
有塵打磨即是使用砂板、砂紙夾板、或者使用牆面打磨機直接對牆面打磨而不用處理打磨後流出的膩子灰,雖然提高了效率,機器價格也稍微便宜,灰塵還是沒有辦法解決。
無塵打磨
無塵打磨即是利用牆面打磨機或者其他打磨工具對牆面進行打磨,將打磨過程中產生的膩子灰同時進行收集。不僅解決了打磨速度慢的問題,而且還解決了粉塵的產生,其做出來的牆面平整、細膩效果是手工所無法比擬的。
施工工藝對比
下面是以重慶的當前工價和以100平米的牆面做的參考做的對比
| 項目 | 手工砂牆 | 機具砂牆 | 結論 | ||
| 狀況 | 結果 | 狀況 | 結果 | ||
| 工時 | 150元*3天(一人) | 約450元成本 | 100元*0.5天 | 約50元成本 | 可節約至少250元成本 |
| 砂紙 | 50張 | 約45元成本 | 2張 | 4元成本 | 可節約固有成本41元 |
| 粉塵 | 嚴重 | 容易得職業病(常見的如肺結核等疾病) | 無塵 | 環保 | 環保、能保護工人健康 |
| 平整度 | 一般 | 牆面有砂痕 | 平整 | 牆面無痕、光滑 | 交房合格率高無需二次工 |
注意事項
(一)使用機器時,請插好電源,嚴禁在濕潤、未乾或其他有水的狀態下違規操作電器。
(友情提示:建議使用有保險開關的插座)
(二)當打磨比較硬的牆面膩子時,請選用粗目號的砂紙(可選P120/180型號),調速開關選擇3或2檔。
(三)當打磨比較軟的牆面膩子時,請選用細目號的砂紙(可選P320/400型號),調速開關選擇4或5檔。
(四)打磨外牆時,應更換硬磨盤,選用外牆專用砂紙,調速不超過3檔。
(五)打磨時嚴禁用力將磨盤抵押在牆上進行打磨,否則會造成轉動系統出現故障或損壞
(這種情況不在保修範圍內)。
(六)請勿在沒有吸塵機工作的情況下使用打磨機打磨,否則會損壞電機。
(這種情況不在保修範圍內)。
(七)嚴禁踩踏導線、摔打電機,嚴禁在易燃易爆等場所下進行作業。
(若不按說明,踩踏或摔打機器等人為因素造成機器損壞,不在保修期內)。
(八)注意檢查各馬達散熱情況是否良好,氣流是否暢通。組裝、拆卸時應確保電源已斷開以免造成不必要的損害。
(九)注意檢查作業盤、作業罩是否在同一水平面,否則影響作業效果。
(十)及時清理吸塵機內的粉塵,粉塵過多影響吸塵效果。
(十一)打磨機/吸塵機均採用220V電壓,請使用前注意檢查。電壓不穩或過高時請不要使用。
(若不按說明,強行使用造成電機損壞,不在保修期範圍內)。
(十二)嚴禁在砂磨機處於自由狀態下打開電源,必須握住砂磨機才可打開電源。
(十三)機器閒置時應存放在乾燥和兒童不易觸及的地方。
總結
牆面打磨機的使用大大節約了人力和物力,大大提高了工作效率,降低了固有成本,牆面打磨機的使用也是鑑別一個好的裝修隊伍的重要參考標準,是油漆工人的專用工具,其打磨牆面效果作業面光滑、平整、細膩,大面積效果如一,並配合使用不同粒度的砂紙,達到汽車表面效果。 產品在作業時因其吸塵器基本上將灰塵吸收乾淨,解決了空氣中飛舞的灰塵對環境的污染,對工人的身體起到了保護作用,現場施工環境非常清潔。

