簡介
與傳統無線電不同,軟體無線電要求儘可能地以數字形式處理無線信號,因此必須將A/D和D/A轉換器儘可能地向天線端推移,這就對A/D和D/A轉換器的性能提出了更高的要求。主要體現在兩個方面。
(1)採樣速率。依據採樣定理,A/D轉換器的抽樣頻率f應大於2W(W為被採樣信號的頻寬)。在實際中,由於A/D轉換器件的非線性、量化噪聲、失真及接收機噪聲等因素的影響,一般選取f>2.5W。
(2)解析度。採樣值的位數的選取需要滿足一定的動態範圍及數字部分處理精度的要求,一般解析度80dB的動態範圍要求下不能低於12位。
模數變換方法
軟體無線電對模數變換的技術要求包括以下幾個方面:
(1)採樣方法應滿足採樣定理,適當加入抗混迭濾波器;
(2)寬頻化,如在中頻對模擬信號進行數位化,信號頻寬通常在十幾到幾十兆赫茲;
(3)保持較高的信號動態範圍;
(4)高採樣率,應儘量在中頻或射頻工作,以儘可能保證整機的軟體化處理;
(5)減少量化噪聲。
模數變換主要是對模擬信號進行採樣,然後量化編碼為二進制數位訊號;數模變換是模數變換的逆過程,主要是將當前數位訊號重建為模擬信號。下面主要介紹採樣和重建的方法。
1.低通採樣
低通採樣定理表述如下。
一個頻帶限制在(0,f)內的連續信號x(t),如果抽樣頻率f大於或等於2f,則可以由抽樣序列{x(nT)}無失真地重建恢復原始信號x(t)。
由低通採樣定理可知,若抽樣頻率f<2f,則會產生失真,這種失真稱為混疊失真。
下面對低通採樣定理進行簡單的證明。
設為低通信號,抽樣脈衝序列是一個周期性衝擊函式δ(t)。抽樣過程x(t)是與δ(t)相乘的過程,即抽樣後信號x(t)=x(t)δ(t)。由頻域卷積定理可知:
模數轉換(2.36)
其中,X(ω)為低通信號的頻譜。
模數轉換(2.37)
所以
模數轉換(2.38)
可知,在ω≥2ω的條件下,周期性頻譜無混疊現象。於是,經過截止頻率為的理想低通濾波器後,可無失真地恢復原始信號,如圖1所示。
模數轉換圖1採樣前後頻譜對比圖
如果ω2ω,則頻譜間出現混疊現象。此時不可能無失真地重建原始信號。
對於低通採樣的軟體無線電接收機,可以根據低通採樣定理設計模型。假設接收機所要求的最低和最高頻率分別為f和f,考慮前置超寬頻濾波器的矩形係數r,則有:
f>2rf(2.39)
一般而言,軟體無線電接收機的工作頻帶很寬,這就要求A/D採樣也必須達到相應的速度以滿足其要求。例如,當f=1GHz,r=4時,f≥8GHz。即使允許過渡帶混疊,最低採樣速率也應滿足:f≥(r+1)f=5GHz。目前的ADC尚無法達到如此高的採樣率。在此基礎上,如果要求A/D具有很大的動態範圍,則實現會更加困難。同時,超寬頻濾波器、放大器實現難度也較大。
綜上,基於低通採樣理論的射頻低通採樣的方式,由於受到ADC器件製造水平的限制,在軟體無線電中很難達到所需的性能。
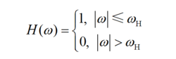
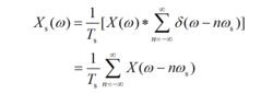
2.內插公式
D/A是A/D的逆過程,主要是對數位訊號進行內插以得到模擬信號。如果從頻域角度看信號的重建,那么採樣後的信號經過傳遞函式為H(ω)的理想低通濾波器後,其頻譜為:
模數轉換(2.40)
其中,
模數轉換(2.41)
從時域角度,重建信號可以表示為:
模數轉換(2.42)
式(2.42)即為採樣信號的重建公式(或稱為內插公式)。
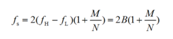
3.帶通採樣
低通採樣定理主要解決的是頻譜分布在(0, f)上的基帶信號的採樣問題。對於頻譜分布在(f,f ),且滿足fB=f-f的信號,低通採樣所要求的採樣頻率很高,以致難以實現。為解決這個問題,可採用欠採樣的方法。帶通採樣是一種常用的欠採樣形式。
帶通採樣定理描述如下。
設有一個頻率帶限信號x(t),其頻帶限制在(f,f )內,如果其採樣速率f滿足:
模數轉換(2.43)
式中B=f-f,M=[f/(f-f)]-N,N為不超過f/(f-f)的最大正整數,則用f進行等間隔採樣得到的信號採樣值{x(nT)}能準確地確定原信號x(t)。
由於帶通採樣定理的特點,它只適用於占據一個頻帶的信號,而不允許在不同的頻帶上同時存在信號,否則將會引起信號混疊。然而在實際系統中,許多時候需要處理的信號在不同的頻帶上均有一定的分量。為解決這一問題,可引入抗混疊濾波器。其理想的處理方法為:當需要對某一帶通信號進行採樣時,可先通過抗混疊濾波器將其調製到所感興趣的帶通信號的中心頻率上,濾出所需要的帶通信號,然後再通過帶通採樣定理進行採樣。其模型如圖2所示。
模數轉換圖2理想帶通採樣模型
這種理想的帶通採樣模型存在著兩方面的限制,主要表現在:
(1)如果帶通採樣的頻段範圍較寬,則要求ADC也必須具有較大的工作頻寬;
(2)針對不同頻率信號的帶通採樣要求,ADC之前的抗混疊濾波器必須是可調抗混疊跟蹤濾波器。
為解決上述問題,在實際套用中,可以採用前端超外差接收機模型。其特點為:射頻信號先通過與一個本振信號進行混頻,變成統一的中頻信號,然後進行濾波和帶通採樣。其結構如圖3所示。
模數轉換圖3超外差接收機模型
圖3中,f=f-f,通過改變本振頻率f就可以將不同頻率的f信號變換為統一的頻率為f的中頻信號,這樣ADC前的抗混疊濾波器就更容易實現了。然而,這種超外差中頻數位化接收體制也存在著一定的缺陷,表現為由於模擬信號處理環節過多,導致適應性不強,可擴展性差。
適用於軟體無線電的寬頻數字中頻接收機是對傳統的超外差數字中頻接收機的一種革新。二者的主要區別為前者的中頻頻寬為寬頻結構,而後者為窄帶結構。軟體無線電的寬頻數字中頻接收機比理想帶通採樣模型複雜,通過相對複雜的射頻前端把射頻信號變換為中心頻率和頻寬適中的寬頻中頻信號,因而大大減輕了後續A/D採樣數位化的負擔。這種結構改善了窄帶數字中頻接收機對信號環境的適應性和可擴展性,對器件的性能要求較低,在目前的技術條件下,是軟體無線電接收機主要的實現方案。
4.過採樣
以遠大於低通採樣率進行採樣的方法稱為過採樣技術。採用過採樣技術會帶來以下兩個好處。
(1)高速採樣可降低對前級抗混疊濾波器性能的設計要求。採樣率越高,則採樣後頻域中相鄰的兩個周期性頻譜之間的間隔越大。因此即使前級濾波器在截止頻率附近的阻帶衰減不足,所產生的混疊效應也會減輕,相應的恢復後信號的失真也會減小。
(2)高速採樣可提高信噪比。由於存在著量化噪聲,ADC的信噪比近似表示為:
模數轉換(2.44)
其中,N為ADC的解析度,f為採樣速率,f為輸入模擬信號的最大頻率。由式(2.44)可見,採樣率每提高一倍,信噪比增加3dB。
轉換器的參數
1.採樣速率和解析度
對於ADC而言,採樣速率和解析度是兩個非常重要的指標參數。其中,採樣速率表示模擬信號轉換為數位訊號的速率,與ADC器件的製造技術有關,取決於ADC中比較器所能提供的判斷能力。解析度表示模擬信號轉換為數位訊號後的比特數。
一般而言,採樣速率和解析度是互相制約的關係。採樣速率每提高一倍,解析度大約損失1bit。這主要是由於採樣時刻的抖動,即孔徑抖動或稱為孔徑不定性。
解析度直接決定了ADC的量化電平,即ADC能夠分辨的最小模擬信號電平值。假設ADC的輸入電壓範圍為(−V,V),解析度為N(bit),則該ADC擁有有個2量化電平,且量化電平為:
ΔV=2V/2(2.45)
ΔV也可以稱為轉換精度。由上面的公式可見,ADC的解析度越高,電壓輸入範圍越小,則它的轉換精度越高。
2.信噪比
ADC的信噪比(SNR)反映了量化過程中產生的無噪聲信號部分的均方根值和量化噪聲的均方根值的比值。若輸入信號為歸一化的正弦波1/2sin(ωt+ψ),則可以通過如下公式來確定SNR的大小:
模數轉換(2.46)
其中,N為ADC的解析度。由此可知,ADC的信噪比主要取決於解析度,解析度每增加一位,ADC的信噪比將增加6dB。但是隨著解析度的提高,ADC的量化電平變得更小,採樣過程更容易被干擾。
3.有效轉換位數
對於實際的A/D變換系統,由於存在著電噪聲、外界干擾和模擬電路的非線性畸變等因素的影響,僅以理想的解析度來度量系統性能是不夠的。為更好地反映系統系能,可以在測量得到SNR的基礎上,將上述因素按量化噪聲進行折算,推導出系統的有效轉換位數(ENOB)。其計算公式如下:
模數轉換(2.47)
ENOB表示了理想的ADC器件為達到實際的SNR所需要具有的解析度的大小。ADC器件指標中ENOB與解析度的差別,反映了由於誤差源引起的SNR下降所造成的採樣精度下降的程度。
4.無失真動態範圍
無失真動態範圍(SFDR,Spurious-FreeDynamicRange)表示ADC在強信號干擾下檢測微弱信號的能力,在有的書中也被稱為無雜散動態範圍或無寄生動態範圍。SFDR可以按兩種方式進行定義:
(1)定義為滿量程(FS)信號的均方根值與輸出信號中最大寄生信號的均方根值的比值,用dBFS表示;
(2)定義為輸入信號幅度的均方根值與輸出信號中最大寄生信號的均方根值的比值,表示為dBc。
在理想情況下,SFDR的最大值出現在滿幅度輸入的情況下。在實際情況中,SFDR的最大值比滿幅度輸入至少低幾個dB,這是由於在輸入信號幅度接近滿幅度時ADC的非線性及失真現象將更加嚴重。因此,在實際中,應避免使ADC輸入信號幅度接近滿幅度。
5.孔徑誤差
在理想情況下,採樣過程是瞬間完成的。然而,對於實際的A/D變換過程,從發出採樣命令到實際開始採樣需要一定的時間,即實際採樣點與理想採樣點之間存在著一定的時間延遲,稱為孔徑時間(ApertureTime)。對於一個動態模擬信號,在ADC接通的孔徑時間裡,輸入的模擬信號值是不確定的,從而引起輸出的不確定誤差,這就是所謂的孔徑誤差。孔徑誤差會導致ADC採樣精度和信噪比的下降,且與被採樣信號的頻率f成正比。
假設輸入信號是一頻率為f的正弦信號,
模數轉換(2.48)
信號電壓變化最大的時刻發生在信號的過零點處,即:
模數轉換(2.49)
假設模數轉換器的轉換時間為t,則在轉換時間內可能出現的最大孔徑誤差為:
模數轉換(2.50)
最大相對孔徑誤差為:
模數轉換(2.51)
6.非線性誤差
非線性誤差是轉換器的重要精度指標,表示了ADC實際轉換值與理論轉換值之間的差別。非線性誤差主要包括兩類:差分非線性(DNL,DifferentialNon-Linearity)誤差和積分非線性(INL,IntegralNon-Linearity)誤差。
差分非線性誤差(DNL)是指ADC實際的量化電平與理論的量化電平之間的差異,這主要由於A/D本身的電路結構和製造工藝等原因,引起在量程中某些點的量化電壓和標準的量化電壓不一致而造成的。DNL引起的失真分量與輸入信號的幅度和非線性出現的位置有關,通常用和理想電平相差的百分比來表示。
積分非線性誤差(INL)是指ADC實際轉換特性函式曲線與理想轉換特性直線之間的最大偏差,主要是由於A/D模擬前端、採樣保持器及ADC的傳遞函式的非線性所造成的。理想轉換特性直線可以利用最小均方算法得到,而INL引起的各階失真分量的幅度隨輸入信號的幅度變化。如果輸入信號每增加1dB,則二階交調失真分量增加2dB,三階交調失真分量增加3dB。
7.互調失真
當兩個正弦信號、同時輸入ADC時,由於器件的非線性,其輸出頻譜除了含有這兩個頻率的分量之外,還將產生許多失真產物,由此所造成的失真稱為互調失真(IMD,InterModulationDistortion),其中m+n的數值表示失真的階數。在所有的互調失真中,二階和三階的互調產物最為重要。前者容易通過數字濾波器濾除,而後者由於與、離得很近而很難濾除。
一般採用二階截獲點和三階截獲點來度量互調失真。然而,對於ADC,由於其限幅的特性,二階截獲點和三階截獲點並不適用,因此在ADC中也並沒有指定。在這種情況下,雙音SFDR是最適合度量ADC失真程度的指標。
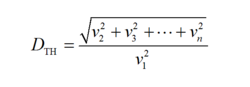
8.諧波失真
由於ADC非線性的影響,其輸出的頻譜中出現許多輸入信號的高次諧波,這些高次諧波分量稱為諧波失真分量,由此所造成的失真稱為諧波失真(THD,TotalHarmonicDistortion)。諧波失真和互調失真是兩個不同的概念,前者是對原信號波形的扭曲,即使是單一頻率信號通過ADC也會產生這種現象,而後者卻是不同頻率之間的互相干擾和影響。
度量ADC的諧波失真的方法很多,通常可利用離散傅立葉變換(DFT)測出各次諧波分量的大小。DFT算法的表達式如下:
模數轉換(2.52)
其中,為輸入序列,N為變換的點數。總的諧波失真D指標可以用下式表示:
模數轉換(2.53)
式中,為輸入信號的幅度(有效值),v2、v3、…、vn分別為2次、3次、…、n次諧波的幅度(有效值)。在實際套用中,通常取n的值為5或6。
9.全功率輸入頻寬
全功率輸入頻寬(FullPowerAnalogInputBandwidth)是指當ADC輸出信號幅度低於最大輸出電平3dB時的輸入信號頻率範圍。一般採樣速率越高,全功率輸入頻寬就越寬。對於ADC而言,被採樣信號的頻寬必須在全功率輸入頻寬之內,否則在模擬輸入頻寬之外的頻率成分因衰減過多而無法正確地反映原始信號。
通用模數/數模轉換結構
軟體無線電中通常採用的ADC和DAC的結構包括以下4種類型:
(1)並行結構,包括Flash-ADC和串狀DAC;
(2)分段結構,包括摺疊內插ADC和“分段”梯形DAC;
(3)疊代結構,包括分區ADC、流水線型ADC、逐次逼近型ADC;
(4)Σ-△結構,包括Σ-△ADC和DAC。
下面以ADC為例對以上幾種結構進行介紹。
1.並行結構
並行結構的數據轉換器的基本思想是:同時比較待轉換的信號電平與所有級別的量化電平之間的關係,在模擬信號和數位訊號之間相互轉換。並行結構所對應的A/D和D/A轉換器件分別為Flash-ADC和串狀DAC。
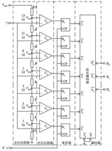
Flash-ADC內含一列並聯比較器,一列由電阻分壓器產生的電平作為相應的比較器的基準電壓。被轉換的模擬電壓信號同時加到全部比較器上,各比較器的輸出經編碼後作為ADC的輸出,如圖2.12所示。
一個解析度為N(bit)的Flash-ADC含有2N個精密電阻,2N−1個高速比較器;解析度每增加1bit,需要增加2N個精密電阻和2N個高速比較器,這會大大增加集成的複雜度和器件功耗。因此一般Flash-ADC的解析度無法達到很高。
串狀DAC是實現Flash-ADC的逆操作,因使用電阻串來構造參考電壓而得名,在有的書中也被稱為開爾文分配器。串狀DAC依靠待轉換數據來控制一組開關,以產生合適的電流通過精密電阻,從而產生合適的模擬信號電壓。
並行結構只需要一級模擬電路,因此具有設計簡單,轉換時間短,速度快的優點,在所有可能的結構中提供最快的數據轉換。在解析度要求較低的情況下,Flash-ADC和串狀DAC兩種結構都容易採用超大規模積體電路(VLSI)進行設計。然而,由於比較器(或開關)和精密電阻的數量隨著轉換器的解析度呈指數增長,Flash-ADC和串狀DAC的晶片面積和功耗也隨之呈指數增長。
2.分段結構
分段結構的數據轉換器的思想是把輸入信號分成MSB和LSB兩個分量,之後兩個分量通過各自所對應的數據轉換器進行處理,最後將處理的結果組合起來形成輸出信號。其中MSB分量反映了輸入信號相對較大的幅度增量,而LSB反映了在MSB上所疊加的較小的幅度變化。對於數位訊號而言,MSB代表了高位比特,而LSB代表了低位比特。
而軟體無線電所生成的數位訊號也需要變換成模擬信號才能進行射頻放大輸出。這一切都是通過A/D轉換器(ADC)和D/A轉換器(DAC)來實現的。
與傳統無線電不同,軟體無線電要求儘可能地以數字形式處理無線信號,因此必須將A/D和D/A轉換器儘可能地向天線端推移,這就對A/D和D/A轉換器的性能提出了更高的要求。主要體現在兩個方面。
(1)採樣速率。依據採樣定理,A/D轉換器的抽樣頻率f應大於2W(為被採樣信號的頻寬)。在實際中,由於A/D轉換器件的非線性、量化噪聲、失真及接收機噪聲等因素的影響,一般選取f>2.5W。
(2)解析度。採樣值的位數的選取需要滿足一定的動態範圍及數字部分處理精度的要求,一般解析度80dB的動態範圍要求下不能低於12位。
本節首先介紹模數/數模變換的原理及關鍵技術,接著給出模數/數模轉換器的一些關鍵參數,最後討論幾種通用的模數/數模轉換器的結構。
