在白盒測試法中,選擇足夠的測試用例,使得每個判定中條件的各種可能組合都至少出現一次。顯然,滿足“條件組合覆蓋”的測試用例是一定滿足“判定覆蓋”、“條件覆蓋”和“判定/條件覆蓋”的。
例如:
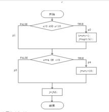
圖1則它的判定/條件覆蓋測試用例:
條件組合覆蓋"基本內容在白盒測試法中,選擇足夠的測試用例,使得每個判定中條件的各種可能組合都至少出現一次。 顯然,滿足""條件組合復蓋""的測試用例是一定滿足""判定復蓋""、""條件復蓋""和""判定/條件復蓋""的。"
在白盒測試法中,選擇足夠的測試用例,使得每個判定中條件的各種可能組合都至少出現一次。顯然,滿足“條件組合覆蓋”的測試用例是一定滿足“判定覆蓋”、“條件覆蓋”和“判定/條件覆蓋”的。
例如:
圖1則它的判定/條件覆蓋測試用例:
條件組合覆蓋判定-條件覆蓋就是設計足夠的測試用例,使得判斷中每個條件的所有可能取值至少執行一次,同時每個判斷的所有可能判斷結果至少執行,即要求各個判斷的所有可能的條...
邏輯覆蓋是以程式內部的邏輯結構為基礎的設計測試用例的技術。它屬白盒測試。白盒測試的測試方法有代碼檢查法、靜態結構分析法、靜態質量度量法、邏輯覆蓋法、基本...
術語概述 術語詳解與舉例Testing coverage(測試覆蓋),指測試系統覆蓋被測試系統的程度,一項給定測試或一組測試對某個給定系統或構件的所有指定測試用例進行處理所達到的程度。
分類 優缺點組合數學(combinatorial mathematics),又稱為離散數學。狹義的組合數學主要研究滿足一定條件的組態(也稱組合模型)的存在、計數以及...
簡介 國外狀況 花絮 相關書籍《組合數學》 清華大學出版社圖書代碼覆蓋(Code coverage)是軟體測試中的一種度量,描述程式中原始碼被測試的比例和程度,所得比例稱為代碼覆蓋率。
概述 度量方式 總結棋盤完全覆蓋問題(problem of perfect cover of chessboard)是一類組合問題,一個8×8西洋棋棋盤,m×n廣義棋盤,...
問題總述 m×n棋盤的完全覆蓋 殘缺棋盤的完全覆蓋這就是經典的集合覆蓋問題(SCP)。 問題就成為了帶有權重的集合覆蓋問題。 is證明了集合覆蓋問題不存在c(lnn
簡介 研究組合板房是一種以輕鋼為骨架,以夾芯板為圍護材料,以標準模數系列進行空間組合,構件採用螺栓連線,全新概念的環保經濟型組合房屋。
簡介 用途 優點 使用和保養 儲存與安裝好男人組合,樂隊組合,成員有韓光、蔣力。著有專輯《紅翻曲》。
組合信息 發展歷程 專輯曲目 歌曲介紹