簡介
指南車復原模型 指南車是中國古代指示方向的一種車輛,也作為帝王的儀仗車輛。指南車起源的具體時代未知,歷代曾幾度失傳幾度重製,但均未留下具體結構的資料,可能歷代的指南車結構也不盡相同?直至宋代才有較完整的資料。
但是,正如永動機不可能成功,機械式指南車也有它解不開的死穴。因為所有機械指南車,都是以兩輪之間的“差動”來工作的,它希望兩輪與地面作純滾動,這是一種理想的數學模式,在實際中從來不曾有過。我們知道車輪尺寸會有製造誤差,也會有磨損不均,還會有地面的坑坑窪窪。可以這么說,歷史上大凡成功複製的機械式指南車,在短時期短距離以及路況相對平整的條件下,會有正確的指向能力。若將試驗條件相對放寬,機械式指南車必定會與預期有較大的差異,被歷史淘汰也是不可避免的。
現代以來國內外很多人嘗試復原指南車,有幾種指南車的復原結構,一種指南車結構採用兩輪的差動使斜面軸向頂推帶動曲軸轉動,帶動車上指向木人與指南車轉向角度相同方向相反,實現指向功能。這種復原結構具有結構簡單比較接近歷史的實際條件。第二種指南車復原結構,採用在兩個車輪上刻畫標記,通過標記來知道兩個車輪差動了多少從而來判斷方向,這種復原結構的指南車行走時不能知道方向,需要車停下來觀察車輪的標記才能辨明方向,另外也不符合古籍中“車雖回運而手常指南”的記載。第三種指南車復原結構類型是採用自動離合裝置,它利用齒輪傳動系統和自動離合裝置來傳遞兩車輪之間的差動,實現指示方向,雖然結構比較簡單,但存在使用條件嚴格,指向誤差大,實用性差的缺點。第四種是採用差速齒輪原理結構的指南車,雖然指向精度更好但結構複雜,工藝要求高,不符合古代的科學技術水平,看起來更象是現代發明而不是古代技術的復原。
以上的復原結構中兩輪的差動使斜面軸向頂推的結構更加接近古代人們掌握的技術水平和歷史記載,對人們了解古代的科學技術有一定的參考作用。
工作原理
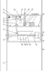
黃帝指南車 圖一 所述滾輪22在斜面2302上移動並繞車軸轉一周時,使套筒23軸嚮往復移動,通過槓桿5和連桿6帶動曲軸13旋轉一周,本實施例中,所述左、右車輪1、26著地點之間的距離等於車輪半徑的長度,指南車轉向正好轉到一周時,兩車輪的差動就正好使滾輪22繞車軸轉一周,使套筒23軸嚮往復移動,通過槓桿5和連桿6的傳動使曲軸13正好旋轉一周。這樣指南車轉向的角度與曲軸13帶動指向物12轉動的角度相同,方向相反,保證了仿古指南車在運動過程中其預先設定的指示方向不變。如圖一
黃帝指南車 圖二 利用推桿28推動指南車向右轉動時,推桿28內端帶動弓狀體17逆時針旋轉,至弓狀體17與限位柱Ⅱ31接觸,指南車向右轉動過程中,通過槓桿5、連桿6的傳動,曲軸13由初始狀態(曲軸的彎曲段指向車後壁)順時針旋轉,旋轉過程中由開始接觸柔性弓弦16至擠壓柔性弓弦16、最後在到達止點位置(如圖2、圖3,到達右止點位置)時,柔性弓弦16釋放彈力使曲軸13順利通過止點位置,防止卡住。如圖二圖三
黃帝指南車 圖三 出現時間
日本指南車復原模型 關於指南車的出現時間,有四種說法:一、西晉崔豹所著《古今注》及《志林》等古籍說黃帝與蚩尤作戰時,蚩尤作大霧,黃帝造指南車為士兵領路。二、《古今注》及《鬼谷子》等古籍說周公(即周武王弟)作指南車,是因“越裳氏”來進貢,迷失了歸路,周公造“五乘”指南車,為他們引路。三、劉仙洲在所著《中國機械工程發明史(第一編)》中說指南車的發明應以古籍《西京雜記》記載為據,定為西漢。四、王振鐸在所著《科技考古論壇》中說“創造指南車者,當以三國時馬鈞為可信”,並引《魏略》所記來加以證明。
從現有資料判斷,知指南車的內部結構有兩種可能性:利用齒輪系統之定向性或磁鐵的指極性。若以考古資料為據可知,中國齒輪出現的時間,在戰國到西漢之間。《宋史》記載了宋代兩種指南車的具體結構,可知宋代的指南車肯定是齒輪傳動系統,依靠機械傳動系統的定向性。則此種指南車出現時間不可能早在齒輪之前。
上述所謂黃帝或周公造指南車之說都不能成立,尤其黃帝發明之說更早於車的發明時間。以劉仙洲所說西漢已有指南車較為妥當。至於王振鐸主張三國有指南車說,則就更穩妥了,但將這說成指南車出現的時間就保守了些。指南車是中國古代用來指示方向的一種依靠人力帶動行走,連線齒輪傳動木人指示方向的車輛。
關於指南車的發明有許多傳說和記載。據史書記載,東漢張衡(公元78-139年)、三國時代魏國的馬鈞、南齊的祖沖之都曾製造過指南車。《宋史·輿服志》中對指南車的結構和各齒輪大小和齒數都有詳細記載。
現今雖可知宋代兩種指南車的內部結構確是齒輪裝置,與指南針無關,但對其他朝代指南車的內部結構,未見任何古籍及參考資料,也就無法證明其他朝代指南車內部是利用了什麼原理。
現代復原
三才圖會的描述 現代的人對指南車的復原只是提供給現代人一種參考和研究,不代表古代歷史事實。
斜面頂推結構的指南車結構簡單沒有用齒輪,套用斜面,槓桿、曲軸、等。斜面頂推式指南車的內部機械傳動比例可以很輕易的通過實驗試出來,
古人在生產實踐中會發現同樣大小的兩車輪,當兩車輪間的車軸長一些時,以一輪不動為圓心,車原地轉向一圈時,另一輪轉了二圈。當兩車輪間的車軸比上次短一些時,以一輪不動為圓心,車原地轉向一圈時,另一輪轉了一圈多。這樣幾次實踐就可以知道,當兩輪間的軸長是車輪直徑的一半時,以一輪不動為圓心,車原地轉向一圈時,另一輪轉了一圈。也就是這個車轉向一圈,兩輪間的差動正好一圈。
這樣的車轉向一圈使斜面探頭在斜面上轉一圈,推動斜面套筒軸向一個往復,這樣一比量這個往復的行程就可以確定曲軸的半徑。這個往復使曲軸轉一圈,這樣車轉向一圈帶動曲軸也轉一圈,它們轉向的方向相反,這樣保證了無論車怎么轉向木人始終指向原來的方向。所以斜面頂推式指南車不用計算,通過簡單少量的實驗,就可以知道傳動的比例。
人們對指南車真實性的普遍懷疑還在於一百多年來人們所復原的其他結構類型的指南車在顛簸的野外道路上行走不長距離就會因為車輪的打滑空轉使指向標偏離南方很多失去指向作用。即使試圖用幾輛指南車相互效驗的方法也不行,因為其他這幾種類型的指南車,幾輛車前後走過相同的道路,受到相同的顛簸影響,指向標會相同的向左或向右產生誤差偏離南方,沒辦法相互效驗。而斜面頂推式指南車可以通過至少兩輛指南車相互效驗的方式克服地面顛簸產生的誤差。以下是具體方法
該克服地面顛簸引起的誤差的指南車使用方法,包括如下步驟:
1)、準備兩台結構相同的指南車
指南車 如圖1所示,
每台所述指南車包括車體4、插裝配合且軸心線重合的左、右半軸2、19、分別固定於左、右半軸2、19一端的左、右車輪1、26、與左半軸2採用鍵配合併可軸向移動的套筒23、支撐於車體4上的槓桿5、立設於車體4上的曲軸13和連線於曲軸13與槓桿5之間的連桿6、設於曲軸13頂端的指向物12,所述槓桿5一端與套筒23的圓環形端面相接觸,另一端與配重物11連線,所述套筒23的另一端為斜面22,所述右半軸19另一端部固定有軸套20,所述軸套20邊緣設有推動套筒23往復軸向移動的斜面探頭21,所述斜面探頭21在斜面22上移動並繞車軸運動一周時,通過槓桿5和連桿6帶動曲軸13旋轉一周;所述左、右車輪1、26著地點之間的距離等於車輪半徑的長度;車轅27與指南車兩輪對稱中心線重合併指向前方;在所述套筒23的斜面22邊緣標出斜面的頂點,底點和兩個中間點位置,且斜面22邊緣其餘位置均等標出刻度;在指南車車體4上表面設定帶有刻度的圓盤32,所述指向物12的立桿穿過圓盤32的圓心位置,在圓盤32上過圓心與車軸平行畫線,過圓心與車輪平行畫線,圓盤32上其他地方均等畫刻度,所述指向物12指向圓盤刻度。
2)、指南車出發前設定
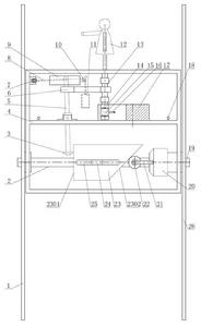
指南車 如圖4、圖5所示,
指南車 首先,保證兩台指南車的指向物12和車轅27都相互平行且共同指向南方,其中一台指南車A出發前斜面探頭21對準套筒的斜面22中間點,設定使右車輪26向前空轉時會帶動斜面探頭21相對向斜面22下坡方向運動,另一台指南車B出發前斜面探頭21對準套筒斜面22的另一個中間點,設定使右車輪26向前空轉時會帶動斜面探頭21相對向斜面22上坡方向運動;兩台指南車A、B在行駛方向前、後布置。
3)、出發
出發後兩台指南車A、B前後向同一方向前進,走過相同的車轍印,受到相同的顛簸影響,
指南車 如圖6所示,
當走在前面的指南車A的左車輪1受到顛簸,帶動套筒斜面22相對右車輪26帶動的斜面探頭21向前空轉時,斜面探頭21相對向套筒斜面22上坡方向運動,由於受到斜面阻礙,使左車輪1不會實際發生向前的空轉,不會產生誤差。
指南車 如圖7所示,
當走在前車車轍印中的指南車B的左車輪1受到與前車同樣的顛簸時,帶動套筒斜面22相對右車輪26帶動的斜面探頭21向前空轉時,斜面探頭21相對向套筒斜面22下坡方向運動,不受到斜面阻礙,使左車輪1會實際發生向前的空轉,產生誤差。
接下來,兩車繼續前行,
指南車 如圖8所示,
當指南車A的右車輪26受到顛簸帶動斜面探頭21相對於左車輪1帶動的套筒斜面22向前空轉時,斜面探頭21相對向套筒斜面22下坡方向運動,不受斜面阻礙,因此右車輪26會實際發生向前的空轉,產生誤差;因此這輛指南車受到顛簸影響使指向物只向右偏離南方。
指南車 如圖9所示,
當走在前車車轍印中的指南車B的右車輪26受到與前車同樣的帶動斜面探頭21相對於左車輪1帶動的套筒斜面22向前空轉時,斜面探頭21相對向斜面22上坡方向運動,受到斜面22阻礙右車輪26不會實際發生向前的空轉,不會產生誤差;因此,指南車B受到與前車同樣的顛簸影響後使指向物只向左偏離南方。
兩台指南車A、B行走一段距離後如果兩台指南車的指向物12沒有如出發前那樣相互平行指向一個方向而是存在夾角,這說明受地面顛簸影響產生了指向誤差。
4)、消除指向誤差
調整兩台指南車A、B使兩台指南車的車轅27相互平行並指向兩台指南車指向物12夾角的對稱中心線方向,這時兩台指南車斜面探頭21到套筒斜面22中間點的距離是相同的,分別將兩台指南車的一隻車輪略微抬起轉動,使兩台指南車的指向物12都指向兩個指向物夾角的對稱中心線方向,斜面探頭21又重新指到套筒斜面22的中間點,再將車輪輕輕放下,這樣指向物12又重新指向出發時所指向的南方。
還有兩種套用齒輪的指南車復原結構類型:一種利用齒輪傳動系統和自動離合裝置,一種是採用差速齒輪原理結構的指南車。這兩種復原結構的指南車,復原的只可能是齒輪出現以後的朝代所記載的指南車。
研究製作
指南車結構示意圖 在使用時先人為地進行調整,使木仙人的手指向正南。若馬拖著轅直走,則左右兩個小平輪都懸空,車輪小齒輪和車中大平輪不發生嚙合傳動,因此木人不轉,當然也不會改變指向。若車子向左拐彎,則車轅的前端也必向左,而其後端則必偏右。車轅的這種變化,會使系在車轅上的吊懸兩小平輪的繩子發生相應的鬆緊,從而把左邊的小平輪向上拉,但仍使它懸空;而右邊的小平輪則借鐵墜子及其本身的重量往下落,從而造成了車輪小齒輪和大平輪的嚙合傳動。若車子向左轉90度,則在轉彎時,左輪不動,右輪要轉半周。與右輪相連的小齒輪也就轉半周(即轉過12個齒),經過小平輪傳動到大平輪,則大平輪將以相反的方向轉動12個齒,即1/4周(也即90度),這樣木仙人在和車一起左轉90度的同時,又由於齒輪的嚙合傳動右轉了90度,其結果等於沒有轉動,所以它的指向仍然不變。車子向右拐彎的情況或其他運動情況的結果可以類推。總之任車子怎么轉動,木仙人總能保持它的指向不變。
燕肅的指南車是一輛雙輪獨轅車,車上立一木人,伸臂指南。車中,除兩個沿地面滾動的足輪(即車輪)外,尚有大小不同的7個齒輪。《宋史·輿服志》分別記載了這些齒輪的直徑或圓周以及其中一些齒輪的齒距與齒數。由齒數、轉動數,並保證木人指南的目的,可見古人掌握了關於齒輪匹配的力學知識和控制齒輪離合的方法。車輪轉動,帶動附於其上的垂直齒輪(稱「附輪」或「附立足子輪」),該附輪又使與其嚙合的小平輪轉動,小平輪帶動中心大平輪。指南木人的立軸就裝在大平輪中心。當車轉彎時,只要操作車上離合裝置,即竹繩、滑輪(分別居於車左或車右的小輪)和鐵墜子,就可以控制大平輪的轉動,從而使木人指向不變,例如,當車向右轉彎,則其前轅向右,後轅必向左。此時只要將繞過滑輪的後轅端繩索提起,使左小平輪下落,從而與大平輪離開;同時使右小平輪上升,從而與大平輪嚙合,大平輪就隨右小平輪而逆轉。由於各個齒輪匹配合理,車輪轉向的弧度與大平輪逆轉弧度相同,故木人指向不變。
其後,吳德仁鑒於燕肅所制的指南車不能轉大彎,否則指向就失靈這一大缺點,重新設計製作指南車。吳德仁指南車基本原理與燕肅一致,只是在附設裝置方面較為複雜。他的車分上下兩層。上層除木人指南外,繞木人還有二隻龜、四隻鶴和四個童子。上層13個相互嚙合的齒輪就是為它們設的。下層的齒輪裝置與結構如前所述,是他發明了繩輪離合裝置,以保證車轉大彎也不影響木人指向。
近代,對指南車的研究,受到了國內外學術界的廣泛重視,提出了指南車內部結構的各種猜想,其中有英國學者郎基斯特(G·Lanchester)提出的差動輪系機構。大英博物館中的指南車就是按他的猜想復原製作的。
李約瑟博士在對指南車的差動齒輪作詳細研究後指出:無論如何,指南車是人類歷史上第一架有共協穩定的機械(homoeostatic machine);當駕車人與車輛成一整體看待時,它就是第一部摹控機械。
發明套用
日本指南車復原模型 指南車出現以後,許多朝代都有關於指南車的記載,從中可知此後歷代都有指南車。皇帝在隆重場合才使用,皇帝的儀仗隊中常不可少。《南齊書》中還記述了一件有趣的事,南北朝的劉宋平定關中後,得到一具指南車,做為戰利品,但只有外殼,而沒有內部的零件。於是皇帝出行時,讓人躲在車內操縱,可見有沒有指南車關係到皇帝的尊嚴與體面,很為重要。指南車的使用直到宋代,按《宋史》記載可以知道北宋時肯定有指南車在宋朝國都南遷後,屢經戰亂,無心也無力顧及指南車了。宋後,建立了元朝,少數民族統治中國,並不重視漢族以往的傳統,未見再研製指南車了,便從此絕跡。
因為是皇帝所用,所以指南車的規格很高,車身高大,裝飾華美,還雕刻著金龍、仙人。行走時前呼後擁,所用“駕士”相當多,如《金史》就說有十二人駕駛,而《宋史》則說原有“駕士”十八人,後增至三十人。《宋史》中還記載著,後魏時曾有馬岳造指南車,“垂成”之時,被人毒殺。這些都體現了當時對指南車的高度重視。
從古籍記載還可以看出,由於指南車的崇高地位與特殊作用,一般前朝滅亡之後,指南車也隨之毀壞。這種屢廢屢制的局面,造成歷史上研製過指南車的人相當多根據記載能搞清姓名、時間的就有十五人之多。所研製的指南車之外形應有繼承性,但內部結構應各不相同,也可能大有出入,因為指南車的內部結構常被認為是重要機密,避免讓人知道,這也許是歷史上很少古籍記載指南車的內部結構的原因。各代指南車的內部結構有所不同,甚至有較大不同,或者根本不同都是完全可能的。
詳細記載
指南車是古代一種指示方向的車輛,也作為帝王的儀仗車輛。指南車的發明較早。據傳說西周時就已發明,但最早的確切記載是在三國時期。有歷史典籍顯示三國時馬鈞是第一個成功地製造指南車的人。從三國時開始,歷代史書幾乎都有指南車的記載,但是都比較簡略。直至宋代才有完整的資料,《宋史》中較詳細地記載了它的內部結構。
《宋史·輿服志》詳細地記載了燕肅和吳德仁所造指南車的結構和技術規範,成為世界史上最寶貴的工程學文獻。指南車利用齒輪傳動系統和離合裝置來指示方向。在特定條件下,車子轉向時木人手臂仍指南。指南車的自動離合裝置顯示了古代機械技術的卓越成就。
歷史文獻
不過其後又有歷史典籍顯示三國時馬鈞是第一個成功地製造指南車的人。《宋史·輿服志》則詳細地記載了燕肅和吳德仁所造指南車的結構和技術規範,成為世界史上最寶貴的工程學文獻。

