抗癌腕帶

抗癌腕帶

抗癌腕帶,是谷歌計畫開發的一種可佩帶智慧型設備,這種手環能發出能量脈衝,靶向打擊佩戴者血液細胞中與帕金森病和癌症關聯的實質,從而起到預防帕金森病和癌症的作用。

簡介

抗癌腕帶抗癌腕帶
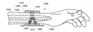
抗癌腕帶,是谷歌2015年3月獲得的一項腕帶設計專利,顯示其可以使用各種能量形式脈衝來幫助治療帕金森癌症等疾病,該手環可以發出能量脈衝,靶向打擊佩戴者血液細胞中與帕金森病和癌症關聯的實質。能量的形式可以包括遠紅外線,磁場,超音波,調頻電波以及聲脈衝等,這項以名為“NanoparticlePhoresis納米粒子電泳”的專利已經在世界智慧財產權組織WIPO網站上公布,顯示谷歌正致力於對抗癌症等疾病的醫學研究,包括能檢測癌症的藥片開發工作也在進行中。

原理

抗癌腕帶抗癌腕帶
腕帶設計專利顯示,傳輸的能量能夠根據血細胞中不健康物質的打擊目標不同而改變,有積極的治療效果。靶向打擊的實質目標可以為血液中的激素蛋白質。比如,已經有相關研究表明某種蛋白質與引起帕金森病部分相關,那么就可以通過篩選並打擊各種與帕金森有關的血液細胞粒子來預防或治癒帕金森病。同時,這種腕帶還可以通過篩選來修正或打擊癌症細胞

傳輸的能量能夠根據血細胞中不健康物質的打擊目標不同而改變,有積極的治療效果。靶向打擊的實質目標可以為血液中的酶、激素或蛋白質。比如,已經有相關研究表明某種蛋白質與引起帕金森病部分相關,那么就可以通過篩選並打擊各種與帕金森有關的血液細胞粒子來預防或治癒帕金森病。同時,這種腕帶還可以通過篩選來修正或打擊癌症細胞。

意義

谷歌新任高層比爾·馬里斯(BillMaris),谷歌風險投資合夥管理人在接受彭博社採訪時表示,他認為受益於醫學持續進步,人類或許可以活到500歲。谷歌這項專利也證明了谷歌一直致力於生命科學的研究,致力於為延長人類壽命做出貢獻。

相關詞條

相關搜尋

熱門詞條

聯絡我們