基本原理
1980年,美國波音公司氣動實驗室發展了一種流動顯示的新方法,即將壓力探頭在一個觀察面上依次檢測的流場參數值轉換為可見的彩色光信號顯示出來,並將全部的光信號用照相機記錄在一張底片上,從而獲得流場等參數分布的直觀形象的彩色圖形。這種以彩色圖形顯示流場特性並定量地給出流動參數值的方法稱為“彩色圖像流動顯示法”,簡稱“彩色圖示法”。
人們在探頭的使用、電光轉換、計算機控制和數據處理、照相和彩色圖像顯示等方面做了大量的研究與改進工作,發展成目前使用的一種實用性強,可以做流場參數定量測量和圖像顯示的流動顯示與測量技術。
彩色圖示法原理示意圖彩色圖示法的原理示意圖如圖所示。將一支測壓探頭4安裝在支桿2的末端伸入風洞中,探頭感受部迎著來流方向,位於觀測面1上,掃描裝置可帶動支桿按一定規律運動,使探頭的測壓點在觀測面上掃描,測得觀測面上各點的壓力值。然後將測得的壓力值經過壓力感測器5轉換為電信號,再經計算機做A/D轉換變成數位訊號,最後經圖像處理在CRT上等參數值的不同顏色顯示流動狀態,可以用照相機記錄,其測量數據可以用印表機輸出或軟碟輸出。
目前,先進的彩色圖像流動顯示與測量系統具有如下功能:
①使用七孔探頭或其他壓力、熱線探頭在測量平面上自動掃描檢測,用計算機做數據採集和處理,可以給出流場中諸點的總壓、靜壓、速度矢量、渦量等參數。
②試驗數據經實時處理成最多1種顏色碼,以偽彩色方式與探測掃描同步地顯示在CRT上,可以隨時了解試驗過程和數據分布。
③所有的測量和計算結果可以用多種方式顯示和記錄,如CRT顯示、彩色列印、磁碟存儲、印表機表格輸出試驗數據等。用照相機或錄像機給出偽彩色圖像。
④用單探頭掃描,測量與顯示一個300mmx500mm的斷面流動參數需要30min,為了縮短試驗時間,可用組合式多探頭掃描。
⑤可以將流場參數分布圖形與模型背景圖形合成,以便於分析和使用。
實驗裝置的組成
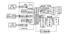
彩色圖像流動顯示與測量系統方框圖典型的彩色圖像流動顯示與測量系統的方框圖見圖。它由測量系統、掃描裝置和數據與圖像處理系統三部分組成。
測量系統包括七孔探頭及其配套使用的壓力感測器、高精度放大器、A/D轉換器二每個測量的壓力信號經過感測器變為微伏級的模擬電信號,放大約100倍後經多路開關實時地傳送到採樣感測器,經1變換器量化為離散的數位訊號送人CPU處理。
掃描裝置是一個在計算機控制下能做高精度位移的運動機構,七孔探頭在運動機構的支配下做掃描運動。計算機依據測量斷面的實際寬度確定掃描電機所需的脈衝數;同時以同一脈衝源作時鐘,自動地取每行行程的1/150所對應的時間均勻採樣。
與此同時,還應設計出垂直掃描程式,從_卜到下逐列測得流場信號,在CRT上以同樣的方式鈕示其結果。
在數據處理系統中,微伏級的模擬信號經過放大和A/D轉換後,作為表征流場參數的數字量存人計算機,經過處理後可以用表格形式或等參數線作圖輸出。而在圖像處理系統中可把每次掃描探測到的模擬電壓信號轉換成7等分的數字增量,經解碼和彩色編碼處理,產生以紅、綠、藍二基色及其混合色黃、紫.,青等彩色代碼,這些不同顏色的代碼代表不同壓力範圍.,在探頭掃描的過程中以不同的顏色在CRT上顯示出來。
圖像顯示
彩色圖像流動顯示的結果一般以彩色圖片的形式給出。這種彩色圖片可以用照相機直接記錄給出,也可以從CRT上用照相記錄或拷貝CRT上的彩色圖像給出。
彩色照相技術
彩色圖像流動顯示技術的彩色照相是把一個運動著的光信號的時間歷程記錄在同一張底片上,這是通常少見的照相方式。首先,它拍攝的對象不是通常的物面反射光,而是細小的運動著的變色發光體。在取景框裡甚至不易看到這種光點。拍攝時應事先設計好畫面的輪廓,用測光表測定各種顏色光的亮度值,通過試驗確定合適的光圈值。其次,拍攝的是光信號的全部運動過程,這好像是讓光點信號作筆,通過鏡頭在底片上做畫。這就需要使用照相機的B或T門。在掃描過程中照相機的快門始終開著,在黑暗的環境中用“連續曝光”的方法來實現。
通過二次曝光,即在掃描結束後用閃光燈進行二次曝光將試驗狀態下的模型背景記錄在同一張照相底片上。
為了避免作為判讀坐標的背景圖像和顯示圖形失真,相機應置於氣流下游較遠的地方,使用長焦距鏡頭拍攝。
在試驗階段,如能使用一次成像的“Polroid”相機,可以在試驗結束後立即得到照片,便於及時判讀、分析試驗結果。
在CRT上的圖像顯示
在CRT上顯示流場參數分布,希望有較高的解析度,即顯示的彩色和點數愈多愈好。但實際上是有一定限度的。一般CRT上有640x400個分辨能力,取4x4個像素組成一個顯示單元,除去坐標和標記占用外,圖形顯示點數為150 x87。實際使用中所測參數滿量時最多有16種顏色顯示。
採用七孔探頭做測量時,應根據七孔探頭的校正係數和有關公式做數據處理。為了在試驗中監控數據分布是否合理並隨時了解試驗進程,對七孔探頭的第7個測壓孔所測得的數據實時處理成彩色碼,與掃描同步顯示在CRT上,也可隨時調出其他各孔的數據分別顯示。
對於測量所得的空間速度矢量分布,在二維平面上顯示的方法是在速度模的偽彩色等參數分布圖上疊加表示單位速度矢量在測量平面上投影的箭頭,它的方向表示在測量斷面上速度分量方向,而其長度表示速度矢量與x軸的夾角。完全順自由來流時長度為零(一個點);垂直於白由流時長度最大。
使用計算機圖像處理程式,可以根據需要顯示出各種變化的圖形。例如,可以把同一測量斷面上的不同流動參數分布的數幅圖形在同一幅畫面上顯示,便於對比分析各參數之間的關係;不同斷面而同一流場參數分布的數幅圖形可以按一定關係在同一幅畫面上顯示出來,表示出某種三維顯示效果。
優點
彩色圖像流動顯示法具有設備簡單、快速、直觀、能定量顯示與測量空間流場參數等優點,目前已在飛行器風洞試驗中得到廣泛套用,特別是在低速風洞中。使用的探頭可以是壓力探頭,也可以是熱線探頭,根據需要選定。
彩色圖像流動顯示法的最大優點是能獲得廣泛的流動參數信,給出定量的結果。可以在模型測壓和測力試驗的同時完成流參數的測量,便於與測.力、測壓試驗結果做對比分析。由於它是點掃描測量,因此不能用於非定常流;由於它屬於接觸測量,因此對渦核附近的測量結果會帶來一定干擾。

