基本原理與結構
發動機點火後,控制部分得電工作,同時報警器打開,進行短時間(7秒)報警後停止,控制部分在不停的檢測車速信號和安全帶信號,當安全帶未系而車速達到20公里/小時報警器打開持續報警,當繫上安全帶後,電源被斷開控制部分停止工作,報警也停止從而完成提示工作;另外,當關閉點火鑰匙3秒後,報警聲音打開,持續8秒鐘,以提醒駕駛員不要忘記拔鑰匙。
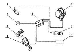
工作過程
當駕駛員進入駕駛室並打開點火鑰匙7控制器5開始工作,汽車安全帶聲音提示裝置的迴路導通,控制器驅動音響6發出提示聲音,同時提示燈2亮,提示駕駛員繫上安全帶,如果此時只是打開發動機或開啟空調系統而不行車,駕駛員沒繫上安全帶,控制器5得到車速感測器1的車速信號後,音響6在達到10公里/小時的車速時持續發出提示聲音同時提示燈亮,提醒駕駛員繫上安全帶,繫上安全帶後(安全帶插扣4插進安全帶鎖扣3)安全帶鎖扣3內的接觸開關處在關閉狀態,安全帶提醒系統電源被斷開,從而提示聲音停止,同時提示燈2滅;點火鑰匙關閉3秒鐘後,提示聲音再次響起,持續8秒,防止忘記拔出車鑰匙。

