止回閥
止回閥是用作保證介質單向流動,防止管內介質倒流的一種閥門,當介質倒流時,閥辦能自動關閉,截斷介質流量,避免發生事故。電廠中止回閥主要裝在水泵出口,進除氧器的水管和汽輪機抽汽管道上。
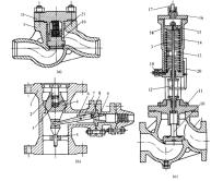
圖1 止回閥止回閥根據閥瓣動作的規律可分為升降式(垂直瓣和水平瓣)和旋啟式(單辦瓣和多瓣)。升降式垂直瓣止回閥應裝在垂直管道上;而水平瓣止回閥應裝在水平管道上;旋啟式止回閥宜安裝於水平管道上且應注意介質流動方向與閥體箭頭方向一致,不能裝反。底閥應裝在水泵的垂直吸人管端。圖1(1-閥體;2-定位軸;3-壓縮彈簧;4-閥蝶;:5-軸套;6-小軸;7-搖桿;8-滑塊;9-空排盤;10-閥瓣;11-閥蓋;12-閥桿;13-支承環;14-套筒;15-操縱活塞;16-壓蓋;17-工作水入水;18-操縱座殼體;19-泄水口;20-操縱標桿;21-襯套)所示為三種常見的止回閥。其中(a)給水泵出口水平裝的止回閥;(b)空排式止回閥;(c)球形液壓止回閥。
安全閥
安全閥用於鍋爐、壓力容器及管道上,當介質壓力超過規定值時,安全閥能自動開啟,排除過剩介質,壓力降至規定值後能自動關閉,防止事故發生,保證設備、管道、廠房和生產人員的安全。裝於管道上的安全閥,其規格和數量應根據排放介質的流量和參數,按“管道規定”中方法或製造廠資料進行選擇。在水管道上,應採用微啟式安全閥;在蒸汽管道上,可根據介質種類、排放量的大小採用全啟式或微啟式安全閥。布置安全閥時,必須使閥桿垂直向上。
圖2 先導式安全閥動作原理以先導式安全閥為例說明安全閥的作用原理。先導式安全閥由主閥和導閥組成。導閥隨設備介質壓力的變化而動作,主閥則由導閥的驅動或控制而動作。圖2是先導式安全閥的動作原理圖。當被保護系統處於正常運行狀況時,導閥閥瓣處於關閉狀態。系統壓力從主閥進口通過導管和導閥傳入主閥閥瓣(活塞)上方氣室 。由於活塞面積大於閥瓣密封面面積,系統壓力對閥瓣產生一個向下的合力,使主閥處於關閉、密封狀態。
當系統壓力升高達到整定壓力時,導閥開啟,同時滑閥向上移動封閉導閥的進氣通道。主閥閥瓣上方氣室的介質經由打開的導閥排出,使主閥閥瓣上方壓力降低。主閥閥瓣在進口壓力的推動下打開而使系統卸壓。當系統壓力降低到一定值時,導閥回座並帶動頂桿頂開滑閥。系統壓力再次通過導閥傳入主閥閥瓣上方氣室,並推動主閥閥瓣關閉。
快速關斷閥
快速關斷閥是用來瞬間關斷或接通管內介質的閥門。它有球形液壓止回閥、撲板式液壓止回閥、電磁式啟閉閥等。前兩種多套用在回熱抽汽管道上,後一種套用在控制水管路系統中。
適用於電力、石化、鋼鐵、管線等行業需要大操作力或進行快速開啟、關閉的場合,如:
1、熱電廠抽汽式汽輪機可調整抽汽快速關斷閥;
2、火電廠汽輪機抽汽逆止門;
3、鋼廠煤氣速斷閥;
4、管線水擊泄壓閥等。
